TOP
|
特許
|
意匠
|
商標
特許ウォッチ
Twitter
他の特許を見る
10個以上の画像は省略されています。
公開番号
2025178624
公報種別
公開特許公報(A)
公開日
2025-12-09
出願番号
2024085338
出願日
2024-05-27
発明の名称
送風設備、及び建物
出願人
大和ハウス工業株式会社
代理人
個人
,
個人
主分類
F24F
13/072 20060101AFI20251202BHJP(加熱;レンジ;換気)
要約
【課題】風の吹き出し口の位置を変更することが可能な送風設備、及び、その送風設備を備えた建物を提供する。
【解決手段】本発明の一実施形態に係る送風設備10は、風の流路を構成し、伸縮可能な内筒12と、内筒12が内部に収容され、流路を流れた風の吹き出し口22が周壁に設けられた外筒20と、内筒12を伸縮させるために操作される操作部40と、を備える。また、操作部40が操作されて内筒12が伸縮することで、吹き出し口22を通じて風が吹き出される位置が変更可能である。
【選択図】図7
特許請求の範囲
【請求項1】
送風設備であって、
風の流路を構成し、伸縮可能な内筒と、
前記内筒が内部に収容され、前記流路を流れた風の吹き出し口が周壁に設けられた外筒と、
前記内筒を伸縮させるために操作される操作部と、を備え、
前記操作部が操作されて前記内筒が伸縮することで、前記吹き出し口を通じて風が吹き出される位置が変更可能である、送風設備。
続きを表示(約 920 文字)
【請求項2】
前記流路内に風を流す送風機を備え、
前記送風機は、前記内筒の周壁に設けられた吸気口を通じて吸気し、吸気した空気を含む風を前記流路内に流す、請求項1に記載の送風設備。
【請求項3】
前記外筒の周壁には、複数の前記吹き出し口が、前記内筒の伸縮方向において互いに異なる位置に設けられており、
前記内筒は、前記流路内を流れた風の排出口を有し、
前記内筒の伸縮により、前記排出口の位置が前記伸縮方向において変化し、
複数の前記吹き出し口のうち、前記排出口に最も近い前記吹き出し口を通じて、前記流路を流れた風が吹き出される、請求項1に記載の送風設備。
【請求項4】
前記排出口が、前記伸縮方向における前記内筒の周壁の先端部に設けられており、
複数の前記吹き出し口のうち、前記排出口と対向する前記吹き出し口を通じて、前記流路を流れた風が吹き出される、請求項3に記載の送風設備。
【請求項5】
前記操作部は、前記外筒の外側に配置されており、
前記操作部と前記内筒の周壁とを連結しており、前記操作部の操作時に前記操作部に付与される力を前記内筒に伝達する伝達機構をさらに備える、請求項1に記載の送風設備。
【請求項6】
前記内筒の先端部は、円筒であり、前記外筒に対して、前記内筒の周方向において相対的に回動可能である、請求項4に記載の送風設備。
【請求項7】
請求項1乃至6のいずれか一項に記載の送風設備と、
前記送風設備により室内に風が供給される対象室と、を有し、
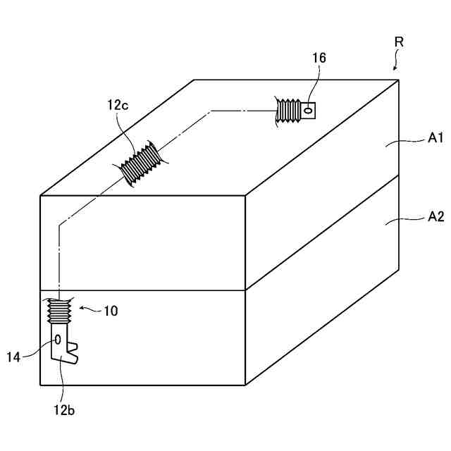
前記送風設備は、前記内筒が構成する前記流路内を流れる風を、前記対象室内に配置された前記外筒の前記吹き出し口から吹き出すことで、前記対象室内に風を供給する建物。
【請求項8】
前記対象室が上下方向において複数の空間に仕切られており、
前記送風設備は、前記複数の空間のうちの一つの空間内の空気を吸気し、吸気した空気を含む風を、前記複数の空間のうちの前記一つの空間以外の空間に供給する、請求項7に記載の建物。
発明の詳細な説明
【技術分野】
【0001】
本発明は、送風設備に係り、特に、送風設備に関する。また、本発明は、上記の送風設備が利用される建物にも関する。
続きを表示(約 1,500 文字)
【背景技術】
【0002】
風を供給する装置や設備は、既に利用されており、その一例としては、例えば、特許文献1に記載の送風装置が挙げられる。特許文献1に記載の送風装置は、空調された第1部屋の空気を、空調されていない第2部屋に供給(導入)して当該第2部屋を空調するものである。
【先行技術文献】
【特許文献】
【0003】
特開2004-245495号公報
【発明の概要】
【発明が解決しようとする課題】
【0004】
ところで、建物の部屋内に風を供給する場合、室内における所定箇所の温度を速やかに設定温度に調整したり、室内の温度を均一にしたりする等の理由から、風の供給口(吹き出し口)の位置が調整可能であることが求められる。
【0005】
そこで、本発明は、上記の課題に鑑みてなされたものであり、その目的とするところは、風の吹き出し口の位置を変更することが可能な送風設備を提供することである。
また、本発明の他の目的は、上記の送風設備を備えた建物を提供することである。
【課題を解決するための手段】
【0006】
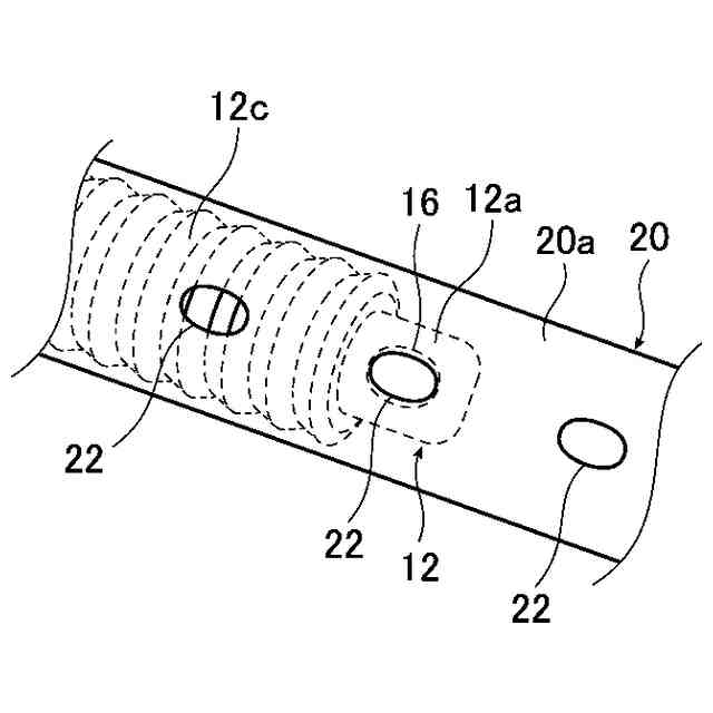
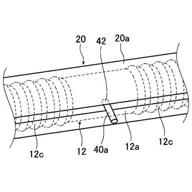
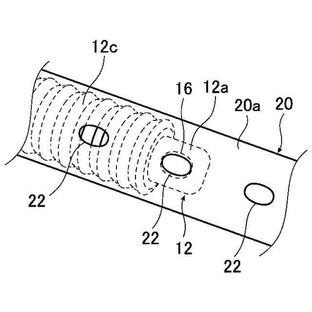
上記の課題は、本発明の送風設備によれば、送風設備であって、風の流路を構成し、伸縮可能な内筒と、内筒が内部に収容され、流路を流れた風の吹き出し口が周壁に設けられた外筒と、内筒を伸縮させるために操作される操作部と、を備え、操作部が操作されて内筒が伸縮することで、吹き出し口を通じて風が吹き出される位置が変更可能であることにより解決される。
上記のように構成された本発明の送風設備によれば、操作部を操作して内筒を伸縮させることで、外筒の吹き出し口を通じて風が吹き出される位置を、容易に変更することができる。
【0007】
また、本発明の送風設備は、流路内に風を流す送風機を備えてもよい。この場合、送風機は、内筒の周壁に設けられた吸気口を通じて吸気し、吸気した空気を含む風を流路内に流すとよい。
上記の構成によれば、送風機を用いて、風を効率よく供給することができる。
【0008】
また、本発明の送風設備において、外筒の周壁には、複数の吹き出し口が、内筒の伸縮方向において互いに異なる位置に設けられてもよい。この場合、内筒は、流路内を流れた風の排出口を有し、内筒の伸縮により、排出口の位置が伸縮方向において変化するとよい。また、複数の吹き出し口のうち、排出口に最も近い吹き出し口を通じて、流路を流れた風が吹き出されると、より好適である。
上記の構成によれば、外筒の吹き出し口を通じて風が吹き出される位置(つまり、実際に風が吹き出される吹き出し口の位置)を、より容易に変更することができる。
【0009】
また、本発明の送風設備において、排出口が、伸縮方向における内筒の周壁の先端部に設けられてもよい。この場合、複数の吹き出し口のうち、排出口と対向する吹き出し口を通じて、流路を流れた風が吹き出されるとよい。
上記の構成によれば、外筒の吹き出し口を通じて風が吹き出される位置を、より一層容易に変更することができる。
【0010】
また、本発明の送風設備において、操作部は、外筒の外側に配置されてもよい。この場合、本発明の送風設備は、操作部と内筒の周壁とを連結しており、操作部の操作時に操作部に付与される力を内筒に伝達する伝達機構をさらに備えてもよい。
上記の構成によれば、内筒を伸縮させるための操作、換言すると、風の吹き出し口の位置を変更するための操作を、より容易に行うことができる。
(【0011】以降は省略されています)
この特許をJ-PlatPat(特許庁公式サイト)で参照する
関連特許
個人
集熱器具
1か月前
株式会社トヨトミ
五徳
1か月前
個人
UFO型空気清浄機
22日前
株式会社コロナ
空調装置
2か月前
株式会社コロナ
空調装置
1か月前
株式会社コロナ
空調装置
1か月前
株式会社コロナ
加湿装置
2か月前
株式会社コロナ
空調装置
2か月前
個人
油ハネ防止カーテン
1か月前
株式会社コロナ
空調装置
3か月前
株式会社コロナ
風呂給湯機
3か月前
個人
太陽光パネル傾斜装置
1か月前
株式会社コロナ
暖房システム
2か月前
株式会社コロナ
温水暖房装置
1か月前
株式会社KDW
加熱調理器具
今日
個人
シンプルクーラー
1か月前
株式会社コロナ
貯湯式給湯機
2か月前
株式会社コロナ
貯湯式給湯機
2か月前
三菱電機株式会社
換気扇
14日前
ホーコス株式会社
換気扇取付枠
3か月前
三菱電機株式会社
換気扇
1か月前
三菱電機株式会社
換気扇
1か月前
三菱電機株式会社
換気扇
1か月前
株式会社パロマ
ガスコンロ
1か月前
株式会社ノーリツ
給湯装置
2か月前
株式会社コロナ
潜熱回収型給湯機
6日前
株式会社パロマ
ガスコンロ
1か月前
株式会社パロマ
ガスコンロ
1か月前
株式会社トヨトミ
固体燃料燃焼器
21日前
個人
籾殻(そば殻)燃焼ストーブ
3か月前
株式会社ノーリツ
温水装置
1か月前
株式会社ツインバード
加熱調理器
2か月前
株式会社ノーリツ
温水装置
1か月前
株式会社パロマ
湯沸器
2か月前
大阪瓦斯株式会社
ガスコンロ
1か月前
株式会社ノーリツ
貯湯給湯装置
1か月前
続きを見る
他の特許を見る