TOP
|
特許
|
意匠
|
商標
特許ウォッチ
Twitter
他の特許を見る
10個以上の画像は省略されています。
公開番号
2025178388
公報種別
公開特許公報(A)
公開日
2025-12-05
出願番号
2025162390,2022200199
出願日
2025-09-29,2022-12-15
発明の名称
処理装置、処理方法、及び処理プログラム
出願人
富士フイルムビジネスイノベーション株式会社
代理人
弁理士法人太陽国際特許事務所
主分類
G01H
3/00 20060101AFI20251128BHJP(測定;試験)
要約
【課題】所要時間が異なり、かつ動作音を伴う複数の処理を連続的に実行する際に、生産性を落とすことなく異常音の検知が可能な処理装置、処理方法、及び処理プログラムを提供することを目的とする。
【解決手段】印刷部12は、所用時間が異なり、かつ動作音を伴う複数の処理を連続的に実行し、音センサ16は、印刷に関連して発生する動作音を採取し、プロセッサ18は、印刷部12の動作音の採取結果を表すデータを取得し、取得したデータを動作条件に応じて周波数解析する場合のデータ数を導出し、導出したデータ数が次の処理対象を処理する処理時間内で異常音の検知処理が可能なデータ数になるように、周波数解析後のデータを縮小し、縮小したデータを用いて異常音を検知する処理を行う。
【選択図】図1
特許請求の範囲
【請求項1】
プロセッサを備え、前記プロセッサは、
所要時間が異なり、かつ動作音を伴う複数の処理を連続的に実行する際の動作音の採取結果を表すデータを取得し、
動作条件から前記データを周波数解析する場合のデータ数を導出し、
導出したデータ数の前記周波数解析後の解析結果データを、次の処理対象を処理する処理時間内で異常音の検知処理が可能なデータ数になるように縮小し、
縮小した前記解析結果データを用いて異常音を検知する処理を行う処理装置。
続きを表示(約 810 文字)
【請求項2】
前記プロセッサは、前記動作音として印刷に関連して発生する動作音の採取結果を表すデータを取得する請求項1に記載の処理装置。
【請求項3】
前記プロセッサは、前記周波数解析後の前記解析結果データを間引くことにより前記解析結果データを縮小する請求項1に記載の処理装置。
【請求項4】
前記プロセッサは、前記周波数解析後の複数の解析結果データを平均化することにより前記解析結果データを縮小する請求項1に記載の処理装置。
【請求項5】
前記プロセッサは、前記周波数解析後の2つの前記解析結果データを比較し、大きい値の方の前記データを採用することにより、前記解析結果データを縮小する請求項1に記載の処理装置。
【請求項6】
コンピュータが、
所要時間が異なり、かつ動作音を伴う複数の処理を連続的に実行する際の動作音の採取結果を表すデータを取得し、
動作条件から前記データを周波数解析した場合のデータ数を導出し、
導出したデータ数の前記周波数解析後の解析結果データを、次の処理対象を処理する処理時間内で異常音の検知処理が可能なデータ数になるように縮小し、
縮小した前記解析結果データを用いて異常音を検知する処理を行う処理方法。
【請求項7】
コンピュータに、
所要時間が異なり、かつ動作音を伴う複数の処理を連続的に実行する際の動作音の採取結果を表すデータを取得し、
動作条件から前記データを周波数解析した場合のデータ数を導出し、
導出したデータ数の前記周波数解析後の解析結果データを、次の処理対象を処理する処理時間内で異常音の検知処理が可能なデータ数になるように縮小し、
縮小した前記解析結果データを用いて異常音を検知する処理を実行させるための処理プログラム。
発明の詳細な説明
【技術分野】
【0001】
本開示は、処理装置、処理方法、及び処理プログラムに関する。
続きを表示(約 1,600 文字)
【背景技術】
【0002】
特許文献1には、装置内部の音を電気信号に変換する音変換部と、この音変換部が変換した電気信号を解析して周波数ごとの成分を求める音解析部と、この音解析部が求めた周波数ごとの成分を出力する出力部とを備えた画像処理装置が提案されている。
【0003】
特許文献2には、異常判断部が、画像形成装置が低速動作したときに集音マイクが集音した音データが周波数解析されたスペクトログラムと正常に低速動作したときの正常スペクトログラムとを比較し、異音が発生したと判断した場合、画像形成装置が低速動作したときの動作体のタイミングチャートと周波数解析部が出力したスペクトログラムを比較して異音の発生源である動作体を特定することが提案されている。
【0004】
特許文献3には、風車に用いられるブレードから発生する時系列の音データを周波数分析した画像データから風車の一回転分の時間間隔で連続的に画像データを切り出し、切り出した連続した画像データのうち基準となる画像データに対して、切り出した画像データの時間軸方向の幅が同じになるように拡縮して重ね合わせた画像データを生成し、生成した画像データを学習する異常判別装置が提案されている。
【先行技術文献】
【特許文献】
【0005】
特許第4929049号
特開2021-163387号公報
特開2020-172861号公報
【発明の概要】
【発明が解決しようとする課題】
【0006】
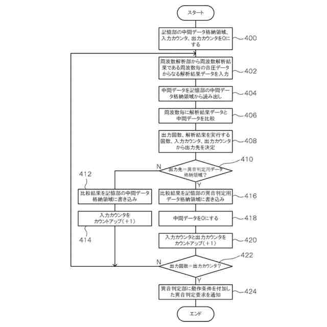
所要時間が異なり、かつ動作音を伴う複数の処理を連続的に実行する際の動作音を採取して異常音を検知する場合、処理対象の動作条件に応じて、1回の異常音の解析に要する解析時間が異なるため、生産性が低下する場合がある。例えば、画像形成装置で処理対象の1枚目の用紙に画像形成を行い、その後1枚目より小さいサイズの用紙に画像形成を行う場合、2枚目を搬送する際の動作音を採取する時間、すなわち、2枚目の搬送時間よりも、1枚目の搬送時の異常音の解析に要する解析時間が長い可能性がある。ここで、1枚目の解析時間が終わらないと、メモリを解放できず、2枚目の解析には移れない。2枚目の解析に移れないと、3枚目の画像形成等の処理には移れない。このように、搬送対象に対する処理に移れない時間が発生すると、処理ができない分だけ、生産性が低下してしまう。
【0007】
そこで、本開示は、所要時間が異なり、かつ動作音を伴う複数の処理を連続的に実行する際に、生産性を落とすことなく異常音の検知が可能な処理装置、処理方法、及び処理プログラムを提供することを目的とする。
【課題を解決するための手段】
【0008】
上記目的を達成するために、第1態様に係る処理装置は、プロセッサを備え、前記プロセッサは、所要時間が異なり、かつ動作音を伴う複数の処理を連続的に実行する際の動作音の採取結果を表すデータを取得し、動作条件から前記データを周波数解析する場合のデータ数を導出し、導出したデータ数の前記周波数解析後の解析結果データを、次の処理対象を処理する処理時間内で異常音の検知処理が可能なデータ数になるように縮小し、縮小した前記解析結果データを用いて異常音を検知する処理を行う。
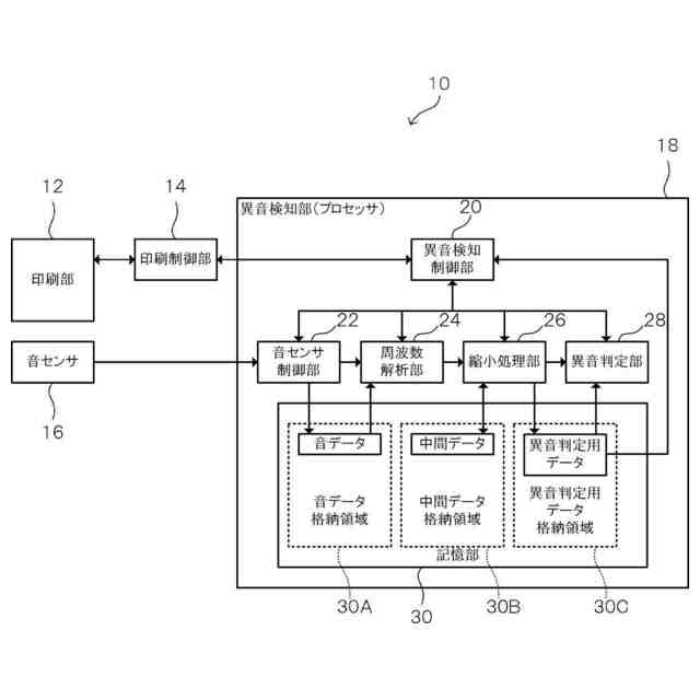
【0009】
第2態様に係る処理装置は、第1態様に係る処理装置において、前記プロセッサは、前記動作音として印刷に関連して発生する動作音の採取結果を表すデータを取得する。
【0010】
第3態様に係る処理装置は、第1態様に係る処理装置において、前記プロセッサは、前記周波数解析後の前記解析結果データを間引くことにより前記解析結果データを縮小する。
(【0011】以降は省略されています)
この特許をJ-PlatPat(特許庁公式サイト)で参照する
関連特許
個人
視触覚センサ
1日前
日本精機株式会社
検出装置
1か月前
個人
採尿及び採便具
1か月前
個人
計量機能付き容器
26日前
個人
高精度同時多点測定装置
1か月前
個人
アクセサリー型テスター
1か月前
日本精機株式会社
発光表示装置
9日前
甲神電機株式会社
電流検出装置
1か月前
株式会社ミツトヨ
測定器
1か月前
株式会社カクマル
境界杭
16日前
ユニパルス株式会社
トルク変換器
1日前
ユニパルス株式会社
トルク変換器
1日前
株式会社トプコン
測量装置
8日前
ユニパルス株式会社
トルク変換器
1日前
アズビル株式会社
電磁流量計
1か月前
大成建設株式会社
風洞実験装置
26日前
個人
計量具及び計量機能付き容器
26日前
ローム株式会社
半導体装置
1か月前
日本特殊陶業株式会社
ガスセンサ
24日前
愛知電機株式会社
軸部材の外観検査装置
1か月前
日本信号株式会社
距離画像センサ
29日前
日本特殊陶業株式会社
ガスセンサ
1日前
ローム株式会社
半導体装置
1か月前
大和製衡株式会社
組合せ計量装置
1か月前
大和製衡株式会社
組合せ計量装置
1か月前
個人
システム、装置及び実験方法
1か月前
個人
非接触による電磁パルスの測定方法
29日前
日本特殊陶業株式会社
ガスセンサ
2日前
愛知時計電機株式会社
ガスメータ
1か月前
日本特殊陶業株式会社
ガスセンサ
8日前
双庸電子株式会社
誤配線検査装置
1か月前
株式会社不二越
X線測定装置
29日前
本陣水越株式会社
車載式計測標的物
3日前
株式会社タイガーカワシマ
揚穀装置
8日前
個人
液位検視及び品質監視システム
24日前
日本特殊陶業株式会社
センサ
1か月前
続きを見る
他の特許を見る