TOP
|
特許
|
意匠
|
商標
特許ウォッチ
Twitter
他の特許を見る
公開番号
2025178362
公報種別
公開特許公報(A)
公開日
2025-12-05
出願番号
2025155719,2024022803
出願日
2025-09-19,2019-03-27
発明の名称
位相差層付き偏光板および有機EL表示装置
出願人
日東電工株式会社
代理人
個人
主分類
G02B
5/30 20060101AFI20251128BHJP(光学)
要約
【課題】耐熱性に優れる位相差層付き偏光板を提供する。
【解決手段】本発明の位相差層付き偏光板は、偏光板と、第1の位相差層と、第1の粘着剤層と、第2の位相差層と、第2の粘着剤層と、をこの順に有し、第1および第2の位相差層が液晶化合物を含み、第1の粘着剤層は、厚みが5μm~30μmであり、25℃における弾性率が10
5
Pa~10
6
Paであり、第2の粘着剤層は、ベースポリマー中にアルキル(メタ)アクリレートを70重量%以上含む粘着剤で構成され、25℃における弾性率が9.0×10
4
Pa以下である。
【選択図】図1
特許請求の範囲
【請求項1】
偏光板と、第1の位相差層と、第1の粘着剤層と、第2の位相差層と、第2の粘着剤層と、をこの順に有し、
前記第1の位相差層および前記第2の位相差層が液晶化合物を含み、
前記第1の粘着剤層は、厚みが5μm~30μmであり、25℃における弾性率が10
5
Pa~10
6
Paであり、
前記第2の粘着剤層は、ベースポリマー中にアルキル(メタ)アクリレートを70重量%以上含む粘着剤で構成され、25℃における弾性率が9.0×10
4
Pa以下である、位相差層付き偏光板。
発明の詳細な説明
【技術分野】
【0001】
本発明は、位相差層付き偏光板および有機EL表示装置に関する。
続きを表示(約 1,700 文字)
【背景技術】
【0002】
近年、薄型ディスプレイの普及と共に、有機ELパネルを搭載した画像表示装置(有機EL表示装置)が提案されている。有機ELパネルは反射性の高い金属層を有しており、外光反射や背景の映り込み等の問題を生じやすい。そこで、位相差層付き偏光板(円偏光板)を視認側に設けることにより、これらの問題を防ぐことが知られている。しかしながら、このような位相差層付き偏光板の位相差層として、液晶化合物を含む2層の位相差層を粘着剤で貼り合せた積層体を用い、この位相差層付き偏光板を、粘着剤を介して有機ELパネルに貼り合せた場合、耐熱性が低く、位相差層にクラックが発生したり、ムラが発生したりするなどの問題が生じる場合がある。
【先行技術文献】
【特許文献】
【0003】
特許第3325560号公報
【発明の概要】
【発明が解決しようとする課題】
【0004】
本発明は上記従来の課題を解決するためになされたものであり、その主たる目的は、耐熱性に優れる位相差層付き偏光板、および、そのような位相差層付き偏光板を用いた有機EL表示装置を提供することにある。
【課題を解決するための手段】
【0005】
本発明の位相差層付き偏光板は、偏光板と、第1の位相差層と、第1の粘着剤層と、第2の位相差層と、第2の粘着剤層と、をこの順に有し、上記第1の位相差層および上記第2の位相差層が液晶化合物を含み、上記第1の粘着剤層は、厚みが5μm~30μmであり、25℃における弾性率が10
5
Pa~10
6
Paであり、上記第2の粘着剤層は、ベースポリマー中にアルキル(メタ)アクリレートを70重量%以上含む粘着剤で構成され、25℃における弾性率が9.0×10
4
Pa以下である。
本発明の別の局面によれば、有機EL表示装置が提供される。この有機EL表示装置は、上記位相差層付き偏光板を有する。
【発明の効果】
【0006】
本発明によれば、第1の粘着剤層の厚みが5μm~30μmであり、25℃における弾性率が10
5
Pa~10
6
Paであり、第2の粘着剤層が、ベースポリマー中にアルキル(メタ)アクリレートを70重量%以上含み、25℃における弾性率が9.0×10
4
Pa以下であることにより、耐熱性に優れる位相差層付き偏光板を実現することができた。
【図面の簡単な説明】
【0007】
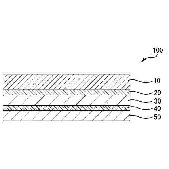
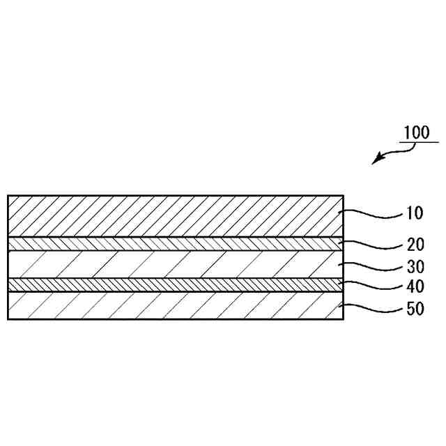
本発明の1つの実施形態に係る位相差層付き偏光板の概略断面図である。
【発明を実施するための形態】
【0008】
以下、本発明の実施形態について説明するが、本発明はこれらの実施形態には限定されない。
【0009】
A.位相差層付き偏光板
図1は、本発明の1つの実施形態に係る位相差層付き偏光板の概略断面図である。図1に示すように、位相差層付き偏光板100は、偏光板10と、第1の位相差層20と、第1の粘着剤層30と、第2の位相差層40と、第2の粘着剤層50とをこの順に有する。すなわち、第1の位相差層20と第2の位相差層40とは、第1の粘着剤層30を介して積層されている。第1の位相差層20および第2の位相差層40は、液晶化合物を含んで構成されている。第1の粘着剤層30は、厚みが5μm~30μmであり、25℃における弾性率が10
5
Pa~10
6
Paである。第2の粘着剤層50は、ベースポリマー中にアルキル(メタ)アクリレートを70重量%以上含む粘着剤で構成され、25℃における弾性率が9.0×10
4
Pa以下である。上記位相差層付き偏光板100は耐熱性に優れ、第1の位相差層20および/または第2の位相差層40のクラックの発生、さらには、ムラの発生が抑制され得る。
【0010】
以下、位相差層付き偏光板100を構成する各層について、詳細に説明する。
(【0011】以降は省略されています)
この特許をJ-PlatPat(特許庁公式サイト)で参照する
関連特許
日東電工株式会社
吸着材
2か月前
日東電工株式会社
積層体
1か月前
日東電工株式会社
照明装置
1か月前
日東電工株式会社
発光装置
2か月前
日東電工株式会社
シート体
1か月前
日東電工株式会社
ロボット
10日前
日東電工株式会社
電子装置
2か月前
日東電工株式会社
導光部材
1か月前
日東電工株式会社
光学積層体
1か月前
日東電工株式会社
粘着シート
17日前
日東電工株式会社
粘着シート
1か月前
日東電工株式会社
光学積層体
2か月前
日東電工株式会社
光ファイバ
2か月前
日東電工株式会社
粘着シート
1か月前
日東電工株式会社
光学積層体
2日前
日東電工株式会社
光学積層体
2日前
日東電工株式会社
光学積層体
3か月前
日東電工株式会社
光学積層体
2日前
日東電工株式会社
粘着シート
1か月前
日東電工株式会社
粘着シート
1か月前
日東電工株式会社
粘着剤組成物
2か月前
日東電工株式会社
調光フィルム
1か月前
日東電工株式会社
スイッチ装置
2か月前
日東電工株式会社
配線回路基板
1か月前
日東電工株式会社
複合ケーブル
3か月前
日東電工株式会社
温度測定装置
2か月前
日東電工株式会社
補強フィルム
9日前
日東電工株式会社
温度測定装置
2か月前
日東電工株式会社
粘着剤組成物
2か月前
日東電工株式会社
スイッチ装置
1か月前
日東電工株式会社
偏光フィルム
2か月前
日東電工株式会社
配線回路基板
1か月前
日東電工株式会社
表面保護シート
1か月前
日東電工株式会社
パッチアンテナ
10日前
日東電工株式会社
光学粘着シート
2か月前
日東電工株式会社
光学粘着シート
2か月前
続きを見る
他の特許を見る