TOP
|
特許
|
意匠
|
商標
特許ウォッチ
Twitter
他の特許を見る
10個以上の画像は省略されています。
公開番号
2025178287
公報種別
公開特許公報(A)
公開日
2025-12-05
出願番号
2025151392,2023195485
出願日
2025-09-11,2023-11-16
発明の名称
水処理装置
出願人
マクセルイズミ株式会社
代理人
主分類
F24F
6/00 20060101AFI20251128BHJP(加熱;レンジ;換気)
要約
【課題】水処理装置の周辺空間の湿度保持が可能な水処理装置を提供する。
【解決手段】水処理装置は、原水をろ過する浄水部と、前記浄水部によりろ過された浄水の浄水出口と、前記浄水出口とは異なる位置に設けられたミスト出口と、を備える。前記浄水部は、筐体内に設けられており、前記筐体に前記ミスト出口が設けられている。
【選択図】図1
特許請求の範囲
【請求項1】
原水をろ過する浄水部と、
前記浄水部によりろ過された浄水の浄水出口と、
前記浄水出口とは異なる位置に設けられたミスト出口と、
を備え、
前記浄水部は、筐体内に設けられており、
前記筐体の外面に前記ミスト出口が設けられている、
ことを特徴とする水処理装置。
続きを表示(約 430 文字)
【請求項2】
前記浄水部によりろ過された浄水をミスト化するミスト発生部が前記筐体内に設けられており、
前記ミスト発生部でミスト化されたミストを前記筐体の外面に設けられた前記ミスト出口から噴霧する、
ことを特徴とする請求項1に記載の水処理装置。
【請求項3】
前記筐体内に電解槽が設けられており、
前記電解槽は、少なくとも2本の電極を含み、
前記電解槽と前記浄水部を通過した機能性のある浄水を前記ミスト発生部にてミスト化して前記ミスト出口から噴霧する、
ことを特徴とする請求項2に記載の水処理装置。
【請求項4】
前記浄水出口は、前記筐体の上面より延設した取水管と当該取水管の先端に設けられる取水口を含み、
前記取水管の根元部分と前記ミスト出口とが前記筐体を正面から視て左右方向にずらして配設されている、
ことを特徴とする請求項1から3のいずれかひとつに記載の水処理装置。
発明の詳細な説明
【技術分野】
【0001】
本発明は、水処理装置に関する。
続きを表示(約 1,000 文字)
【背景技術】
【0002】
従来より水処理装置として、水道水(原水)をろ過材でろ過することで、水道水に含まれるトリハロメタンを除去する浄水器が知られている(例えば、特許文献1参照)。
【0003】
特許文献1に記載の浄水器は、ろ過材として活性炭を使用し、前活性炭層と、後活性炭層と、両者の間に配置した噴霧ノズルを有し、前活性炭層を通過した水が後活性炭層を通過する前に噴霧ノズルにより噴霧水とすることによりトリハロメタンを揮散させ、噴霧により減じられたトリハロメタンをさらに後活性炭層により吸着させるようにしている。
【先行技術文献】
【特許文献】
【0004】
特開平5-146777号公報
【発明の概要】
【発明が解決しようとする課題】
【0005】
水処理装置の周辺空間の湿度保持が可能な水処理装置を提供する。
【課題を解決するための手段】
【0006】
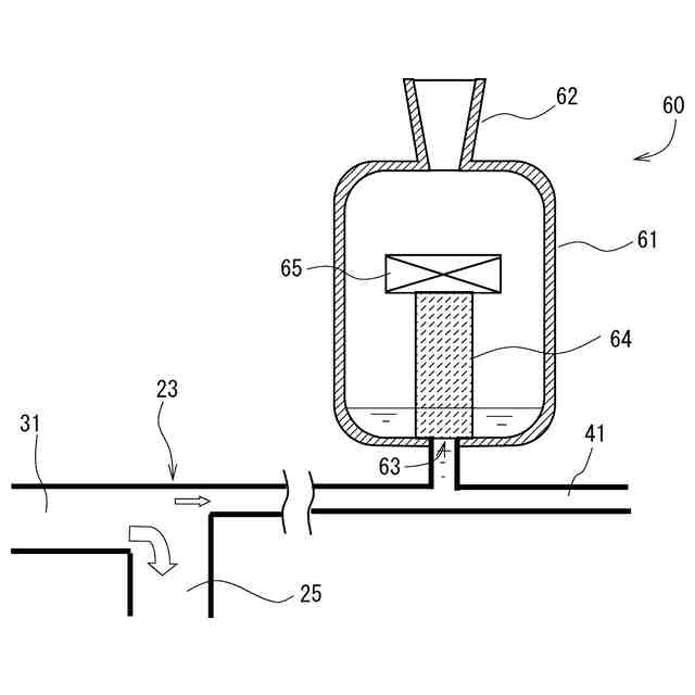
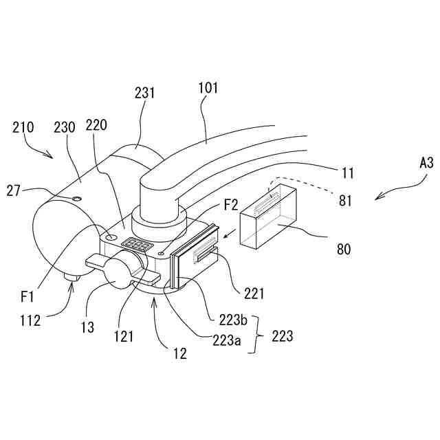
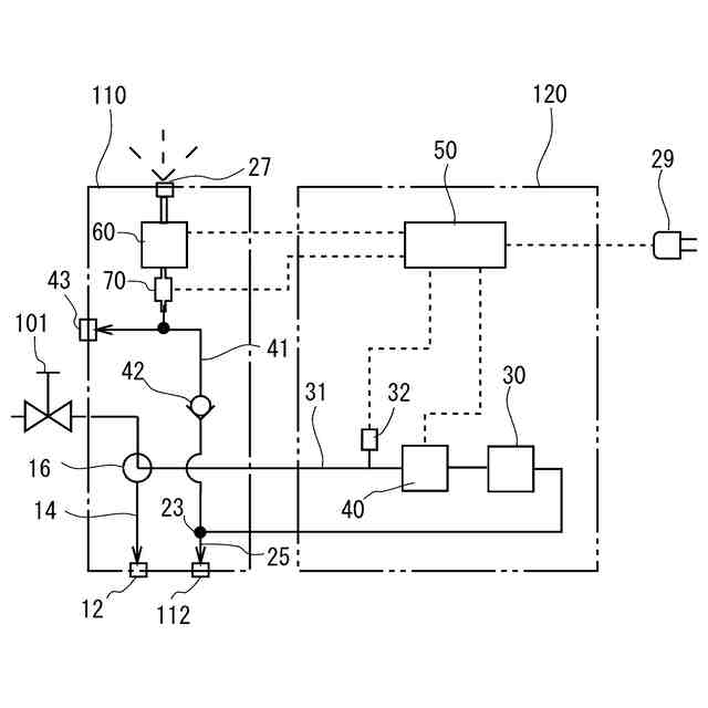
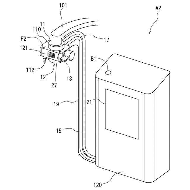
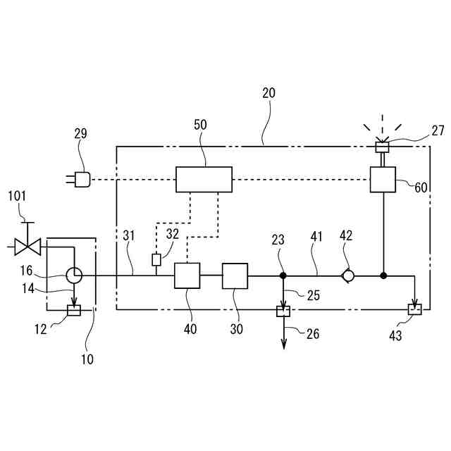
本発明に係る水処理装置は、原水をろ過する浄水部と、前記浄水部によりろ過された浄水の浄水出口と、前記浄水出口とは異なる位置に設けられたミスト出口と、を備える。前記浄水部は、筐体内に設けられており、前記筐体の外面に前記ミスト出口が設けられている。
【0007】
また、本発明に係る水処理装置では、前記浄水部によりろ過された浄水をミスト化するミスト発生部が前記筐体内に設けられており、前記ミスト発生部でミスト化されたミストを前記筐体の外面に設けられた前記ミスト出口から噴霧する、ことを特徴としている。
【0008】
また、本発明に係る水処理装置では、前記筐体内に電解槽が設けられており、前記電解槽は、少なくとも2本の電極を含む。前記電解槽と前記浄水部を通過した機能性のある浄水を前記ミスト発生部にてミスト化して前記ミスト出口から噴霧する、ことを特徴とする。
【0009】
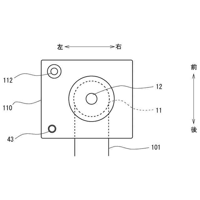
また、本発明に係る水処理装置では、前記浄水出口は、前記筐体の上面より延設した取水管と当該取水管の先端に設けられる取水口を含む。前記取水管の根元部分と前記ミスト出口とが前記筐体を正面から視て左右方向にずらして配設されている、ことを特徴とする。
【発明の効果】
【0010】
本発明によれば、水処理装置の周辺空間の湿度保持が可能となる。
【図面の簡単な説明】
(【0011】以降は省略されています)
この特許をJ-PlatPat(特許庁公式サイト)で参照する
関連特許
個人
集熱器具
1か月前
株式会社トヨトミ
五徳
1か月前
個人
油ハネ防止カーテン
1か月前
株式会社コロナ
空調装置
1か月前
株式会社コロナ
空調装置
2か月前
株式会社コロナ
空調装置
1か月前
株式会社コロナ
空調装置
2か月前
個人
UFO型空気清浄機
20日前
株式会社コロナ
空調装置
3か月前
株式会社コロナ
加湿装置
2か月前
個人
太陽光パネル傾斜装置
1か月前
株式会社コロナ
風呂給湯機
2か月前
株式会社コロナ
空気調和機
3か月前
個人
シンプルクーラー
1か月前
株式会社コロナ
暖房システム
2か月前
株式会社コロナ
貯湯式給湯機
2か月前
株式会社コロナ
温水暖房装置
1か月前
株式会社コロナ
貯湯式給湯機
2か月前
三菱電機株式会社
換気扇
1か月前
三菱電機株式会社
換気扇
12日前
三菱電機株式会社
換気扇
1か月前
ホーコス株式会社
換気扇取付枠
3か月前
三菱電機株式会社
換気扇
1か月前
株式会社パロマ
ガスコンロ
1か月前
株式会社パロマ
ガスコンロ
1か月前
株式会社トヨトミ
固体燃料燃焼器
19日前
株式会社ツインバード
加熱調理器
2か月前
株式会社ノーリツ
温水装置
1か月前
株式会社ノーリツ
給湯装置
2か月前
株式会社ノーリツ
温水装置
1か月前
株式会社パロマ
ガスコンロ
1か月前
株式会社コロナ
潜熱回収型給湯機
4日前
個人
籾殻(そば殻)燃焼ストーブ
3か月前
株式会社パロマ
湯沸器
2か月前
大阪瓦斯株式会社
加熱調理器
3か月前
株式会社コロナ
壁掛式石油給湯装置
3か月前
続きを見る
他の特許を見る