TOP
|
特許
|
意匠
|
商標
特許ウォッチ
Twitter
他の特許を見る
公開番号
2025177763
公報種別
公開特許公報(A)
公開日
2025-12-05
出願番号
2024084843
出願日
2024-05-24
発明の名称
空気調和機の室内機
出願人
日本キヤリア株式会社
代理人
弁理士法人サトー
主分類
F24F
13/20 20060101AFI20251128BHJP(加熱;レンジ;換気)
要約
【課題】ドレンパンのうちドレンポンプの下方に位置する部分に設けられている貯水部に紫外線を照射する紫外線照射部を備える空気調和機の室内機に関し、その紫外線照射部をドレンポンプとともにコンパクトに配置できるようにした技術案を提供する。
【解決手段】空気調和機の室内機は、室内の空気を吸い込む空気吸込口と、空気吸込口から吸い込まれた空気を熱交換する熱交換器と、熱交換器により熱交換された空気を室内に吹き出す空気吹出口と、熱交換器の下方に設けられ、熱交換器から発生する水を受け止めるドレンパンと、ドレンパンに溜まった水を排出するドレンポンプと、ドレンパンのうちドレンポンプの下方に位置する部分に設けられている貯水部に紫外線を照射する紫外線照射部と、紫外線照射部を固定する紫外線照射部固定部材と、を備え、紫外線照射部固定部材は、ドレンポンプが固定される固定部にドレンポンプとともに固定されている。
【選択図】図6
特許請求の範囲
【請求項1】
室内の空気を吸い込む空気吸込口と、
前記空気吸込口から吸い込まれた空気を熱交換する熱交換器と、
前記熱交換器により熱交換された空気を室内に吹き出す空気吹出口と、
前記熱交換器の下方に設けられ、前記熱交換器から発生する水を受け止めるドレンパンと、
前記ドレンパンに溜まった水を排出するドレンポンプと、
前記ドレンパンのうち前記ドレンポンプの下方に位置する部分に設けられている貯水部に紫外線を照射する紫外線照射部と、
前記紫外線照射部を固定する紫外線照射部固定部材と、
を備え、
前記紫外線照射部固定部材は、前記ドレンポンプが固定される固定部に前記ドレンポンプとともに固定されている空気調和機の室内機。
続きを表示(約 300 文字)
【請求項2】
前記ドレンパン内の水位を検知する水位検知部をさらに備え、
前記紫外線照射部固定部材は、前記水位検知部も固定可能である請求項1に記載の空気調和機の室内機。
【請求項3】
前記紫外線照射部による紫外線の照射中に、前記ドレンポンプを動作状態及び停止状態に切り替える請求項1に記載の空気調和機の室内機。
【請求項4】
前記ドレンパン内の水位を検知する水位検知部をさらに備え、
前記紫外線照射部は、前記水位検知部による検知範囲の上限よりも高い位置であって、且つ、前記ドレンパンの上端よりも低い位置に設けられている請求項1に記載の空気調和機の室内機。
発明の詳細な説明
【技術分野】
【0001】
本発明の実施形態は、室内の天井に埋め込まれる天井埋込型の空気調和機の室内機に関する。
続きを表示(約 2,700 文字)
【背景技術】
【0002】
空気調和機の室内機として、例えば店舗などといった広い空間を空調する場合には、壁面に取り付けられる室内機、いわゆる壁掛け型の室内機ではなく、複数の方向に空調風を吹き出すことができ、かつ、居住者が受ける圧迫感の少ない室内機、いわゆる天井埋込型の室内機が多用される傾向にある。例えば特許文献1に開示されているように、この種の天井埋込型の室内機は、空気を熱交換する熱交換器と、この熱交換器から発生する水を受け止めるドレンパンと、このドレンパンに溜まった水を排出するドレンポンプと、を備えている。
【先行技術文献】
【特許文献】
【0003】
特開2021-196141号公報
【発明の概要】
【発明が解決しようとする課題】
【0004】
ところで、ドレンパンに溜まった水において、例えば細菌、酵母、カビなどといった微生物が繁殖して粘液状の物質、いわゆるドレンスライムなどと称される物質が発生すると、その物質によってドレンポンプが詰まってしまうことが懸念される。特に、ドレンパンのうちドレンポンプの下方に位置する部分には当該ドレンポンプによる水の吸い込みを円滑にするために窪み状の貯水部を設けているが、冷房シーズンにおいては、この貯水部に水が溜まった状態が維持されやすく、従って、ドレンスライムが発生しやすく、ひいては、ドレンポンプが詰まりやすいという問題がある。そのため、このような貯水部に紫外線を照射して微生物の繁殖を抑制することにより、当該貯水部におけるドレンスライムの発生を防止することが考えられている。
【0005】
本実施形態は、ドレンパンのうちドレンポンプの下方に位置する部分に設けられている貯水部に紫外線を照射する紫外線照射部を備える空気調和機の室内機に関し、その紫外線照射部をドレンポンプとともにコンパクトに配置できるようにした技術案を提供する。
【課題を解決するための手段】
【0006】
本実施形態に係る空気調和機の室内機は、室内の空気を吸い込む空気吸込口と、前記空気吸込口から吸い込まれた空気を熱交換する熱交換器と、前記熱交換器により熱交換された空気を室内に吹き出す空気吹出口と、前記熱交換器の下方に設けられ、前記熱交換器から発生する水を受け止めるドレンパンと、前記ドレンパンに溜まった水を排出するドレンポンプと、前記ドレンパンのうち前記ドレンポンプの下方に位置する部分に設けられている貯水部に紫外線を照射する紫外線照射部と、前記紫外線照射部を固定する紫外線照射部固定部材と、を備え、前記紫外線照射部固定部材は、前記ドレンポンプが固定される固定部に前記ドレンポンプとともに固定されている。
【図面の簡単な説明】
【0007】
本実施形態に係る空気調和機の室内機の構成例を概略的に示す斜視図
本実施形態に係る空気調和機の室内機の構成例を概略的に示す縦断側面図
本実施形態に係るドレンパンの構成例を概略的に示す平面図
本実施形態に係る空気調和機の室内機の内部の構成例を概略的に示す底面図
本実施形態に係るドレンポンプおよび周辺部分の構成例を概略的に示す斜視図(その1)
本実施形態に係るドレンポンプおよび周辺部分の構成例を概略的に示す斜視図(その2)
本実施形態に係る紫外線照射部固定部材の構成例を概略的に示す斜視図(その1)
本実施形態に係る紫外線照射部固定部材の構成例を概略的に示す斜視図(その2)
本実施形態に係る紫外線照射装置の配置態様の一例を概略的に示す図
本実施形態に係る空気調和機の室内機の制御系の構成例を概略的に示すブロック図
本実施形態に係る空気調和機の室内機による撹拌制御の一例を概略的に示す図
本実施形態に係るドレンポンプ固定部材の配置態様の一例を概略的に示す断熱部材の底面図
本実施形態に係るドレンポンプ固定部材を固定部に取り付ける前の状態を例示する斜視図
本実施形態に係る固定部に内側部材を取り付けた後であって外側部材を取り付ける前の状態を例示する斜視図
本実施形態に係るドレンポンプ固定部材を固定部に取り付けた後の状態を例示する縦断側面図
本実施形態の変形例に係るドレンポンプ固定部材を固定部に取り付ける前の状態を例示する斜視図
本実施形態の変形例に係るドレンポンプ固定部材の構成例を概略的に示す斜視図
【発明を実施するための形態】
【0008】
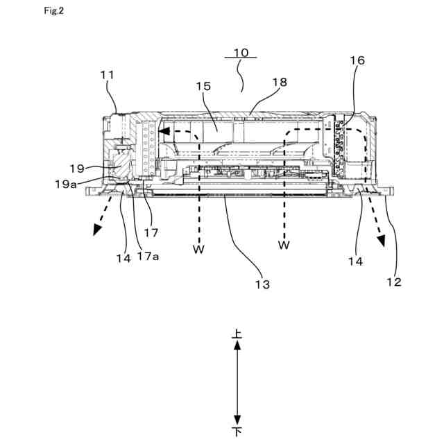
以下、空気調和機の室内機に係る一実施形態について図面を参照しながら説明する。図1に例示する空気調和機の室内機10は、被空調空間である室内の天井に埋め込まれる室内機、いわゆる天井埋込型の室内機である。室内機10は、筐体11及び化粧パネル12を備えている。筐体11は、天井に設けられている図示しない矩形状の開口部に室内側から挿入される。そして、筐体11は、図示しない吊りボルト等により天井裏に吊られた状態で固定される。化粧パネル12は、筐体11の下方において室内側に露出した状態で取り付けられる。
【0009】
化粧パネル12は、概ね矩形の板状に形成されている。化粧パネル12には、室内の空気を吸い込む空気吸込口13及び室内に空気を吹き出す空気吹出口14が設けられている。空気吸込口13は、化粧パネル12の中央部において概ね正方形状に形成されている。空気吸込口13は、通気可能に格子状に開口した、いわゆる吸込グリルとして構成されている。空気吹出口14は、空気吸込口13の各辺に沿う長尺な開口を形成している。空気吹出口14には、当該空気吹出口14から吹き出される風の向きを調整するルーバ14aが回動可能に設けられている。
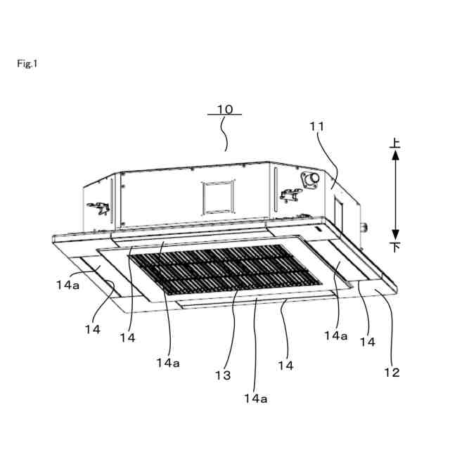
【0010】
図2に例示するように、筐体11は、室内機10のうち上面及び側面の外郭を形成している。筐体11は、側面壁部、上面壁部、下面開口部を有する箱型の形状となっている。筐体11の側面壁部は、当該筐体11の側面を閉塞するように壁状に設けられている。筐体11の上面壁部は、当該筐体11の上面を閉塞するように壁状に設けられている。筐体11の下面開口部は、当該筐体11の下面を開放するように概ね矩形状に開口している。化粧パネル12は、筐体11の下面開口部を下方から覆っている。筐体11内には、送風機15及び熱交換器16等が収容されている。
(【0011】以降は省略されています)
この特許をJ-PlatPat(特許庁公式サイト)で参照する
関連特許
個人
集熱器具
1か月前
株式会社トヨトミ
五徳
1か月前
株式会社コロナ
加湿装置
2か月前
個人
UFO型空気清浄機
22日前
個人
油ハネ防止カーテン
1か月前
株式会社コロナ
空調装置
3か月前
株式会社コロナ
空調装置
1か月前
株式会社コロナ
空調装置
1か月前
株式会社コロナ
空調装置
2か月前
株式会社コロナ
空調装置
2か月前
株式会社コロナ
空気調和機
3か月前
株式会社コロナ
風呂給湯機
3か月前
個人
住宅換気空調システム
3か月前
個人
太陽光パネル傾斜装置
1か月前
個人
シンプルクーラー
1か月前
株式会社コロナ
暖房システム
2か月前
株式会社コロナ
温水暖房装置
1か月前
株式会社コロナ
貯湯式給湯機
2か月前
株式会社コロナ
貯湯式給湯機
2か月前
株式会社コロナ
直圧式給湯機
3か月前
株式会社KDW
加熱調理器具
今日
株式会社コロナ
輻射式冷房装置
3か月前
三菱電機株式会社
換気扇
14日前
三菱電機株式会社
換気扇
1か月前
三菱電機株式会社
換気扇
1か月前
三菱電機株式会社
換気扇
1か月前
ホーコス株式会社
換気扇取付枠
3か月前
株式会社ツインバード
加熱調理器
2か月前
株式会社コロナ
潜熱回収型給湯機
6日前
株式会社ノーリツ
給湯装置
2か月前
株式会社パロマ
ガスコンロ
1か月前
株式会社パロマ
ガスコンロ
1か月前
株式会社トヨトミ
固体燃料燃焼器
21日前
株式会社パロマ
ガスコンロ
1か月前
株式会社ノーリツ
温水装置
1か月前
株式会社ノーリツ
温水装置
1か月前
続きを見る
他の特許を見る