TOP
|
特許
|
意匠
|
商標
特許ウォッチ
Twitter
他の特許を見る
10個以上の画像は省略されています。
公開番号
2025177314
公報種別
公開特許公報(A)
公開日
2025-12-05
出願番号
2024084018
出願日
2024-05-23
発明の名称
バイポーラプレートおよびその製造方法
出願人
住友理工株式会社
代理人
個人
,
個人
,
個人
主分類
H01M
8/0247 20160101AFI20251128BHJP(基本的電気素子)
要約
【課題】第一セパレーターと第二セパレーターとの接合作業を容易にすることを課題とする。
【解決手段】
バイポーラプレート1は、第一セパレーター2Aと、第一セパレーター2Aに積層される第二セパレーター2Bと、第一セパレーター2Aの任意の面および第二セパレーター2Bの任意の面のうち、互いに対向しない面同士を連結する、エラストマー製の連結部30~32と、を備えることを特徴とする。
【選択図】図12
特許請求の範囲
【請求項1】
第一セパレーターと、
前記第一セパレーターに積層される第二セパレーターと、
前記第一セパレーターの任意の面および前記第二セパレーターの任意の面のうち、互いに対向しない面同士を連結する、エラストマー製の連結部と、
を備える燃料電池用のバイポーラプレート。
続きを表示(約 1,600 文字)
【請求項2】
前記第一セパレーターと前記第二セパレーターとが積層される方向を積層方向として、
前記第一セパレーターは、前記積層方向に自身を貫通する第一貫通孔を有し、
前記第二セパレーターは、前記積層方向に自身を貫通する第二貫通孔を有し、
前記積層方向から見て、前記第一貫通孔と前記第二貫通孔とは全体的にまたは部分的に互いに重複し、
前記連結部は、前記第一貫通孔と前記第二貫通孔とを跨いで配置され、
前記第一セパレーターと前記第二セパレーターとは、前記連結部を介して一体化される請求項1に記載のバイポーラプレート。
【請求項3】
前記第一貫通孔は、前記積層方向から見て、前記第二貫通孔と重複する第一重複部と、前記第二貫通孔と重複しない第一非重複部と、を有し、
前記第二貫通孔は、前記積層方向から見て、前記第一貫通孔と重複する第二重複部と、前記第一貫通孔と重複しない第二非重複部と、を有し、
前記第一非重複部と前記第二非重複部とは、互いに異なる方向に延在する請求項2に記載のバイポーラプレート。
【請求項4】
前記第一貫通孔は、複数の前記第一重複部を有し、
前記第二貫通孔は、複数配置され、
複数の前記第一重複部は、各々異なる前記第二貫通孔に連通し、
前記連結部は、前記第一貫通孔と、複数の前記第二貫通孔と、を経由して配置される請求項3に記載のバイポーラプレート。
【請求項5】
前記第二貫通孔は、複数の前記第二重複部を有し、
前記第一貫通孔は、複数配置され、
複数の前記第二重複部は、各々異なる前記第一貫通孔に連通し、
前記連結部は、前記第二貫通孔と、複数の前記第一貫通孔と、を経由して配置される請求項3に記載のバイポーラプレート。
【請求項6】
前記連結部は、前記第一貫通孔および前記第二貫通孔のうち、少なくとも一方に充填される請求項2に記載のバイポーラプレート。
【請求項7】
前記第一セパレーターは、前記第二セパレーターに前記積層方向に対向する第一対向面と、前記第二セパレーターに前記積層方向に対向しない第一非対向面と、を有し、
前記第二セパレーターは、前記第一セパレーターに前記積層方向に対向する第二対向面と、前記第一セパレーターに前記積層方向に対向しない第二非対向面と、を有し、
前記第一貫通孔の内周面は、前記第一非対向面に含まれ、
前記第一貫通孔に収容された前記連結部は、前記第一貫通孔の前記内周面と、前記第二対向面と、を連結する請求項2に記載のバイポーラプレート。
【請求項8】
前記第一セパレーターは、前記第二セパレーターに前記積層方向に対向する第一対向面と、前記第二セパレーターに前記積層方向に対向しない第一非対向面と、を有し、
前記第二セパレーターは、前記第一セパレーターに前記積層方向に対向する第二対向面と、前記第一セパレーターに前記積層方向に対向しない第二非対向面と、を有し、
前記第二貫通孔の内周面は、前記第二非対向面に含まれ、
前記第二貫通孔に収容された前記連結部は、前記第二貫通孔の前記内周面と、前記第一対向面と、を連結する請求項2に記載のバイポーラプレート。
【請求項9】
前記第一貫通孔と前記第二貫通孔とは、前記積層方向に隙間なく連なる請求項2に記載のバイポーラプレート。
【請求項10】
前記第一セパレーターと前記第二セパレーターとが積層される方向を積層方向として、
前記第一セパレーターと前記第二セパレーターとの間には、冷却剤が流動する冷却流路が区画され、
前記積層方向から見て、前記連結部は、前記冷却流路を包囲する無端環状を呈する請求項1に記載のバイポーラプレート。
(【請求項11】以降は省略されています)
発明の詳細な説明
【技術分野】
【0001】
本開示は、燃料電池用のバイポーラプレートおよびその製造方法に関する。
続きを表示(約 1,700 文字)
【背景技術】
【0002】
特許文献1に記載の燃料電池の一対のセパレーターは、溶接により、接合、積層されている。特許文献2に記載の燃料電池の一対のセパレーターは、接着剤により、接合、積層されている。
【先行技術文献】
【特許文献】
【0003】
国際公開第2018/034085号パンフレット
特開2007-35442号公報
【発明の概要】
【発明が解決しようとする課題】
【0004】
溶接や接着により一対のセパレーターを接合する場合、一対のセパレーターを積層方向から互いに押し付ける必要がある。押し付ける際、一対のセパレーターの押し付け精度(一対のセパレーターの接触面積や押し付け荷重など)を、緻密に管理する必要がある。よって、接合作業は煩雑である。そこで、本開示のバイポーラプレートおよびその製造方法は、一対のセパレーターの接合作業を容易にすることを目的とする。
【課題を解決するための手段】
【0005】
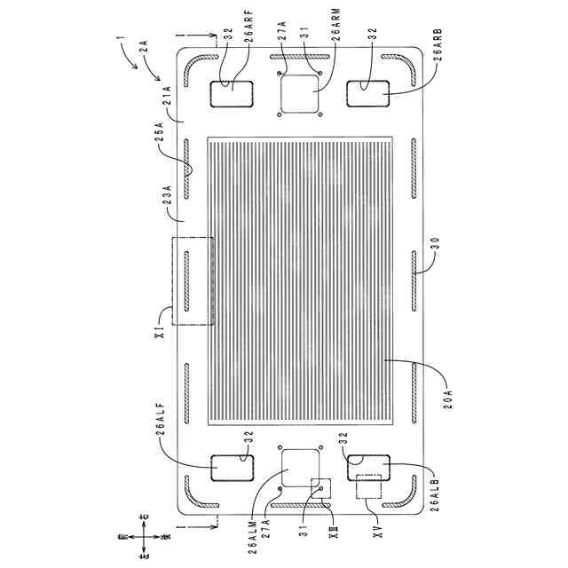
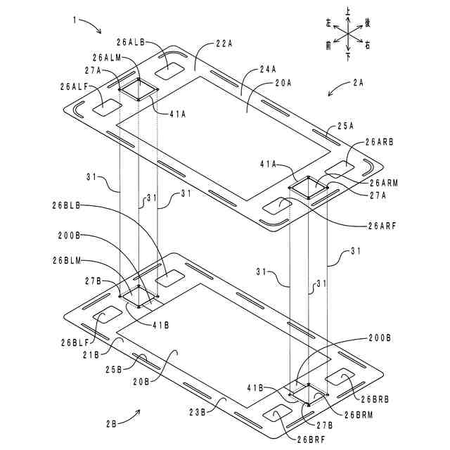
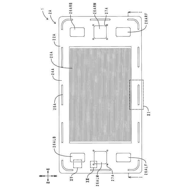
(1)上記課題を解決するため、本開示のバイポーラプレートは、第一セパレーターと、前記第一セパレーターに積層される第二セパレーターと、前記第一セパレーターの任意の面および前記第二セパレーターの任意の面のうち、互いに対向しない面同士を連結する、エラストマー製の連結部と、を備えることを特徴とする。
【0006】
本構成によると、連結部が、第一セパレーターの任意の面および第二セパレーターの任意の面のうち、互いに対向しない面同士を連結している。このため、第一セパレーターと第二セパレーターとの押し付け精度の管理負担を軽減することができる。したがって、第一セパレーターと第二セパレーターとの接合作業が容易になる。
【0007】
エラストマー製の連結部は、弾性を有している。このため、接合時に第一セパレーターや第二セパレーターにスプリングバックが発生する場合であっても、連結部の弾性変形により、当該スプリングバックの少なくとも一部を吸収することができる。
【0008】
(1-1)上記(1)の構成において、前記第一セパレーターと前記第二セパレーターとが積層される方向を積層方向として、前記第一セパレーターは、前記第二セパレーターに前記積層方向に対向する第一対向面と、前記第二セパレーターに前記積層方向に対向しない第一非対向面と、を有し、前記第二セパレーターは、前記第一セパレーターに前記積層方向に対向する第二対向面と、前記第一セパレーターに前記積層方向に対向しない第二非対向面と、を有し、前記連結部は、以下の(A)~(C)の組合せのうち、少なくとも一つの組合せの面同士を連結する構成とする方がよい。(A)前記第一非対向面と前記第二非対向面。(B)前記第一対向面と前記第二非対向面。(C)前記第一非対向面と前記第二対向面。
【0009】
本構成によると、連結部が、上記(A)~(C)の組合せのうち、少なくとも一つの組合せの面同士、つまり「第一対向面と第二対向面」以外の組合せの面同士を連結している。このため、第一セパレーターと第二セパレーターとの押し付け精度の管理負担を軽減することができる。したがって、第一セパレーターと第二セパレーターとの接合作業が容易になる。
【0010】
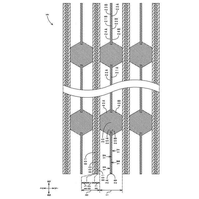
(2)上記いずれかの構成において、前記第一セパレーターと前記第二セパレーターとが積層される方向を積層方向として、前記第一セパレーターは、前記積層方向に自身を貫通する第一貫通孔を有し、前記第二セパレーターは、前記積層方向に自身を貫通する第二貫通孔を有し、前記積層方向から見て、前記第一貫通孔と前記第二貫通孔とは全体的にまたは部分的に互いに重複し、前記連結部は、前記第一貫通孔と前記第二貫通孔とを跨いで配置され、前記第一セパレーターと前記第二セパレーターとは、前記連結部を介して一体化される構成とする方がよい。本構成によると、第一貫通孔の孔内空間および第二貫通孔の孔内空間を利用して、第一セパレーターと第二セパレーターとを一体化することができる。
(【0011】以降は省略されています)
この特許をJ-PlatPat(特許庁公式サイト)で参照する
関連特許
住友理工株式会社
カバー
1か月前
住友理工株式会社
圧力センサ
1か月前
住友理工株式会社
仕切り部材
1か月前
住友理工株式会社
シール部材
2か月前
住友理工株式会社
筒型防振装置
2か月前
住友理工株式会社
防振ゴム部材
1か月前
住友理工株式会社
防振ゴム部材
1か月前
住友理工株式会社
冷却用熱交換器
11日前
住友理工株式会社
冷却用熱交換器
2か月前
住友理工株式会社
冷却用熱交換器
1か月前
住友理工株式会社
筒型モータマウント
2か月前
住友理工株式会社
カップ付シートラバー
10日前
住友理工株式会社
電子写真機器用帯電ロール
2か月前
住友理工株式会社
電子写真機器用帯電ロール
2か月前
住友理工株式会社
ラテックス組成物の評価方法
1か月前
住友理工株式会社
電池モジュール用緩衝シート
1か月前
住友理工株式会社
ゴム組成物の物性の予測方法
1か月前
住友理工株式会社
電動コンプレッサの支持構造
1か月前
住友理工株式会社
バイポーラプレートおよびその製造方法
3日前
住友理工株式会社
シート用振動低減装置および乗員状態推定システム
1か月前
住友理工株式会社
建造物用ゴム製品の補修工法および建造物用ゴム製品
2か月前
住友理工株式会社
押出成形用ゴム組成物、ホース、およびホースの製造方法
1か月前
住友理工株式会社
発泡ウレタン樹脂組成物、ポリウレタンフォームおよびその製造方法
10日前
東ソー株式会社
絶縁電線
1か月前
APB株式会社
蓄電セル
1か月前
日機装株式会社
加圧装置
3日前
ローム株式会社
半導体装置
1か月前
日新イオン機器株式会社
イオン源
3日前
マクセル株式会社
電源装置
1か月前
株式会社東芝
端子台
1か月前
三菱電機株式会社
回路遮断器
26日前
富士電機株式会社
電磁接触器
18日前
株式会社GSユアサ
蓄電装置
1か月前
株式会社GSユアサ
蓄電装置
18日前
株式会社GSユアサ
蓄電装置
1か月前
株式会社GSユアサ
蓄電装置
1か月前
続きを見る
他の特許を見る