TOP
|
特許
|
意匠
|
商標
特許ウォッチ
Twitter
他の特許を見る
公開番号
2025176825
公報種別
公開特許公報(A)
公開日
2025-12-05
出願番号
2024083173
出願日
2024-05-22
発明の名称
ペット用吸収性物品
出願人
大王製紙株式会社
代理人
個人
主分類
A01K
23/00 20060101AFI20251128BHJP(農業;林業;畜産;狩猟;捕獲;漁業)
要約
【課題】尻尾を外に出すことができる構成において、千差万別な犬の尻尾に対応できるだけでなく、大便を内部に留めておくことと外に出すこととも選択可能とする。
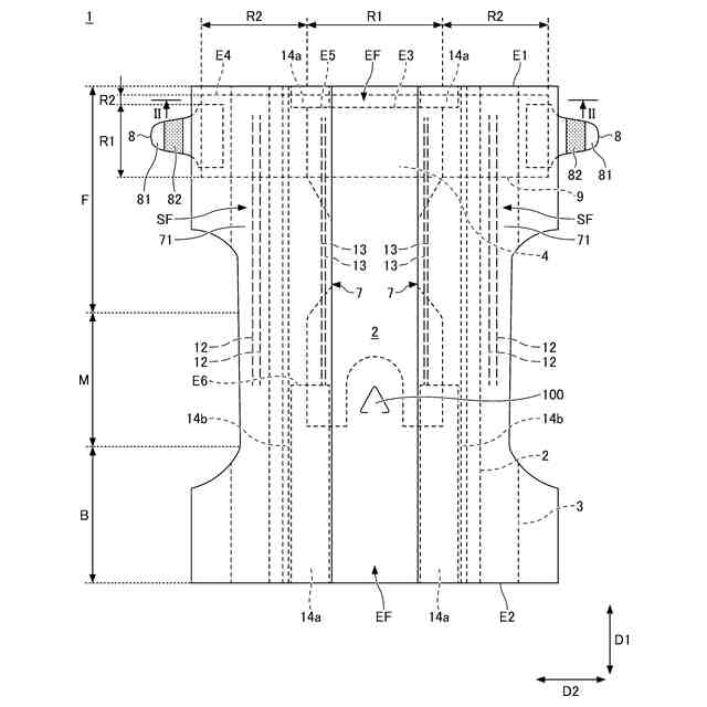
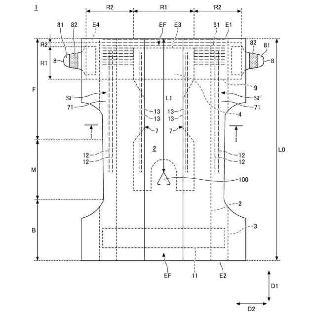
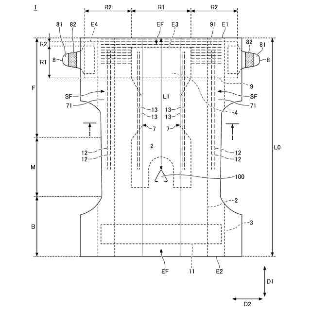
【解決手段】ペットの腹部を覆う腹側領域と、ペットの尻尾を含む臀部を覆う臀部被覆領域と、ペットの背中を覆う背側領域とが第1の方向に連続したペット用吸収性物品であって、前記臀部被覆領域は、第1の孔を形成するための第1の孔形成部と、前記第1の孔に前記背側領域側にて連続する第2の孔を形成するための第2の孔形成部とを有し、前記第1の孔形成部は、前記腹側領域側に向かって凸状となったスリットによって前記第1の孔を形成し、前記第2の孔形成部は、前記スリットの両端部のそれぞれから、前記背側領域側に向かって延びた2本のミシン目によって前記第2の孔を形成する。
【選択図】図1
特許請求の範囲
【請求項1】
ペットの腹部を覆う腹側領域と、ペットの尻尾を含む臀部を覆う臀部被覆領域と、ペットの背中を覆う背側領域とが第1の方向に連続したペット用吸収性物品であって、
前記臀部被覆領域は、
第1の孔を形成するための第1の孔形成部と、
前記第1の孔に前記背側領域側にて連続する第2の孔を形成するための第2の孔形成部と、を有し、
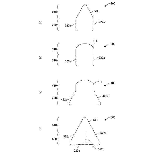
前記第1の孔形成部は、前記腹側領域側に向かって凸状となったスリットによって前記第1の孔を形成し、
前記第2の孔形成部は、前記スリットの両端部のそれぞれから、前記背側領域側に向かって延びた2本のミシン目によって前記第2の孔を形成し、
前記第1の孔形成部の前記腹側領域側の端部が、前記ペット用吸収性物品の前記第1の方向における長さに対して、前記ペット用吸収性物品の前記腹側領域側の端部から50%~75%の位置に配置され、
さらに、前記ペット用吸収性物品は、
少なくとも前記腹側領域及び前記臀部被覆領域にて前記第1の方向に直交する第2の方向における中間部分に配置された吸収体と、
前記吸収体の前記第2の方向における両側に前記第1の方向に延び、前記第1の方向に伸縮する伸縮部材と、を有し、
前記伸縮部材は、前記第1の孔形成部よりも前記腹側領域側に配置されており、前記第1の孔形成部の前記腹側領域側の端部から前記背側領域側には配置されていない、ペット用吸収性物品。
続きを表示(約 280 文字)
【請求項2】
前記2本のミシン目は、前記スリットから離れるに従って互いの間隔が広がるように形成されている、請求項1に記載のペット用吸収性物品。
【請求項3】
前記スリットは、V字状である、請求項1に記載のペット用吸収性物品。
【請求項4】
前記2本のミシン目は、それぞれ前記スリットとは反対側の端部が丸みを帯びて湾曲している、請求項1に記載のペット用吸収性物品。
【請求項5】
前記吸収体は、前記第2の方向において前記第1及び第2の孔形成部を挟むように配置されている、請求項1に記載のペット用吸収性物品。
発明の詳細な説明
【技術分野】
【0001】
本発明は、ペット用吸収性物品に関する。
続きを表示(約 1,900 文字)
【背景技術】
【0002】
近年、犬や猫等といったペット用の使い捨ておむつが知られている。また、ペット用の使い捨ておむつとして、大便が通過可能な尻尾孔が形成されたものも知られている(例えば、特許文献1参照)。
【先行技術文献】
【特許文献】
【0003】
特許第7341180号公報
【発明の概要】
【発明が解決しようとする課題】
【0004】
犬や猫等のペットの飼い主の中には、おむつを着用したペットが大便をした場合に、大便をおむつ内に留めておきたい飼い主もいるし、大便をおむつから外に出したい飼い主もいる。
【0005】
しかしながら、尻尾孔から大便を通過させることができないおむつでは、大便をおむつから外に出すことはできず、一方、尻尾孔から大便を通過させることができるおむつでは、大便をおむつ内に留めておくことはできない。
【0006】
本発明は、尻尾を外に出すことができる構成において、千差万別な犬の尻尾に対応できるだけでなく、大便を内部に留めておくことと外に出すこととも選択できるペット用吸収性物品を提供することを目的とする。
【課題を解決するための手段】
【0007】
上記目的を達成するために本発明は、
ペットの腹部を覆う腹側領域と、ペットの尻尾を含む臀部を覆う臀部被覆領域と、ペットの背中を覆う背側領域とが第1の方向に連続したペット用吸収性物品であって、
前記臀部被覆領域は、
第1の孔を形成するための第1の孔形成部と、
前記第1の孔に前記背側領域側にて連続する第2の孔を形成するための第2の孔形成部と、を有し、
前記第1の孔形成部は、前記腹側領域側に向かって凸状となったスリットによって前記第1の孔を形成し、
前記第2の孔形成部は、前記スリットの両端部のそれぞれから、前記背側領域側に向かって延びた2本のミシン目によって前記第2の孔を形成し、
前記第1の孔形成部の前記腹側領域側の端部が、前記ペット用吸収性物品の前記第1の方向における長さに対して、前記ペット用吸収性物品の前記腹側領域側の端部から50%~75%の位置に配置され、
さらに、前記ペット用吸収性物品は、
少なくとも前記腹側領域及び前記臀部被覆領域にて前記第1の方向に直交する第2の方向における中間部分に配置された吸収体と、
前記吸収体の前記第2の方向における両側に前記第1の方向に延び、前記第1の方向に伸縮する伸縮部材と、を有し、
前記伸縮部材は、前記第1の孔形成部よりも前記腹側領域側に配置されており、前記第1の孔形成部の前記腹側領域側の端部から前記背側領域側には配置されていない。
【0008】
上記のように構成された本発明においては、大便を外に出さずに尻尾のみを外に出す場合は、第1の孔形成部のスリットによって形成されたフラップ部を捲り上げることで第1の孔を形成する一方、第2の孔形成部のミシン目を破断しないことで第2の孔形成部を形成しない。これにより、第1の孔を介して尻尾を外に出すことができながらも、大便をおむつ内に留めることができる。一方、大便を外に出す場合は、第1の孔形成部のスリットによって形成されたフラップ部を捲り上げることで第1の孔を形成し、さらに、第2の孔形成部のミシン目を破断することで第2の孔を形成する。そして、尻尾が第2の孔を介して外に出るように位置を調整することで、第2の孔を介して尻尾を外に出すことができながらも、第1の孔を介して大便を外に出すことができる。
【0009】
このように、大便を外に出さない場合は第2の孔を形成せず、大便を外に出す場合は第2の孔を形成することで、尻尾を外に出すことができながらも、大便を内部に留めておくことと外に出すこととを選択できる。また、ミシン目を破断する幅を調整することで、千差万別な犬の尻尾に対応することができる。
【0010】
また、第1の孔形成部の腹側領域側の端部が、ペット用吸収性物品の第1の方向における長さに対して、ペット用吸収性物品の腹側領域側の端部から50%~75%の位置に配置されていることで、第1の孔形成部と第2の孔形成部とを用いて、尻尾を外に出すことができながらも、大便を内部に留めておくことと外に出すこととを選択しやすくなる。
(【0011】以降は省略されています)
この特許をJ-PlatPat(特許庁公式サイト)で参照する
関連特許
大王製紙株式会社
マスク
1か月前
大王製紙株式会社
衛生用紙
1か月前
大王製紙株式会社
吸収性物品
2か月前
大王製紙株式会社
吸収性物品
1か月前
大王製紙株式会社
吸収性物品
2か月前
大王製紙株式会社
吸収性物品
2か月前
大王製紙株式会社
吸収性物品
2か月前
大王製紙株式会社
使い捨ておむつ
2か月前
大王製紙株式会社
段ボール用ライナ
2か月前
大王製紙株式会社
トイレットロール
1か月前
大王製紙株式会社
トイレットロール
1か月前
大王製紙株式会社
トイレットロール
1か月前
大王製紙株式会社
トイレットロール
1か月前
大王製紙株式会社
トイレットロール
1か月前
大王製紙株式会社
セルロース複合樹脂
2か月前
大王製紙株式会社
ペット用吸収性物品
3日前
大王製紙株式会社
衛生用薄葉紙収納容器
2か月前
大王製紙株式会社
トイレットペーパー包装体
2か月前
大王製紙株式会社
パンツタイプ使い捨ておむつ
2か月前
大王製紙株式会社
パンツタイプ使い捨て着用物品
2か月前
大王製紙株式会社
パンツタイプ使い捨て着用物品
2か月前
大王製紙株式会社
パンツタイプ使い捨て着用物品
1か月前
大王製紙株式会社
パンツタイプ使い捨て着用物品
18日前
株式会社太陽機械製作所
抵抗体
2か月前
大王製紙株式会社
吸収性物品、及び吸収性物品の製造方法
1か月前
大王製紙株式会社
トイレットロール、トイレットロール包装体及び香料組成物
1か月前
大王製紙株式会社
物品注文システム、管理サーバ、物品注文方法、及び物品注文プログラム
2か月前
大王製紙株式会社
使い捨て着用物品の伸縮構造、及びこれを備えたパンツタイプ使い捨て着用物品
18日前
大王製紙株式会社
包装袋、衛生用紙包装体、包装袋の製造方法、集合包装袋、および集合包装袋の製造方法
1か月前
個人
産卵床
10日前
個人
釣り用錘
28日前
個人
平板植栽
11日前
個人
果実袋
10日前
個人
噴霧器ノズル
26日前
個人
移動体草刈り機
10日前
個人
養殖器具
10日前
続きを見る
他の特許を見る