TOP
|
特許
|
意匠
|
商標
特許ウォッチ
Twitter
他の特許を見る
10個以上の画像は省略されています。
公開番号
2025149182
公報種別
公開特許公報(A)
公開日
2025-10-08
出願番号
2024049668
出願日
2024-03-26
発明の名称
パンツタイプ使い捨て着用物品
出願人
大王製紙株式会社
代理人
弁理士法人永井国際特許事務所
主分類
A61F
13/51 20060101AFI20251001BHJP(医学または獣医学;衛生学)
要約
【課題】触覚で前後識別を可能としつつ、その部分が着用時に目立ちにくくする。
【解決手段】上記課題は、前身頃Fから後身頃Bにわたる一体的な外装体20と、外装体20に固定された、内装体10と、内装体10に内蔵された吸収体13と、前身頃Fにおける外装体20の両側部と後身頃Bにおける外装体20の両側部とがそれぞれ接合されたサイドシール部21と、ウエスト開口及び左右一対の脚開口とを備え、外装体20は、前身頃Fを構成する前領域20Fと、後身頃Bを構成する後領域20Bとを有し、前領域20F及び後領域20Bは、内側シート層22と、外側シート層23と、これらを接合する外装接着剤B3とを有する対応部分をそれぞれ有し、前領域20F及び後領域20Bのいずれか一方の対応部分は、外装接着剤B3により他方の対応部分と触感が異なる触覚部30を有することにより解決される。
【選択図】図10
特許請求の範囲
【請求項1】
前身頃から後身頃にわたる一体的な外装体、又は前身頃及び後身頃に別々に設けられた外装体と、
前記外装体に固定された、内装体と、
前記内装体に内蔵された吸収体と、
前記前身頃における前記外装体の両側部と前記後身頃における前記外装体の両側部とがそれぞれ接合されたサイドシール部と、
ウエスト開口及び左右一対の脚開口とを備え、
前記外装体は、前記前身頃を構成する前領域と、前記後身頃を構成する後領域とを有し、
前記前領域及び前記後領域は、内側シート層と、外側シート層と、これらを接合する外装接着剤とを有する対応部分をそれぞれ有し、
前記前領域及び前記後領域のいずれか一方の対応部分は、前記外装接着剤により他方の対応部分と触感が異なる触覚部を有する、
ことを特徴とする、パンツタイプ使い捨て着用物品。
続きを表示(約 1,400 文字)
【請求項2】
前記触覚部は、前記吸収体と重なる領域であって、かつ幅方向の最大伸長率が0~110%の領域内にのみ設けられている、
請求項1記載のパンツタイプ使い捨て着用物品。
【請求項3】
前記触覚部における前記外装接着剤の目付けが、前記他方の対応部分における前記外装接着剤の目付けの3~10倍である、
請求項1又は2記載のパンツタイプ使い捨て着用物品。
【請求項4】
前記触覚部における前記外装接着剤の硬化後のショア硬度が、前記他方の対応部分における前記外装接着剤の硬化後のショア硬度の2~5倍である、
請求項1又は2記載のパンツタイプ使い捨て着用物品。
【請求項5】
前記触覚部における前記外装接着剤が粉粒体を含み、前記他方の対応部分における前記外装接着剤が粉粒体を含まず、
前記外装体の外面から前記粉粒体が触覚可能である、
請求項1又は2記載のパンツタイプ使い捨て着用物品。
【請求項6】
前記粉粒体が消臭剤粒子である、
請求項5記載のパンツタイプ使い捨て着用物品。
【請求項7】
前記触覚部における前記内側シート層、外側シート層又はそれらの間に、発泡接着剤を有し、前記他方の対応部分には発泡接着剤を有しない、
請求項1又は2記載のパンツタイプ使い捨て着用物品。
【請求項8】
前記触覚部における前記内側シート層、外側シート層又はそれらの間に、微小繊維状セルロース集合体を有し、前記他方の対応部分には微小繊維状セルロース集合体を有しない、
請求項1又は2記載のパンツタイプ使い捨て着用物品。
【請求項9】
前身頃から後身頃にわたる一体的な外装体、又は前身頃及び後身頃に別々に設けられた外装体と、
前記外装体に固定された、内装体と、
前記内装体に内蔵された吸収体と、
前身頃における外装体の両側部と後身頃における外装体の両側部とがそれぞれ接合されたサイドシール部と、
ウエスト開口及び左右一対の脚開口とを備え、
前記外装体は、前記前身頃を構成する前領域と、前記後身頃を構成する後領域とを有し、
前記前領域及び前記後領域のいずれか一方の領域は、接触温感機能又は接触冷感機能を持つ機能性不織布からなる触覚部を有し、他方の領域は、接触温感機能又は接触冷感機能を持つ機能性不織布を有しないか、又は接触温感機能及び接触冷感機能のうち前記一方の領域と反対の機能を持つ機能性不織布を有する、
ことを特徴とする、パンツタイプ使い捨て着用物品。
【請求項10】
前身頃から後身頃にわたる一体的な外装体、又は前身頃及び後身頃に別々に設けられた外装体と、
前記外装体に固定された、内装体と、
前記内装体に内蔵された吸収体と、
前身頃における外装体の両側部と後身頃における外装体の両側部とがそれぞれ接合されたサイドシール部と、
ウエスト開口及び左右一対の脚開口とを備え、
前記前身頃及び前記後身頃は、前記吸収体を有する対応部分をそれぞれ有し、
前記前身頃及び前記後身頃のいずれか一方の対応部分は、エンボス加工により前記吸収体に形成された凹部又は凸部からなる触覚部を有し、他方の対応部分は前記吸収体に凹凸を有しない、
ことを特徴とする、パンツタイプ使い捨て着用物品。
発明の詳細な説明
【技術分野】
【0001】
本発明は、触覚で前後の識別が可能なパンツタイプ使い捨て着用物品に関する。
続きを表示(約 2,000 文字)
【背景技術】
【0002】
パンツタイプ使い捨ておむつ、パンツタイプ生理用ナプキン等のパンツタイプ使い捨て着用物品は、一見して前後の識別が可能なように、デザインや文字が印刷されたものが知られている(例えば、特許文献1,2,4参照)。また、夜の暗がりの中では外見に基づく識別は困難なことも多いため、触覚に基づいて前後の識別が可能なパンツタイプ使い捨て着用物品も提案されている(例えば、特許文献3参照)。
【0003】
しかしながら、特許文献3記載のものは、パンツタイプ使い捨て着用物品の外面に「触覚により認識される不透液性の後表示テープ」が存在するため、この後表示テープが外側に着用する衣服の表面に凹凸となって現れて、パンツタイプ使い捨て着用物品を着用していることが目立つおそれがある。
【先行技術文献】
【特許文献】
【0004】
特開2023-068063号公報
特開2019-025065号公報
特開2010-082132号公報
特開2005-074157号公報
【発明の概要】
【発明が解決しようとする課題】
【0005】
そこで本発明の主たる課題は、触覚で前後識別が可能な部分を有するものでありながら、その部分が着用時に目立ちにくいパンツタイプ使い捨て着用物品を提供することにある。
【課題を解決するための手段】
【0006】
上記課題を解決した本発明は次のとおりである。
<第1の態様>
前身頃から後身頃にわたる一体的な外装体、又は前身頃及び後身頃に別々に設けられた外装体と、
前記外装体に固定された、内装体と、
前記内装体に内蔵された吸収体と、
前記前身頃における前記外装体の両側部と前記後身頃における前記外装体の両側部とがそれぞれ接合されたサイドシール部と、
ウエスト開口及び左右一対の脚開口とを備え、
前記外装体は、前記前身頃を構成する前領域と、前記後身頃を構成する後領域とを有し、
前記前領域及び前記後領域は、内側シート層と、外側シート層と、これらを接合する外装接着剤とを有する対応部分をそれぞれ有し、
前記前領域及び前記後領域のいずれか一方の対応部分は、前記外装接着剤により他方の対応部分と触感が異なる触覚部を有する、
ことを特徴とする、パンツタイプ使い捨て着用物品。
【0007】
(作用効果)
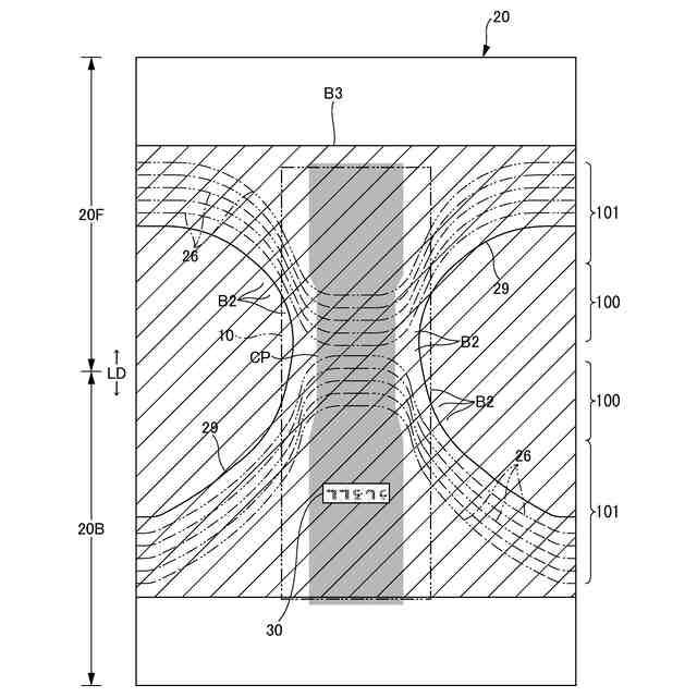
一般的なパンツタイプ使い捨て着用物品の前身頃及び後身頃は、そのほぼ全体にわたり向かい合って対をなしている。同様に、外装体の前領域及び後領域は、内側シート層と、外側シート層と、これらの間に介在された外装接着剤とを有する点で構造的に類似する対応部分をそれぞれ有している。したがって、前後の識別が困難となる場合がある。そこで、本パンツタイプ使い捨て着用物品では、前領域及び後領域のいずれか一方の対応部分が、外装接着剤により他方の対応部分と触感が異なる触覚部を有するものである。使用者は触覚部に手で触れて感じる触感の違いにより本物品の前後を識別することができる。そして、この触覚部は、外装体の内部に本来的に備わる外装接着剤により触感を異ならしめるものであるため、特許文献3記載のものと異なり、触覚部が外側に着用する衣服の表面に凹凸となって現れにくく、パンツタイプ使い捨て着用物品を着用していることが目立つおそれも少ない。
なお、用語「対応部分」とは、前身頃及び後身頃がそれぞれ平らでかつ自然長の製品状態で、前身頃及び後身頃のうち向かい合って対をなす部分を意味する。
【0008】
<第2の態様>
前記触覚部は、前記吸収体と重なる領域であって、かつ幅方向の最大伸長率が0~110%の領域内にのみ設けられている、
第1の態様のパンツタイプ使い捨て着用物品。
【0009】
(作用効果)
多くのパンツタイプ使い捨て着用物品は、身体へのフィット性を向上させるために、外装体に伸縮構造を設けることが一般的となっている。例えば、外装体におけるサイドシール部と対応する前後方向範囲として定まる胴領域や、前胴領域と後胴領域との間に位置する中間領域に、幅方向の最大伸長率が150%以上の伸縮領域を設けることは広く行われている。
しかしながら、このような伸縮領域に触覚部を設けた場合、触覚部の触感の違いを感じにくくなるおそれがある。よって、本態様のように、触覚部は非伸縮又は低伸縮の領域にのみ設けることが好ましい。
【0010】
<第3の態様>
前記触覚部における前記外装接着剤の目付けが、前記他方の対応部分における前記外装接着剤の目付けの3~10倍である、
第1又は2の態様のパンツタイプ使い捨て着用物品。
(【0011】以降は省略されています)
この特許をJ-PlatPat(特許庁公式サイト)で参照する
関連特許
大王製紙株式会社
マスク
23日前
大王製紙株式会社
衛生用紙
23日前
大王製紙株式会社
吸収性物品
9日前
大王製紙株式会社
吸収性物品
1か月前
大王製紙株式会社
吸収性物品
1か月前
大王製紙株式会社
吸収性物品
25日前
大王製紙株式会社
吸収性物品
24日前
大王製紙株式会社
吸収性物品
24日前
大王製紙株式会社
シート収納箱
2か月前
大王製紙株式会社
使い捨ておむつ
24日前
大王製紙株式会社
トイレットロール
23日前
大王製紙株式会社
トイレットロール
23日前
大王製紙株式会社
段ボール用ライナ
1か月前
大王製紙株式会社
トイレットロール
23日前
大王製紙株式会社
トイレットロール
23日前
大王製紙株式会社
トイレットロール
23日前
大王製紙株式会社
セルロース複合樹脂
24日前
大王製紙株式会社
衛生用薄葉紙収納容器
24日前
大王製紙株式会社
トイレットペーパー包装体
1か月前
大王製紙株式会社
パンツタイプ使い捨ておむつ
25日前
大王製紙株式会社
パンツタイプ使い捨て着用物品
25日前
大王製紙株式会社
パンツタイプ使い捨て着用物品
23日前
大王製紙株式会社
パンツタイプ使い捨て着用物品
25日前
株式会社太陽機械製作所
抵抗体
24日前
大王製紙株式会社
吸収性物品、及び吸収性物品の製造方法
23日前
大王製紙株式会社
包装体
1か月前
大王製紙株式会社
トイレットロール、トイレットロール包装体及び香料組成物
23日前
大王製紙株式会社
物品注文システム、管理サーバ、物品注文方法、及び物品注文プログラム
24日前
大王製紙株式会社
包装袋、衛生用紙包装体、包装袋の製造方法、集合包装袋、および集合包装袋の製造方法
23日前
個人
貼付剤
6日前
個人
健康器具
8か月前
個人
短下肢装具
3か月前
個人
鼾防止用具
8か月前
個人
白内障治療法
7か月前
個人
脈波測定方法
8か月前
個人
前腕誘導装置
3か月前
続きを見る
他の特許を見る