TOP
|
特許
|
意匠
|
商標
特許ウォッチ
Twitter
他の特許を見る
10個以上の画像は省略されています。
公開番号
2025150522
公報種別
公開特許公報(A)
公開日
2025-10-09
出願番号
2024051431
出願日
2024-03-27
発明の名称
抵抗体
出願人
株式会社太陽機械製作所
,
大王製紙株式会社
代理人
弁理士法人永井国際特許事務所
主分類
G01N
27/12 20060101AFI20251002BHJP(測定;試験)
要約
【課題】湿度に対する抵抗値の応答性が向上した抵抗体を提供する。
【解決手段】課題は、絶縁性の基材シートに一対の電極が、間隔を空けて対向して配された抵抗体であって、少なくとも前記一対の電極の間隔に、湿度に応じて電気抵抗が変化する感湿材が設けられており、前記感湿材は、平均繊維幅が1~20nmで、セルロース繊維のヒドロキシ基の一部がアニオン性基で置換された変性セルロース微細繊維を含むものであることを特徴とする抵抗体によって解決される。
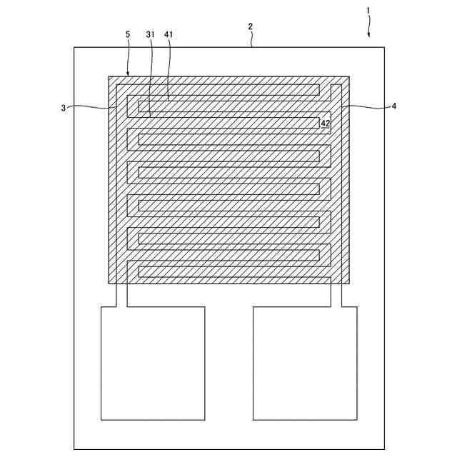
【選択図】図1
特許請求の範囲
【請求項1】
絶縁性の基材シートに一対の電極が、間隔を空けて対向して配された抵抗体であって、
少なくとも前記一対の電極の間隔に、湿度に応じて電気抵抗が変化する感湿材が設けられており、
前記感湿材は、平均繊維幅が1~20nmで、セルロース繊維のヒドロキシ基の一部がアニオン性基で置換された変性セルロース微細繊維を含むものである、
ことを特徴とする抵抗体。
続きを表示(約 880 文字)
【請求項2】
前記アニオン性基に金属イオンが結合している、
請求項1に記載の抵抗体。
【請求項3】
前記アニオン性基がオキソ酸基である、
請求項1に記載の抵抗体。
【請求項4】
前記アニオン性基全体に占める、金属イオンが結合しているアニオン性基の百分率が5~100%である、
請求項1に記載の抵抗体。
【請求項5】
前記アニオン性基が、下記構造式(1)に示すリンオキソ酸基である、
請求項1に記載の抵抗体。
[構造式(1)]
TIFF
2025150522000009.tif
33
88
ここで、構造式(1)において、a,b,m,nは自然数である。
A
1
,A
2
,・・・,A
p
およびA’のうちの少なくとも1つはO
-
であり、残りはR、OR、NHR、及びなしのいずれかである。Rは、水素原子、飽和-直鎖状炭化水素基、飽和-分岐鎖状炭化水素基、飽和-環状炭化水素基、不飽和-直鎖状炭化水素基、不飽和-分岐鎖状炭化水素基、芳香族基、及びこれらの誘導基のいずれかである。αは有機物又は無機物からなる陽イオンである。
【請求項6】
前記アニオン性基が、亜リン酸基である、
請求項1に記載の抵抗体。
【請求項7】
前記アニオン性基が、多価カルボン酸基である、
請求項1に記載の抵抗体。
【請求項8】
前記アニオン性基が、クエン酸基である、
請求項1に記載の抵抗体。
【請求項9】
前記セルロース微細繊維が前記一対の電極に0.23~95g/m
2
設けられている、
請求項1に記載の抵抗体。
【請求項10】
前記感湿材は前記一対の電極を覆って設けられている、
請求項1に記載の抵抗体。
(【請求項11】以降は省略されています)
発明の詳細な説明
【技術分野】
【0001】
本発明は、抵抗体に関するものである。
続きを表示(約 1,400 文字)
【背景技術】
【0002】
近年、基材フィルムに電極を設けて抵抗体とする技術が注目されている。当該抵抗体は、例えば、導電性を有する速乾性のインキを、ローラー等を用いて基材フィルムに印刷して製造することができる。基材フィルムにプラスチック等を用いれば、薄く柔軟性を備えた抵抗体とすることもでき、製造が簡便であることや小サイズに設計できることからも汎用性の高い製品としての利用が期待されている。
【0003】
当該抵抗体に関する技術として、セルロースナノファイバー(「セルロース微細繊維」ともいう。)が含有されたものが特許文献1に開示されている。当該文献の抵抗体においてセルロース微細繊維は、水分を吸収して膨潤するセルロース微細繊維の性質を利用し、膨潤することによって抵抗体全体の導電率を低下させ、抵抗値を上昇させる手段として用いられている。
【0004】
しかしながら、上記の文献では、セルロース微細繊維を片面的な用途に使用するのに留まっている。
【0005】
ところで、湿度センサーに用いることのできる従来の抵抗体では、感湿材は次のような手間と時間を費やして用意するものであった。具体的には、最初に等モルのN,N,N',N'-テトラメチル-1,8-ジアミノオクタンと1,8-ジクロロオクタンとをN,N'-ジメチルホルムアミドとエタノールの混合溶媒中で60℃、240時間もの長時間反応させる。次に、この反応により得られた反応物を大量のエーテル中に入れて重合反応させ、生成した重合体を回収して8,8アイオネンクロライドからなる感湿ポリマを得る。
【0006】
次に、この8,8アイオネンクロライドと、ヒドロキシプロピルメチルセルロースの水溶性セルロースエーテルからなる感湿ポリマに対して添加ポリマと、感湿ポリマに対して42倍の重量のイオン交換水とを混合することにより感湿液を得る。そして、電極等が設けられた絶縁基板を感湿液に浸漬した後、乾燥することにより、感湿材が形成された抵抗体を得ることとなる(特許文献2)。
【0007】
このように、感湿材を用意する手間と時間についても、本発明者等は改善すべき余地があるのではないかと考えている。
【先行技術文献】
【特許文献】
【0008】
特開2022-181352号公報
特開2019-66427号公報
【発明の概要】
【発明が解決しようとする課題】
【0009】
そもそもセルロース微細繊維を含有する従来の抵抗体は湿度変化に対する抵抗値の感度が十分なものではなく、さらなる改善の余地があると考えられる。そのような試行錯誤のもと、発明者等は、本発明が解決しようとする課題を、湿度に対する抵抗値の応答性が向上した抵抗体を提供することとする。
【課題を解決するための手段】
【0010】
本発明者等は、上記課題を解決するために、まずセルロース微細繊維を構成するセルロースの分子構造に着目した。そしてセルロース分子の局所的な部位がより極性を有していれば、雰囲気中の水分子との親和性が増し、湿度に対する感度が向上するものと思われる。このような思想のもと、完成させた発明の態様が次に掲げるものである。
(【0011】以降は省略されています)
この特許をJ-PlatPat(特許庁公式サイト)で参照する
関連特許
個人
視触覚センサ
5日前
株式会社イシダ
表示装置
今日
個人
採尿及び採便具
1か月前
日本精機株式会社
検出装置
1か月前
個人
計量機能付き容器
1か月前
個人
アクセサリー型テスター
1か月前
個人
高精度同時多点測定装置
1か月前
株式会社カクマル
境界杭
20日前
甲神電機株式会社
電流検出装置
1か月前
株式会社ミツトヨ
測定器
1か月前
日本精機株式会社
発光表示装置
13日前
愛知電機株式会社
外観検査装置
1日前
日本精機株式会社
液面検出装置
今日
愛知電機株式会社
外観検査方法
1日前
ユニパルス株式会社
トルク変換器
5日前
株式会社トプコン
測量装置
12日前
ユニパルス株式会社
トルク変換器
5日前
ユニパルス株式会社
トルク変換器
5日前
アズビル株式会社
電磁流量計
1か月前
トヨタ自動車株式会社
監視装置
2か月前
ダイキン工業株式会社
監視装置
2か月前
大成建設株式会社
風洞実験装置
1か月前
日本特殊陶業株式会社
ガスセンサ
6日前
日本信号株式会社
距離画像センサ
1か月前
双庸電子株式会社
誤配線検査装置
1か月前
大和製衡株式会社
組合せ計量装置
1か月前
個人
システム、装置及び実験方法
1か月前
ローム株式会社
半導体装置
1か月前
ローム株式会社
半導体装置
1か月前
個人
計量具及び計量機能付き容器
1か月前
愛知電機株式会社
軸部材の外観検査装置
1か月前
長崎県
形状計測方法
1か月前
大和製衡株式会社
組合せ計量装置
1か月前
日本特殊陶業株式会社
ガスセンサ
12日前
日本特殊陶業株式会社
ガスセンサ
28日前
日本特殊陶業株式会社
ガスセンサ
5日前
続きを見る
他の特許を見る