TOP
|
特許
|
意匠
|
商標
特許ウォッチ
Twitter
他の特許を見る
10個以上の画像は省略されています。
公開番号
2025154281
公報種別
公開特許公報(A)
公開日
2025-10-10
出願番号
2024057195
出願日
2024-03-29
発明の名称
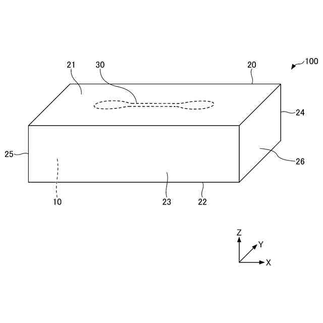
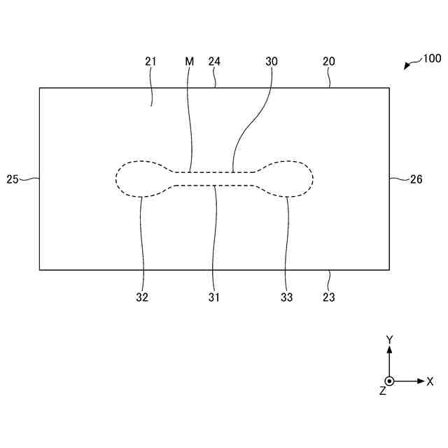
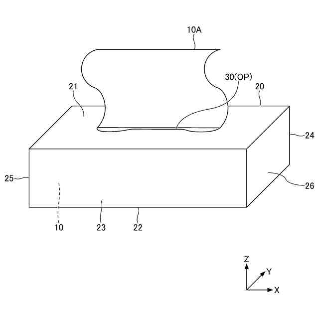
包装袋、衛生用紙包装体、包装袋の製造方法、集合包装袋、および集合包装袋の製造方法
出願人
大王製紙株式会社
代理人
個人
,
個人
主分類
B65D
65/40 20060101AFI20251002BHJP(運搬;包装;貯蔵;薄板状または線条材料の取扱い)
要約
【課題】環境負荷が低く、かつ開封性に優れた、包装袋を提供する。
【解決手段】包装袋は、衛生用紙を包装する樹脂フィルム製の包装袋であって、樹脂フィルムは、包装袋の残材に由来する成分を含み、且つ樹脂フィルムのMD方向の2%伸長時荷重が2.0N以上6.5N以下である。
【選択図】なし
特許請求の範囲
【請求項1】
衛生用紙を包装する樹脂フィルム製の包装袋であって、
前記樹脂フィルムは、前記包装袋の残材に由来する成分を含み、且つ
前記樹脂フィルムのMD方向の2%伸長時荷重が2.0N以上6.5N以下である、
包装袋。
続きを表示(約 700 文字)
【請求項2】
前記残材が、前記包装袋に用いた樹脂フィルムの端材である、
請求項1に記載の包装袋。
【請求項3】
前記包装袋を構成する樹脂フィルムのTD方向の2%伸長時荷重が2.5N以上7.0N以下である、
請求項1に記載の包装袋。
【請求項4】
前記包装袋を構成する樹脂フィルムのMD方向の引裂強さが700mN以上2000mN以下である、
請求項1に記載の包装袋。
【請求項5】
前記包装袋を構成する樹脂フィルムのMD方向の引張弾性率が150MPa以上450MPa以下である、
請求項1に記載の包装袋。
【請求項6】
前記包装袋を構成する樹脂フィルムのTD方向の引張弾性率が250MPa以上550MPa以下である、
請求項1に記載の包装袋。
【請求項7】
前記包装袋を構成する樹脂フィルムのMD方向の引張伸度が500%以上850%以下である、
請求項1に記載の包装袋。
【請求項8】
前記包装袋を構成する樹脂フィルムのMD方向の引張強力が10N/cm以上30N/cm以下である、
請求項1に記載の包装袋。
【請求項9】
前記包装袋を構成する樹脂フィルム中の前記残材に由来する成分の含有量が2質量%以上である、
請求項1に記載の包装袋。
【請求項10】
前記残材に由来する成分における印刷成分の含有量が0.2質量%以下である、
請求項1に記載の包装袋。
(【請求項11】以降は省略されています)
発明の詳細な説明
【技術分野】
【0001】
本発明は、包装袋、衛生用紙包装体、包装袋の製造方法、集合包装袋、および集合包装袋の製造方法に関する。
続きを表示(約 1,400 文字)
【背景技術】
【0002】
特許文献1には、可撓性フィルムにより形成された袋本体に家庭用薄葉紙が収容され、袋本体の表面にミシン目が形成され、側ミシン目を裂開することにより開口したスリット部から家庭用薄葉紙が引き出される袋入り家庭用薄葉紙が開示されている。また、特許文献2には、衛生用紙の衛生用紙積層体が包装された可撓性のフィルム基材に開封用ミシン目が形成された開封用ミシン目入りフィルム包装体が開示されている。
【先行技術文献】
【特許文献】
【0003】
特許2008-183034号公報
特開2018-177364号公報
【発明の概要】
【発明が解決しようとする課題】
【0004】
しかしながら、ティシューペーパーやペーパータオル等の衛生用紙が包装された包装袋は、包装袋に設けられた取出し口が、輸送時や販売時に破れることがないよう、開封しにくい場合がある。また、循環型社会や環境負荷低減の観点から、バイオマスや再生原料等のリサイクル資源の利用促進が求められている一方で、リサイクル資源を用いると通常品と同等の透明度や物性値が得られない。
【0005】
本発明の課題は、環境負荷が低く、かつ開封性に優れた、包装袋を提供することである。
【課題を解決するための手段】
【0006】
本発明に係る第1の態様は、衛生用紙を包装する樹脂フィルム製の包装袋であって、前記樹脂フィルムは、前記包装袋の残材に由来する成分を含み、且つ前記樹脂フィルムのMD方向の2%伸長時荷重が2.0N以上6.5N以下である、包装袋である。
【0007】
本明細書において、樹脂フィルムのMD方向とは、樹脂フィルムを構成する樹脂の流れ方向を示す。樹脂フィルムの2%伸長時荷重は、JIS K 7127(1999)に準拠して測定した数値であり、樹脂フィルムの2本標線間の距離が元の水準より2%伸長した際の荷重を示す。
【0008】
第1の態様では、衛生用紙を包装する包装袋を構成する樹脂フィルムが、包装袋に由来する成分を含むことで、このような樹脂フィルムで構成した包装袋は、環境負荷が低い。
【0009】
また、第1の態様では、包装袋を構成する樹脂フィルムは、包装袋の残材に由来する成分を含むことで、MD方向の2%伸長時荷重が2.0N以上6.5N以下となる。このような樹脂フィルムは、伸びにくく、開封用のミシン目を形成する際にミシン刃が入りやすいため、このような樹脂フィルムで構成した包装袋は、開封性に優れる。さらに、このような樹脂フィルムで包装袋を構成することで滑剤の使用量を減らすことができる。
【0010】
本発明に係る第2の態様は、前記残材が、前記包装袋に用いた樹脂フィルムの端材である、第1の態様に記載の包装袋である。衛生用紙を包装する樹脂フィルム製の包装袋には、通常、印刷が施されているが、包装袋に用いた樹脂フィルムの端材は、包装袋に用いられる樹脂フィルムの切断位置及びその周辺部分であるため、印刷が施されていないか、又は、少なくとも包装袋となる部分に施されているような全体的な印刷が施されていない。
(【0011】以降は省略されています)
この特許をJ-PlatPat(特許庁公式サイト)で参照する
関連特許
大王製紙株式会社
吸収性物品
1か月前
大王製紙株式会社
トイレットロール
1か月前
大王製紙株式会社
パンツタイプ使い捨て着用物品
8日前
大王製紙株式会社
使い捨て着用物品の伸縮構造、及びこれを備えたパンツタイプ使い捨て着用物品
8日前
個人
束ね具
17日前
個人
収容箱
4か月前
個人
コンベア
6か月前
個人
容器
10か月前
個人
段ボール箱
8か月前
個人
ゴミ収集器
8か月前
個人
段ボール箱
7か月前
個人
テープ引出機
17日前
個人
土嚢運搬器具
9か月前
個人
角筒状構造体
6か月前
個人
楽ちんハンド
6か月前
個人
バンド
3か月前
個人
宅配システム
8か月前
個人
棒状体収容容器
21日前
個人
お薬の締結装置
7か月前
個人
包装容器
2か月前
個人
コード類収納具
9か月前
個人
閉塞装置
11か月前
個人
廃棄物収容容器
3か月前
個人
蓋閉止構造
5か月前
個人
把手付米袋
5か月前
個人
蓋閉止構造
5か月前
個人
積み重ね用補助具
3か月前
株式会社コロナ
梱包材
6か月前
株式会社和気
包装用箱
1か月前
個人
ゴミ処理機
10か月前
株式会社バンダイ
物品
1か月前
個人
貯蔵サイロ
8か月前
株式会社和気
包装用箱
10か月前
個人
介護用コップ
3か月前
株式会社ナベル
検査装置
29日前
三甲株式会社
蓋体
10か月前
続きを見る
他の特許を見る