TOP
|
特許
|
意匠
|
商標
特許ウォッチ
Twitter
他の特許を見る
10個以上の画像は省略されています。
公開番号
2025171431
公報種別
公開特許公報(A)
公開日
2025-11-20
出願番号
2024076776
出願日
2024-05-09
発明の名称
パンツタイプ使い捨て着用物品
出願人
大王製紙株式会社
代理人
弁理士法人永井国際特許事務所
主分類
A61F
13/496 20060101AFI20251113BHJP(医学または獣医学;衛生学)
要約
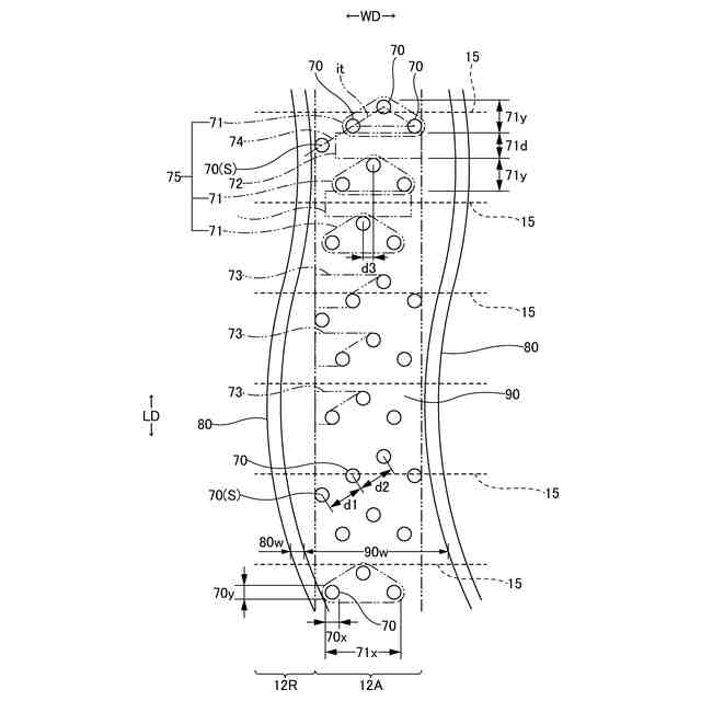
【課題】サイドシール領域の柔軟性と、円滑な引き剥がしを両立させる。
【解決手段】サイドシール領域12Aは、幅方向WDに沿う底辺とウエスト開口WO側に位置する頂点を有する二等辺三角形itの各頂点位置に溶着点70が、相互間隔を有するように配された単位点群71を有し、単位点群71の前後方向LDの寸法は溶着点70の前後方向LDの寸法の1倍超かつ3倍以下であり、単位点群71の幅方向WDの寸法は溶着点70の幅方向WDの寸法の3~15倍であり、単位点群71の最も幅方向WDの内側の溶着点70が、サイドシール領域12Aの最も幅方向WDの内側に位置する溶着点70であり、サイドシール領域12Aにおける前後方向LDの全体にわたり、単位点群71が前後方向LDに間隔を空けて繰り返し設けられ、隣り合う単位点群71の間隔領域72及び単位点群71の側方領域73に溶着点70を有しない。
【選択図】図19
特許請求の範囲
【請求項1】
前身頃の両側部と、後身頃の両側部とが接合されて形成された、環状の胴周り領域と、前記前身頃の胴周り領域から股間部を経て前記後身頃の胴周り領域にわたる中間領域と、前記胴周り領域における前記中間領域と反対側に設けられたウエスト開口と、前記中間領域の幅方向の両側に設けられた脚開口とを有し、
少なくとも前記胴周り領域を形成する外装体と、前記前身頃の幅方向の中間部から前記後身頃の幅方向の中間部にわたるように前記外装体に対して取り付けられた内装体と、前記前身頃における前記外装体の両側部と、前記後身頃における前記外装体の両側部とがそれぞれ内面同士を対向させて溶着された溶着点が散在するサイドシール領域とを備えた、パンツタイプ使い捨て着用物品であって、
前記サイドシール領域は、幅方向に沿う底辺と前記ウエスト開口側に位置する頂点を有する二等辺三角形の各頂点位置に前記溶着点が、相互間隔を有するように配された単位点群を有し、
前記単位点群の前後方向の寸法は、前記溶着点の前後方向の寸法の1倍超かつ3倍以下であり、
前記単位点群の幅方向の寸法は、前記溶着点の幅方向の寸法の3~15倍であり、
前記単位点群の最も幅方向の内側に位置する前記溶着点が、前記サイドシール領域の最も幅方向の内側に位置する前記溶着点であり、
前記サイドシール領域における前後方向の一部又は全体にわたり、前記単位点群が前後方向に間隔を空けて繰り返し設けられており、
前後方向に隣り合う前記単位点群の間隔領域、及び前記単位点群の側方領域に、前記溶着点を有しない、
ことを特徴とするパンツタイプ使い捨て着用物品。
続きを表示(約 1,000 文字)
【請求項2】
前後方向に隣り合う前記単位点群の前記間隔領域の側方に、前記溶着点を有する、
請求項1記載のパンツタイプ使い捨て着用物品。
【請求項3】
前後方向に並ぶ複数の前記単位点群からなり、前記脚開口側の前記単位点群ほど幅方向の位置が前記溶着点の幅方向の寸法以下の距離だけ側方にシフトした単位点群セットを有し、
前記サイドシール領域における前後方向の一部又は全体にわたり、前記単位点群セットが前後方向に間隔を空けて繰り返し設けられている、
請求項1又は2記載のパンツタイプ使い捨て着用物品。
【請求項4】
前記溶着点は、直径0.8~1.5mmの円形であり、
前記単位点群の前後方向の寸法は、前記溶着点の前後方向の寸法の2~3倍であり、
前記単位点群の前後方向の間隔は、前記溶着点の前後方向の寸法の0.2~3倍である、
請求項1又は2記載のパンツタイプ使い捨て着用物品。
【請求項5】
前記外装体は、第1シート及び第2シートと、これら第1シート及び第2シートの間に前後方向に間隔を空けて配置された、幅方向に沿って延びる複数本の細長状の弾性部材とを有する伸縮領域を有し、
前記伸縮領域は、前記サイドシール領域及びその幅方向の中央側にわたり延びており、
前記伸縮領域には、前記弾性部材を横切って前記前後方向に続く線状接合領域が幅方向に間欠的に配されるとともに、前記幅方向に隣り合う前記線状接合領域の間の全体が非接合領域とされ、
各前記線状接合領域のうち前記弾性部材と交差しない部分では、前記前後方向に間欠的又は連続的に、前記第1シート及び前記第2シートが溶着された接合部が設けられ、
各前記線状接合領域のうち前記弾性部材と交差する部分では、前記弾性部材が前記第1シート及び前記第2シートに固定された固定部となっており、
前記前身頃における前記外装体の両側部、及び前記後身頃における前記外装体の両側部は、互いに接合されずに前記サイドシール領域の側縁から突出する余り部をそれぞれ有しており、
前記線状接合領域の幅方向の間隔が前記サイドシール領域の幅方向の寸法より広く、
前記サイドシール領域及び前記余り部を足した領域の幅方向の寸法が、前記線状接合領域の幅方向の間隔の1倍超かつ2倍未満である、
請求項1又は2記載のパンツタイプ使い捨て着用物品。
発明の詳細な説明
【技術分野】
【0001】
本発明は、サイドシール領域を備えたパンツタイプ使い捨て着用物品に関するものである。
続きを表示(約 2,100 文字)
【背景技術】
【0002】
パンツタイプ使い捨ておむつや、パンツタイプ使い捨て生理用ナプキン、パンツタイプ使い捨ておむつカバー等のパンツタイプ使い捨て着用物品は、前身頃の両側部と後身頃の両側部とがそれぞれ内面同士を対向させて溶着接合された溶着部を有するサイドシール領域を有しており、このサイドシール領域の形成により、ウエスト開口及び脚開口が予め形成されたものである。したがって、この種のパンツタイプ使い捨て着用物品では、外面に突出するサイドシール領域が不可避的に存在する(例えば特許文献1~4参照)。
【0003】
このようなパンツタイプ使い捨て着用物品では、排泄後などにおいておむつを脱がす際、サイドシール領域で前身頃と後身頃とを引き剥がし、おむつを身体から取り除くことが行われる。このため、サイドシール領域には、着用中に破れないような剥離強度、使用後の剥がし易さも求められており、従来から様々な技術が提案されている。なお、周知のように、サイドシール領域の引き剥がし(剥離)には、界面剥離の他、溶着部の周囲に沿う基材破壊(破断)も含まれる。
【0004】
また、サイドシール領域が硬いと着用感が悪化するため、サイドシール領域の柔軟性も望まれている。サイドシール領域の柔軟性を高めるためには、サイドシール領域における溶着部のパターンを、溶着点が散在するパターンとするとともに、隣り合う溶着点の間隔を大きくすることが考えられる。
【0005】
しかしながら、単に間隔を拡大するだけでは、柔軟性は向上するが、サイドシール領域の引き剥がしを円滑に行いにくくなり、サイドシール領域から幅方向の中央側に向かって基材が避けてしまう横裂けが発生しやすくなる。
【先行技術文献】
【特許文献】
【0006】
特開2016-067436号公報
国際公開2018/154684号
特開2020-199248号公報
特許6794546号公報
【発明の概要】
【発明が解決しようとする課題】
【0007】
そこで、本発明の主たる課題は、サイドシール領域の柔軟性と、サイドシール領域の円滑な引き剥がしを両立させる、こと等にある。
【課題を解決するための手段】
【0008】
上記課題は以下の各態様により解決される。
<第1の態様>
前身頃の両側部と、後身頃の両側部とが接合されて形成された、環状の胴周り領域と、前記前身頃の胴周り領域から股間部を経て前記後身頃の胴周り領域にわたる中間領域と、前記胴周り領域における前記中間領域と反対側に設けられたウエスト開口と、前記中間領域の幅方向の両側に設けられた脚開口とを有し、
少なくとも前記胴周り領域を形成する外装体と、前記前身頃の幅方向の中間部から前記後身頃の幅方向の中間部にわたるように前記外装体に対して取り付けられた内装体と、前記前身頃における前記外装体の両側部と、前記後身頃における前記外装体の両側部とがそれぞれ内面同士を対向させて溶着された溶着点が散在するサイドシール領域とを備えた、パンツタイプ使い捨て着用物品であって、
前記サイドシール領域は、幅方向に沿う底辺と前記ウエスト開口側に位置する頂点を有する二等辺三角形の各頂点位置に前記溶着点が、相互間隔を有するように配された単位点群を有し、
前記単位点群の前後方向の寸法は、前記溶着点の前後方向の寸法の1倍超かつ3倍以下であり、
前記単位点群の幅方向の寸法は、前記溶着点の幅方向の寸法の3~15倍であり、
前記単位点群の最も幅方向の内側に位置する前記溶着点が、前記サイドシール領域の最も幅方向の内側に位置する前記溶着点であり、
前記サイドシール領域における前後方向の一部又は全体にわたり、前記単位点群が前後方向に間隔を空けて繰り返し設けられており、
前後方向に隣り合う前記単位点群の間隔領域、及び前記単位点群の側方領域に、前記溶着点を有しない、
ことを特徴とするパンツタイプ使い捨て着用物品。
【0009】
(作用効果)
本態様のサイドシール領域の溶着点のパターンでは、サイドシール領域で前身頃の外装体の側部と後身頃の外装体の側部とをウエスト開口側から引き剥がす際、各単位点群の引き剥がしメカニズムが繰り返すようになっているとともに、各単位点群の引き剥がしに際しては始点がウエスト開口側に位置する1つの溶着点に定まるとともに、始点の次に引き剥がされる溶着点が幅方向に並んでいるため、引き剥がし力の向きが安定し、両方の溶着点を円滑に引き剥がすことができ、幅方向の中央側に向かって横裂けしにくいものとなる。
【0010】
<第2の態様>
前後方向に隣り合う前記単位点群の前記間隔領域の側方に、前記溶着点を有する、
第1の態様のパンツタイプ使い捨て着用物品。
(【0011】以降は省略されています)
この特許をJ-PlatPat(特許庁公式サイト)で参照する
関連特許
大王製紙株式会社
マスク
1か月前
大王製紙株式会社
衛生用紙
1か月前
大王製紙株式会社
吸収性物品
1か月前
大王製紙株式会社
吸収性物品
1か月前
大王製紙株式会社
吸収性物品
1か月前
大王製紙株式会社
吸収性物品
2か月前
大王製紙株式会社
吸収性物品
1か月前
大王製紙株式会社
使い捨ておむつ
1か月前
大王製紙株式会社
トイレットロール
1か月前
大王製紙株式会社
トイレットロール
1か月前
大王製紙株式会社
トイレットロール
1か月前
大王製紙株式会社
トイレットロール
1か月前
大王製紙株式会社
トイレットロール
1か月前
大王製紙株式会社
セルロース複合樹脂
1か月前
大王製紙株式会社
衛生用薄葉紙収納容器
1か月前
大王製紙株式会社
トイレットペーパー包装体
1か月前
大王製紙株式会社
パンツタイプ使い捨ておむつ
1か月前
大王製紙株式会社
パンツタイプ使い捨て着用物品
8日前
大王製紙株式会社
パンツタイプ使い捨て着用物品
1か月前
大王製紙株式会社
パンツタイプ使い捨て着用物品
1か月前
大王製紙株式会社
パンツタイプ使い捨て着用物品
1か月前
株式会社太陽機械製作所
抵抗体
1か月前
大王製紙株式会社
吸収性物品、及び吸収性物品の製造方法
1か月前
大王製紙株式会社
トイレットロール、トイレットロール包装体及び香料組成物
1か月前
大王製紙株式会社
物品注文システム、管理サーバ、物品注文方法、及び物品注文プログラム
1か月前
大王製紙株式会社
使い捨て着用物品の伸縮構造、及びこれを備えたパンツタイプ使い捨て着用物品
8日前
大王製紙株式会社
包装袋、衛生用紙包装体、包装袋の製造方法、集合包装袋、および集合包装袋の製造方法
1か月前
個人
貼付剤
1か月前
個人
簡易担架
14日前
個人
短下肢装具
4か月前
個人
足踏み器具
21日前
個人
腋臭防止剤
14日前
個人
嚥下鍛錬装置
4か月前
個人
洗井間専家。
8か月前
個人
白内障治療法
8か月前
個人
排尿補助器具
1か月前
続きを見る
他の特許を見る