TOP
|
特許
|
意匠
|
商標
特許ウォッチ
Twitter
他の特許を見る
公開番号
2025151819
公報種別
公開特許公報(A)
公開日
2025-10-09
出願番号
2024053410
出願日
2024-03-28
発明の名称
吸収性物品
出願人
大王製紙株式会社
代理人
個人
,
個人
主分類
A61F
13/49 20060101AFI20251002BHJP(医学または獣医学;衛生学)
要約
【課題】見栄えの良い外観を有する吸収性物品を提供する。
【解決手段】装着者の体液排出口に対向させる、吸収体を含む内装体と、前記内装体の非肌面に配置された外装体とを備えた、ショーツ型の吸収性物品であって、前記外装体が、前記装着者の脚周りに沿った括れを有する股間部を有し、前記外装体は、非肌面側から見てCIE1976のL
*
a
*
b
*
色空間によるL
*
値が40以下である色を有し、前記吸収性物品に伸縮性を付与する弾性部材を備え、当該弾性部材は、前記装着者の腰周りに沿った腰周り弾性部材を含み、前記股間部のうちの腹側に位置する腹側股間部に、前記腰周り弾性部材が設けられていない。
【選択図】図1
特許請求の範囲
【請求項1】
装着者の体液排出口に対向させる、吸収体を含む内装体と、前記内装体の非肌面に配置された外装体とを備えた、ショーツ型の吸収性物品であって、
前記外装体が、前記装着者の脚周りに沿った括れを有する股間部を有し、
前記外装体は、非肌面側から見てCIE1976のL
*
a
*
b
*
色空間によるL
*
値が40以下である色を有し、
前記吸収性物品に伸縮性を付与する弾性部材を備え、当該弾性部材は、前記装着者の腰周りに沿った腰周り弾性部材を含み、
前記股間部のうちの腹側に位置する腹側股間部に、前記腰周り弾性部材が設けられていない、吸収性物品。
続きを表示(約 210 文字)
【請求項2】
前記股間部の括れの輪郭の曲率半径が最小になる位置が、腹側股間部にある、請求項1に記載の吸収性物品。
【請求項3】
前記弾性部材は、前記装着者の脚周りに沿った脚周り弾性部材を含み、
前記脚周り弾性部材は、前記腹側股間部に設けられている、請求項1又は2に記載の吸収性物品。
【請求項4】
ショーツ型の生理用ナプキンである、請求項1又は2に記載の吸収性物品。
発明の詳細な説明
【技術分野】
【0001】
本発明は、吸収性物品に関する。
続きを表示(約 1,700 文字)
【背景技術】
【0002】
ショーツ型の吸収性物品として、吸収体を含む内装体と、内装体の非肌面に配置された外装体とを備えたものが知られている(例えば、特許文献1参照)。
【0003】
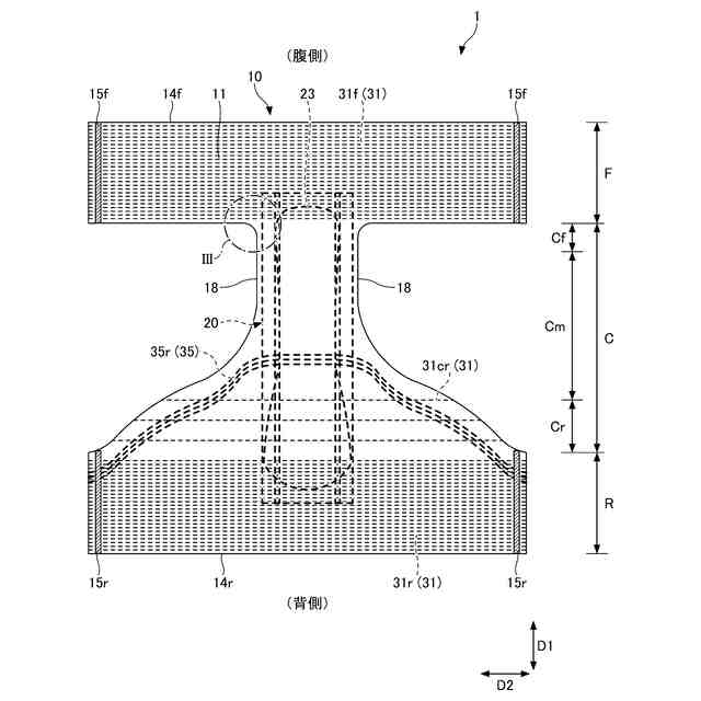
外装体は、展開した状態で、腰周りの腹側に配置される腹側ウエスト部と、腰周りの背側に配置される背側ウエスト部と、腹側ウエスト部と背側ウエスト部との間の、脚周りに沿った括れを有する股間部と、を有する。さらに、外装体には、腰周りに沿って設けられた糸状の弾性部材(腰周り弾性部材)が設けられている。この腰周り弾性部材によって、腰周りに伸縮性が付与され、ショーツ型の吸収性物品のフィット性が向上する。
【先行技術文献】
【特許文献】
【0004】
特開2020-058768号公報
【発明の概要】
【発明が解決しようとする課題】
【0005】
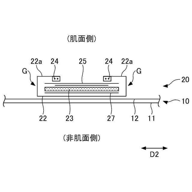
外装体に腰周りに沿って設けられた弾性部材は、内装体と重なっている領域、例えば股間部のうちの腹側の領域(腹側股間部)に配置されている場合がある。その場合、弾性部材からの力を受けて内装体が収縮する又はヨレることを防止するために、内装体に重なっている弾性部材の少なくとも一部を複数箇所でカットすることがある。このカット工程は、例えば、ショーツ型吸収性物品が製造された後に、外装体の外層シート側から弾性部材の延在方向に直交する方向に沿って、内部の弾性部材を切断することによって行われる。よって、カット工程後、外装体には弾性部材の位置にて小さな切込み又は穴が形成されることがあり、そのような切込み又は穴から、内装体の外面が露出し得る。例えば、内装体20と重なった弾性部材31cf(31)がカットされて形成されたカット部38において、内装体の外面が、外装体から点状に露出し得る(図4及び図5)。
【0006】
内装体の外面の色は、通常、白色等の明度の高い色である。本態様では、外面から見た外装体の色が、黒色等の明度の低い色であるので、外装体から露出した明度の高い色を有する内装体の露出は、小さくても目立ってしまう。装着者によってはこのような外観を見栄えが悪いと感じ、場合によっては製品不良と認識される可能性がある。
【0007】
本発明の一態様は、見栄えの良い外観を有する吸収性物品を提供する。
【課題を解決するための手段】
【0008】
上記目的を達成するために本開示の第一態様は、装着者の体液排出口に対向させる、吸収体を含む内装体と、前記内装体の非肌面に配置された外装体とを備えた、ショーツ型の吸収性物品であって、前記外装体が、前記装着者の脚周りに沿った括れを有する股間部を有し、前記外装体は、非肌面側から見てCIE1976のL
*
a
*
b
*
色空間によるL
*
値が40以下である色を有し、前記吸収性物品に伸縮性を付与する弾性部材を備え、当該弾性部材は、前記装着者の腰周りに沿った腰周り弾性部材を含み、前記股間部のうちの腹側に位置する腹側股間部に、前記腰周り弾性部材が設けられていない。
【0009】
上記第一の態様によれば、外装体が、非肌面側から見てCIE1976のL
*
a
*
b
*
色空間によるL
*
値が40以下である色を有するので、吸収性物品の外観はショーツに近く、吸収性物品を見た時におむつを想起させる印象を低減できる。さらに、本態様では、股間部のうちの腹側に位置する腹側股間部に、腰周り弾性部材が設けられていない。そのため、内装体に重なる腰周り弾性部材が低減されるか、又はなくなる。そうすると、腹側股間部において腰周り弾性部材をカットするカット工程が不要となり、上述したような、内装体が露出することなく、吸収性物品が不良と認識されてしまう可能性もなくすことができる。
【0010】
本発明の第二の態様では、前記股間部の括れの輪郭の曲率半径が最小になる位置が、腹側股間部にある。
(【0011】以降は省略されています)
この特許をJ-PlatPat(特許庁公式サイト)で参照する
関連特許
大王製紙株式会社
マスク
4日前
大王製紙株式会社
衛生用紙
4日前
大王製紙株式会社
吸収性物品
3か月前
大王製紙株式会社
吸収性物品
2か月前
大王製紙株式会社
吸収性物品
25日前
大王製紙株式会社
吸収性物品
5日前
大王製紙株式会社
吸収性物品
15日前
大王製紙株式会社
吸収性物品
5日前
大王製紙株式会社
吸収性物品
6日前
大王製紙株式会社
RFIDタグ
3か月前
大王製紙株式会社
シート収納箱
1か月前
大王製紙株式会社
油性固形化粧料
2か月前
大王製紙株式会社
使い捨ておむつ
5日前
大王製紙株式会社
トイレットロール
4日前
大王製紙株式会社
トイレットロール
4日前
大王製紙株式会社
段ボール用ライナ
25日前
大王製紙株式会社
トイレットロール
4か月前
大王製紙株式会社
トイレットロール
4日前
大王製紙株式会社
トイレットロール
4日前
大王製紙株式会社
トイレットロール
4日前
大王製紙株式会社
セルロース複合樹脂
5日前
大王製紙株式会社
衛生用薄葉紙収納容器
5日前
大王製紙株式会社
RFIDタグ及び下げ札
3か月前
大王製紙株式会社
包装袋およびシート包装体
1か月前
大王製紙株式会社
トイレットペーパー包装体
12日前
大王製紙株式会社
パンツタイプ使い捨ておむつ
6日前
大王製紙株式会社
パンツタイプ使い捨て着用物品
6日前
大王製紙株式会社
パンツタイプ使い捨て着用物品
4日前
大王製紙株式会社
パンツタイプ使い捨て着用物品
6日前
株式会社太陽機械製作所
抵抗体
5日前
大王製紙株式会社
吸収性物品、及び吸収性物品の製造方法
4日前
大王製紙株式会社
トイレットペーパーおよびシート包装体
3か月前
大王製紙株式会社
包装体
1か月前
大王製紙株式会社
トイレットロール、トイレットロール包装体及び香料組成物
4日前
大王製紙株式会社
シート収納箱
1か月前
大王製紙株式会社
耐油紙及び包装袋
4か月前
続きを見る
他の特許を見る