TOP
|
特許
|
意匠
|
商標
特許ウォッチ
Twitter
他の特許を見る
10個以上の画像は省略されています。
公開番号
2025154245
公報種別
公開特許公報(A)
公開日
2025-10-10
出願番号
2024057139
出願日
2024-03-29
発明の名称
マスク
出願人
大王製紙株式会社
代理人
個人
,
個人
主分類
A41D
13/11 20060101AFI20251002BHJP(衣類)
要約
【課題】マスク本体と耳掛け部とが十分な接合強度で接合され、且つ肌触りも良好なマスクを提供する。
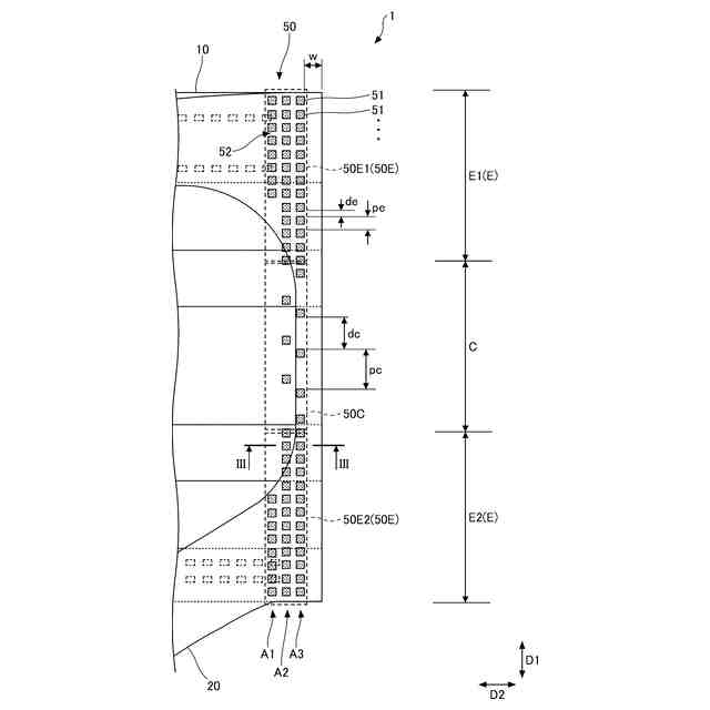
【解決手段】マスク本体と、前記マスク本体の横方向の各縁部に、縦方向に沿って延在する接合処理領域において接合されたシート状の耳掛け部と、を備えたマスクであって、前記接合処理領域は、互いに離隔した、溶融により変性した複数の変性部 を有し、前記接合処理領域のうち縦方向の中央に位置する中央部接合処理領域における変性部の面積率が、前記接合処理領域のうち縦方向の端部に位置する端部接合処理領域における変性部の面積率よりも小さい。
【選択図】図1
特許請求の範囲
【請求項1】
マスク本体と、
前記マスク本体の横方向の各縁部に、縦方向に沿って延在する接合処理領域において接合されたシート状の耳掛け部と、を備えたマスクであって、
前記接合処理領域は、互いに離隔した、溶融により変性した複数の変性部を有し、
前記接合処理領域のうち縦方向の中央に位置する中央部接合処理領域における変性部の面積率が、前記接合処理領域のうち縦方向の端部に位置する端部接合処理領域における変性部の面積率よりも小さい、マスク。
続きを表示(約 530 文字)
【請求項2】
前記中央部接合処理領域における前記変性部の1個の面積は、前記端部接合処理領域における前記変性部1個の面積に等しいか、又はより小さい、請求項1に記載のマスク。
【請求項3】
前記中央部接合処理領域における前記変性部同士の縦方向のピッチは、前記端部接合処理領域における前記変性部の縦方向のピッチよりも小さい、請求項1又は2に記載のマスク。
【請求項4】
前記接合処理領域は、前記変性部が縦方向にわたって複数並んでなる変性部列を、横方向に複数含み、
前記横方向の最も内側の変性部列は、前記中央部接合処理領域において変性部を有さない、請求項1又は2に記載のマスク。
【請求項5】
前記マスクの横方向の端縁から、横方向の最も外側に位置する変性部までの横方向の長さが、0.1mm以上4mm以下である、請求項1又は2に記載のマスク。
【請求項6】
前記変性部は、少なくとも前記接合処理領域の外側から窪んだ部分であり、
前記変性部の内側から窪んだ窪みの深さが、前記外側から窪んだ窪みの深さよりも小さいか、又は前記変性部は前記内側からは窪んでいない、請求項1又は2に記載のマスク。
発明の詳細な説明
【技術分野】
【0001】
本発明は、マスクに関する。
続きを表示(約 1,900 文字)
【背景技術】
【0002】
顔に装着するマスクの一般的な構成は、装着者の顔を少なくとも部分的に覆うマスク本体と、マスク本体に結合された一対の耳掛け部とを備えている。また、耳掛け部として、紐状でなく、シート状のものも知られている。例えば、特許文献1には、マスク本体部及び耳掛け部が、いずれもシート状不織布によって構成され、マスク本体部の低伸長方向(横方向)の端部領域に耳掛け部が融着によって接合されたマスクが記載されている。
【先行技術文献】
【特許文献】
【0003】
特開2012-217651号公報
【発明の概要】
【発明が解決しようとする課題】
【0004】
マスク本体及び/耳掛け部の材料の構成によっては、マスク本体と耳掛け部との間で十分な接合強度が得られない場合がある。そのため、接合強度を上げるべく、マスク本体と耳掛け部との接合のための融着処理が行われる領域において、融着部分の面積を大きくすることが考えられる。しかしながら、処理された領域が硬くなるため、マスクの柔軟性が低下し、肌触りが損なわれる可能性がある。
【0005】
よって、本発明の一態様は、マスク本体と耳掛け部とが十分な接合強度で接合され、且つ肌触りも良好なマスクを提供する。
【課題を解決するための手段】
【0006】
本発明の第一の態様は、マスク本体と、前記マスク本体の横方向の各縁部に、縦方向に沿って延在する接合処理領域において接合されたシート状の耳掛け部と、を備えたマスクであって、前記接合処理領域は、互いに離隔した、溶融により変性した複数の変性部を有し、前記接合処理領域のうち縦方向の中央に位置する中央部接合処理領域における変性部の面積率が、前記接合処理領域のうち縦方向の端部に位置する端部接合処理領域における変性部の面積率よりも小さい。
【0007】
本態様では、耳掛け部とマスク本体との接合のために形成された接合処理領域は、互いに離隔した変性部を複数含む。変性部は、材料が溶融したことにより変性した部分である。耳掛け部とマスク本体とが重なった領域に変性部が形成されると、耳掛け部およびマスク本体の少なくとも表面の材料が溶融して互いに融合するので、比較的強固な接合が形成される。しかしながら、耳掛け部及び/又はマスク本体の材料の構成によっては、例えば、耳掛け部が伸縮性であって表面に皺を有する材料から構成されている場合等には、マスク本体との接合強度が十分に得られないことがある。その場合、接合処理領域における変性部の面積を大きくして接合強度の向上を図ることも考えられる。しかしながら、変性部は、材料が一旦融けることにより変性した部分であるので、元の素材が備えていた空隙は失われ、未処理の部分に比べて硬くなる。そのため、変性部の面積を大きくすると、接合処理領域の柔軟性が低下し、良好な肌触りを損なう可能性がある。
【0008】
これに対し、本発明の第一の態様によれば、接合処理領域のうち縦方向の中央に位置する中央部接合処理領域における変性部の面積率(Rc)を、接合処理領域のうち縦方向の端部に位置する端部接合処理領域における変性部の面積率(Re)よりも小さくしている。すなわち、Rc<Reである。装着者がマスクを装着した時、横方向の端部においては、縦方向の中央の部分が肌に向かって突出するように折れ曲がって肌に当たりやすい。そのため、中央部接合処理領域の柔軟性は、装着感に大きな影響を与え得る。すなわち、中央部接合処理領域の硬さを軽減することで、マスク全体の装着感を効果的に向上できる。本態様では、縦方向の中央に位置する中央部接合処理領域における変性部の面積率が比較的小さくなっているので、中央部接合処理領域が折れ曲がりにくくなる。また、折れ曲がったとしても中央部接合処理領域自体がより柔軟になっているため、鋭く折れ曲がらず、さらに折れ曲がった部分が肌に当たったとしても良好な装着感が維持される。
【0009】
また、装着時に耳掛け部が横方向に引っ張られた際、特に大きな力が掛かるのは、耳掛け部が延出する部分である縦方向の端部である。本態様では、端部接合処理領域における変性部の面積率を比較的大きくしているので、縦方向の端部における接合強度を十分に確保できる。
【0010】
このようにして、上記第一の態様により、柔軟な肌触りを有しつつも、マスク本体と耳掛け部とが十分な接合強度で接合された構成を提供できる。
(【0011】以降は省略されています)
この特許をJ-PlatPat(特許庁公式サイト)で参照する
関連特許
大王製紙株式会社
マスク
2か月前
大王製紙株式会社
衛生用紙
2か月前
大王製紙株式会社
吸収性物品
2か月前
大王製紙株式会社
吸収性物品
2か月前
大王製紙株式会社
吸収性物品
1か月前
大王製紙株式会社
吸収性物品
2か月前
大王製紙株式会社
吸収性物品
2か月前
大王製紙株式会社
吸収性物品
2か月前
大王製紙株式会社
使い捨ておむつ
2か月前
大王製紙株式会社
トイレットロール
2か月前
大王製紙株式会社
トイレットロール
2か月前
大王製紙株式会社
トイレットロール
2か月前
大王製紙株式会社
トイレットロール
2か月前
大王製紙株式会社
トイレットロール
2か月前
大王製紙株式会社
段ボール用ライナ
2か月前
大王製紙株式会社
セルロース複合樹脂
2か月前
大王製紙株式会社
ペット用吸収性物品
5日前
大王製紙株式会社
衛生用薄葉紙収納容器
2か月前
大王製紙株式会社
トイレットペーパー包装体
2か月前
大王製紙株式会社
パンツタイプ使い捨ておむつ
2か月前
大王製紙株式会社
パンツタイプ使い捨て着用物品
2か月前
大王製紙株式会社
パンツタイプ使い捨て着用物品
2か月前
大王製紙株式会社
パンツタイプ使い捨て着用物品
2か月前
大王製紙株式会社
パンツタイプ使い捨て着用物品
20日前
株式会社太陽機械製作所
抵抗体
2か月前
大王製紙株式会社
吸収性物品、及び吸収性物品の製造方法
2か月前
大王製紙株式会社
包装体
3か月前
大王製紙株式会社
トイレットロール、トイレットロール包装体及び香料組成物
2か月前
大王製紙株式会社
物品注文システム、管理サーバ、物品注文方法、及び物品注文プログラム
2か月前
大王製紙株式会社
使い捨て着用物品の伸縮構造、及びこれを備えたパンツタイプ使い捨て着用物品
20日前
大王製紙株式会社
包装袋、衛生用紙包装体、包装袋の製造方法、集合包装袋、および集合包装袋の製造方法
2か月前
個人
衿芯
5か月前
個人
和服
7か月前
個人
シャツ
3か月前
個人
中間着
1か月前
個人
二部式袍
10か月前
続きを見る
他の特許を見る