TOP
|
特許
|
意匠
|
商標
特許ウォッチ
Twitter
他の特許を見る
10個以上の画像は省略されています。
公開番号
2025148852
公報種別
公開特許公報(A)
公開日
2025-10-08
出願番号
2024049178
出願日
2024-03-26
発明の名称
吸収性物品
出願人
大王製紙株式会社
代理人
弁護士法人クレオ国際法律特許事務所
主分類
A61F
13/514 20060101AFI20251001BHJP(医学または獣医学;衛生学)
要約
【課題】吸収性物品において、重ね合わされた領域部分の端縁を見つけ易いものとする。
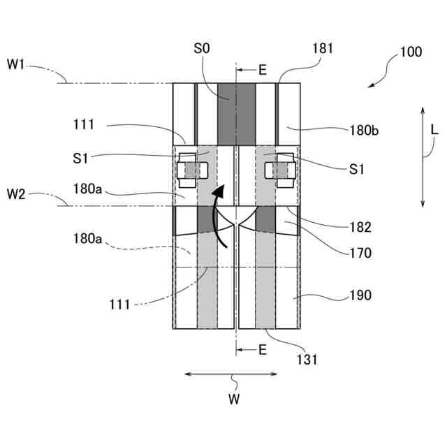
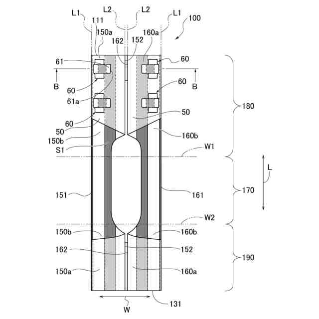
【解決手段】テープタイプの使い捨ておむつ100は、背側部110、股間部120及び腹側部130が連なって形成され、トップシート10と、吸収体30と、ポリエチレンシート40と、バックシート20とが配置され、おむつ100は、先端部分180aが折り返されて内側端部分180bに重ねられた、折り畳まれた状態であり、ポリエチレンシート40の線S0,S1は、おむつ100の内面側及び外面側に光学的に透過可能であり、かつ、折り畳まれた状態における平面視で、先端部分180aと内側端部分180bとの境界線である先端部分180aの端縁111を視認させるように形成されている。
【選択図】図10A
特許請求の範囲
【請求項1】
長手方向に沿って背側部、股間部及び腹側部が連なって形成され、厚さ方向に、液透過性を有する内面シートと、水分を吸収して保持する吸収体と、白色以外の色で形成されたデザインが施された中間シートと、外面シートと、が着用者の肌に対向する肌側から順に配置された吸収性物品であって、
前記吸収性物品は、一部分が折り返されて他の部分に重ねられた、折り畳まれた状態で、
前記中間シートのデザインは、前記吸収性物品の内面側及び外面側に、光学的に透過可能であり、かつ、前記折り畳まれた状態における平面視で、前記一部分と前記他の部分との境界線である前記一部分の端縁を視認させるように形成されている、吸収性物品。
続きを表示(約 390 文字)
【請求項2】
前記中間シートのデザインは、前記境界線を挟んだ前記一部分の側と前記他の部分の側とで連続しないで、かつ前記一部分の側及び前記他の部分の側の少なくとも一方のデザインが前記境界線まで形成されているように視認される、請求項1に記載の吸収性物品。
【請求項3】
前記一部分は、前記背側部と前記腹側部とを繋ぐテープである、請求項1又は2に記載の吸収性物品。
【請求項4】
前記他の部分は、前記長手方向の端部を含む部分を前記長手方向の中心部側に向けて前記内面側に折り返した部分であり、
前記一部分は、前記他の部分の一部であって、前記長手方向の端縁を含む部分である、請求項1又は2に記載の吸収性物品。
【請求項5】
前記中間シートのデザインは、前記長手方向に沿って延びた線である、請求項1又は2に記載の吸収性物品。
発明の詳細な説明
【技術分野】
【0001】
本発明は、吸収性物品に関する。
続きを表示(約 1,300 文字)
【背景技術】
【0002】
吸収性物品である使い捨ておむつ等(以下、おむつ等という。)は、長手方向に沿って背側部、股間部及び腹側部が連なって形成されている。このおむつ等は、背側部と腹側部とが予め接続されて着用者の胴回りの被覆部を形成している、いわゆるパンツタイプと、長手方向に背側部、股間部及び腹側部が展開されていて、着用者の臀部を背側部で、股部を股間部で、下腹部を腹側部で、それぞれ覆った状態で、背側部の両側部と腹側部の両側部とをテープで連結する、いわゆるテープタイプとがある。
【0003】
テープタイプのおむつ等は、長手方向に展開された状態から、幅方向の両側部分がそれぞれ幅方向の内側に折り返されるように折り畳まれ、この幅方向に折り畳まれた状態から、さらに、長手方向の両端部がそれぞれ長手方向の中心側に折り返されるよう折り畳まれた状態で、製品として提供される。
【0004】
したがって、おむつの使用者等(おむつの着用者又は介助者)が、製品のおむつを使用するときは、使用者等は、上述したように折り畳まれた状態のおむつを、まず、長手方向に展開し、展開後に、幅方向に展開する。
【0005】
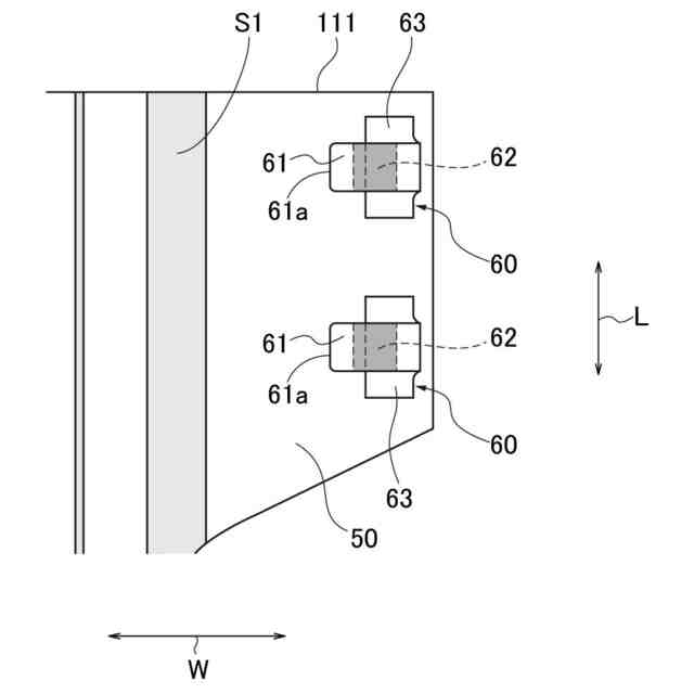
ここで、おむつ等は、一般的に、全体が白い不織布等で形成されている。そして、おむつ等は、折り畳まれた状態で、内側に折り返された長手方向の端部が、長手方向の中心側の領域部分と重ね合わされているが、その重ね合わされた長手方向の端部も長手方向の中心側の領域部分も白いため、使用者等は、両者の境界を視認するのが難しい。
【0006】
使用者等が折り畳まれた状態のおむつを長手方向に展開するとき、使用者等は、内側に折り返されている長手方向の端部側の端縁に指を掛けるが、この端縁は両者の境界であるため、使用者等は、指を掛けるべき端縁を見つけ難い、という問題がある。特に視力が弱い老齢者等の使用者等は、おむつを展開する作業が非常に煩わしいものとなる。
【0007】
また、おむつ等は、背側部と腹側部とを繋ぐテープも、白いパネル部材で形成されている。そして、テープは、使用前の止着部(例えば面ファスナのフック部材)を保護するため、幅方向の外側の先端部が幅方向の内側に折り返されるように折り畳まれている。使用者等は、おむつ等を使用する際に、内側に折り返されているテープの先端部に指を掛けるが、白色のテープの先端部はおむつ等の白色の背側部と重ねられているため、使用者等は、テープの先端部の端縁を見つけ難く、テープを展開させるのが難しい、という問題もある。
【0008】
なお、テープの一部を着色することで、テープ自体の位置を見つけ易くする技術は提案されている(例えば、特許文献1参照)。
【先行技術文献】
【特許文献】
【0009】
特開2022-042471号公報
【発明の概要】
【発明が解決しようとする課題】
【0010】
しかし、上述した先行技術文献に記載された技術は、テープ自体を見つけ易くするものであって、テープの先端部の端縁等重なった部分の端縁を見つけ易くする技術ではない。
(【0011】以降は省略されています)
この特許をJ-PlatPat(特許庁公式サイト)で参照する
関連特許
大王製紙株式会社
マスク
23日前
大王製紙株式会社
衛生用紙
23日前
大王製紙株式会社
吸収性物品
9日前
大王製紙株式会社
吸収性物品
25日前
大王製紙株式会社
吸収性物品
24日前
大王製紙株式会社
吸収性物品
24日前
大王製紙株式会社
吸収性物品
1か月前
大王製紙株式会社
使い捨ておむつ
24日前
大王製紙株式会社
トイレットロール
23日前
大王製紙株式会社
トイレットロール
23日前
大王製紙株式会社
トイレットロール
23日前
大王製紙株式会社
トイレットロール
23日前
大王製紙株式会社
トイレットロール
23日前
大王製紙株式会社
セルロース複合樹脂
24日前
大王製紙株式会社
衛生用薄葉紙収納容器
24日前
大王製紙株式会社
トイレットペーパー包装体
1か月前
大王製紙株式会社
パンツタイプ使い捨ておむつ
25日前
大王製紙株式会社
パンツタイプ使い捨て着用物品
23日前
大王製紙株式会社
パンツタイプ使い捨て着用物品
25日前
大王製紙株式会社
パンツタイプ使い捨て着用物品
25日前
株式会社太陽機械製作所
抵抗体
24日前
大王製紙株式会社
吸収性物品、及び吸収性物品の製造方法
23日前
大王製紙株式会社
トイレットロール、トイレットロール包装体及び香料組成物
23日前
大王製紙株式会社
物品注文システム、管理サーバ、物品注文方法、及び物品注文プログラム
24日前
大王製紙株式会社
包装袋、衛生用紙包装体、包装袋の製造方法、集合包装袋、および集合包装袋の製造方法
23日前
個人
貼付剤
6日前
個人
短下肢装具
3か月前
個人
嚥下鍛錬装置
3か月前
個人
前腕誘導装置
3か月前
個人
排尿補助器具
19日前
個人
腰ベルト
9日前
個人
アイマスク装置
2か月前
個人
矯正椅子
5か月前
個人
バッグ式オムツ
4か月前
個人
ウォート指圧法
17日前
個人
歯の修復用材料
4か月前
続きを見る
他の特許を見る