TOP
|
特許
|
意匠
|
商標
特許ウォッチ
Twitter
他の特許を見る
10個以上の画像は省略されています。
公開番号
2025151309
公報種別
公開特許公報(A)
公開日
2025-10-09
出願番号
2024052644
出願日
2024-03-28
発明の名称
吸収性物品
出願人
大王製紙株式会社
代理人
弁護士法人クレオ国際法律特許事務所
主分類
A61F
13/56 20060101AFI20251002BHJP(医学または獣医学;衛生学)
要約
【課題】アウターに取り付ける際の位置決めを容易に行うことができると共に、取り外しに伴うアウターの損傷を抑えることができる吸収性物品を提供すること。
【解決手段】着用者の腹側から背側に延びる長手方向Lに延び、内表面が不織布によって形成された使い捨て物品であるアウターの内側に装着される吸収性物品1であって、着用者に対向する表面シートと、表面シートの反対側に位置してアウターに対向すると共に、アウターに着脱可能に係合する係合部20が設けられた裏面シート12と、を備え、係合部20は、腹側の端部領域に配置された前側係合部21と、背側の端部領域に配置された後側係合部22と、少なくとも一部が長手方向Lの中央部に配置された中間係合部23と、を有している。そして中間係合部23は、前側係合部21及び後側係合部22よりも係合力が低い構成とした。
【選択図】図2
特許請求の範囲
【請求項1】
着用者の腹側から背側に延びる長手方向に延び、内表面が不織布によって形成された使い捨て物品であるアウターの内側に装着される吸収性物品であって、
前記着用者に対向する表面シートと、前記表面シートの反対側に位置して前記アウターに対向すると共に、前記アウターに着脱可能に係合する係合部が設けられた裏面シートと、を備え、
前記係合部は、前記腹側の端部領域に配置された前側係合部と、前記背側の端部領域に配置された後側係合部と、少なくとも一部が前記長手方向の中央部に配置された中間係合部と、を有し、
前記中間係合部は、前記前側係合部及び前記後側係合部よりも係合力が低い
ことを特徴とする吸収性物品。
続きを表示(約 1,100 文字)
【請求項2】
請求項1に記載された吸収性物品において、
前記中間係合部の係合力は、部分的に異なっている
ことを特徴とする吸収性物品。
【請求項3】
請求項2に記載された吸収性物品において、
前記前側係合部と前記後側係合部とは、同等の係合力に設定され、
前記中間係合部は、前記長手方向の中央部分の方が、前記長手方向の両端部分よりも係合力が高い
ことを特徴とする吸収性物品。
【請求項4】
請求項2に記載された吸収性物品において、
前記後側係合部は、前記前側係合部よりも係合力が高く、
前記中間係合部は、前記後側係合部に近い部分の方が、前記前側係合部に近い部分よりも係合力が高い
ことを特徴とする吸収性物品。
【請求項5】
請求項2に記載された吸収性物品において、
前記前側係合部は、前記後側係合部よりも係合力が高く、
前記中間係合部は、前記前側係合部に近い部分の方が、前記後側係合部に近い部分よりも係合力が高い
ことを特徴とする吸収性物品。
【請求項6】
請求項1又は請求項2に記載された吸収性物品において、
前記裏面シートは、前記前側係合部と前記中間係合部との間に、前記長手方向の長さが前記前側係合部の前記長手方向の長さよりも長く、前記アウターに係合しない第1非係合領域が設定され、
前記後側係合部と前記中間係合部との間に、前記長手方向の長さが前記後側係合部の前記長手方向の長さよりも長く、前記アウターに係合しない第2非係合領域が設定されている
ことを特徴とする吸収性物品。
【請求項7】
請求項1又は請求項2に記載された吸収性物品において、
前記中間係合部の前記長手方向に直交する幅方向の長さは、前記前側係合部の前記幅方向の長さ及び前記後側係合部の前記幅方向の長さよりも短い
ことを特徴とする吸収性物品。
【請求項8】
請求項1又は請求項2に記載された吸収性物品において、
前記中間係合部の前記アウターに係合可能な面積は、前記前側係合部の前記アウターに係合可能な面積及び前記後側係合部の前記アウターに係合可能な面積よりも小さい
ことを特徴とする吸収性物品。
【請求項9】
請求項1又は請求項2に記載された吸収性物品において、
前記係合部は、前記裏面シートの表面に形成された不織布に係合可能なフック部によって構成されている
ことを特徴とする吸収性物品。
発明の詳細な説明
【技術分野】
【0001】
本発明は、吸収性物品に関するものである。
続きを表示(約 1,900 文字)
【背景技術】
【0002】
従来、体液を吸収するため、着用者が着用するアウターの内部に配置される吸収性物品が知られている(特許文献1~特許文献4参照)。このような吸収性物品は、着用者の背側から腹側に沿う長手方向に延び、着用者の肌に対向する表面シートと、表面シートの反対側に位置してアウターに対向する裏面シートと、を有している。そして、裏面シートには、アウターに着脱可能に係合する係合部が設けられている。
【先行技術文献】
【特許文献】
【0003】
特許第6474169号公報
特開2022-046294号公報
特許第4522021号公報
特開2023-171096号公報
【発明の概要】
【発明が解決しようとする課題】
【0004】
ところで、特許文献1及び特許文献2に開示の吸収性物品では、係合部が、裏面シートの長手方向の両端部のみに設けられているため、裏面シートの長手方向の中央位置をアウターに固定することができない。このため、吸収性物品をアウターに取り付ける際、裏面シートの長手方向の中央位置とアウターとの間に隙間が生じ、位置ずれすることがある。
【0005】
また、特許文献3に開示の吸収性物品では、係合部が、裏面シートのほぼ全面に設けられおり、裏面シートの長手方向の中央位置をアウターに固定することが可能である。しかしながら、係合部の係合力については言及がない。そのため、吸収性物品をアウターから剥がした際、係合部が係合していたアウターの内表面が毛羽だったり、破れたりするおそれがあり、アウターをそのまま継続して使用することに支障がある。
【0006】
さらに、アウターが、不織布によって形成された内表面を有する使い捨て吸収物品である場合、アウターを再利用するために吸収性物品を剥がしたときに、布製の下着等と比べて係合部の剥離で毛羽立ちや破れが生じ易いという問題がある。
【0007】
本発明は、上記問題に着目してなされたもので、内表面が不織布で形成された使い捨て物品であるアウターに取り付ける際の位置決めを容易に行うことができると共に、取り外しに伴うアウター内表面の損傷を抑えることができる吸収性物品を提供することを目的とする。
【課題を解決するための手段】
【0008】
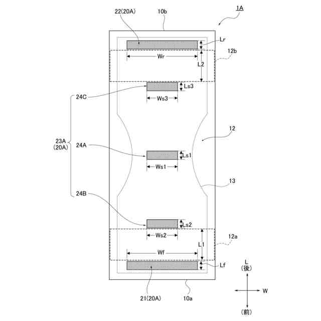
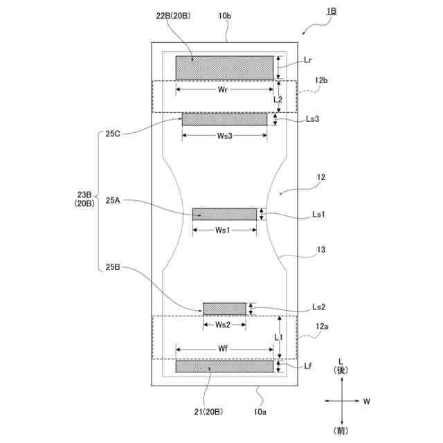
上記目的を達成するため、本発明は、着用者の腹側から背側に延びる長手方向に延び、内表面が不織布によって形成された使い捨て物品であるアウターの内側に装着される吸収性物品であって、前記着用者に対向する表面シートと、前記表面シートの反対側に位置して前記アウターに対向すると共に、前記アウターに着脱可能に係合する係合部が設けられた裏面シートと、を備え、前記係合部は、前記腹側の端部領域に配置された前側係合部と、前記背側の端部領域に配置された後側係合部と、少なくとも一部が前記長手方向の中央部に配置された中間係合部と、を有し、前記中間係合部は、前記前側係合部及び前記後側係合部よりも係合力が低い構成とした。
【発明の効果】
【0009】
これにより、本発明の吸収性物品は、内表面が不織布で形成された使い捨て物品であるアウターに取り付ける際の位置決めを容易に行うことができると共に、取り外しに伴うアウター内表面の損傷を抑えることができる。
【図面の簡単な説明】
【0010】
実施例1の吸収性物品の使用状態図を示す説明図である。
実施例1の吸収性物品を非肌側から見たときの平面図である。
図2におけるA-A断面図である。
図2におけるB-B断面図である。
実施例2の吸収性物品を非肌側から見たときの平面図である。
実施例3の吸収性物品を非肌側から見たときの平面図である。
実施例4の吸収性物品を非肌側から見たときの平面図である。
第1変形例の吸収性物品の要部断面図である。
第1変形例の吸収性物品を非肌側から見たときの平面図である。
第2変形例の吸収性物品を非肌側から見たときの平面図である。
第3変形例の吸収性物品を非肌側から見たときの平面図である。
第4変形例の吸収性物品を非肌側から見たときの平面図である。
第5変形例の吸収性物品を非肌側から見たときの平面図である。
第6変形例の吸収性物品を非肌側から見たときの平面図である。
【発明を実施するための形態】
(【0011】以降は省略されています)
この特許をJ-PlatPat(特許庁公式サイト)で参照する
関連特許
大王製紙株式会社
マスク
1か月前
大王製紙株式会社
衛生用紙
1か月前
大王製紙株式会社
吸収性物品
1か月前
大王製紙株式会社
吸収性物品
1か月前
大王製紙株式会社
吸収性物品
1か月前
大王製紙株式会社
吸収性物品
1か月前
大王製紙株式会社
使い捨ておむつ
1か月前
大王製紙株式会社
トイレットロール
1か月前
大王製紙株式会社
トイレットロール
1か月前
大王製紙株式会社
トイレットロール
1か月前
大王製紙株式会社
トイレットロール
1か月前
大王製紙株式会社
トイレットロール
1か月前
大王製紙株式会社
セルロース複合樹脂
1か月前
大王製紙株式会社
衛生用薄葉紙収納容器
1か月前
大王製紙株式会社
トイレットペーパー包装体
1か月前
大王製紙株式会社
パンツタイプ使い捨ておむつ
1か月前
大王製紙株式会社
パンツタイプ使い捨て着用物品
8日前
大王製紙株式会社
パンツタイプ使い捨て着用物品
1か月前
大王製紙株式会社
パンツタイプ使い捨て着用物品
1か月前
大王製紙株式会社
パンツタイプ使い捨て着用物品
1か月前
株式会社太陽機械製作所
抵抗体
1か月前
大王製紙株式会社
吸収性物品、及び吸収性物品の製造方法
1か月前
大王製紙株式会社
トイレットロール、トイレットロール包装体及び香料組成物
1か月前
大王製紙株式会社
物品注文システム、管理サーバ、物品注文方法、及び物品注文プログラム
1か月前
大王製紙株式会社
使い捨て着用物品の伸縮構造、及びこれを備えたパンツタイプ使い捨て着用物品
8日前
大王製紙株式会社
包装袋、衛生用紙包装体、包装袋の製造方法、集合包装袋、および集合包装袋の製造方法
1か月前
個人
貼付剤
1か月前
個人
簡易担架
14日前
個人
腋臭防止剤
14日前
個人
短下肢装具
4か月前
個人
足踏み器具
21日前
個人
排尿補助器具
1か月前
個人
嚥下鍛錬装置
4か月前
個人
洗井間専家。
8か月前
個人
前腕誘導装置
4か月前
個人
ホバーアイロン
7か月前
続きを見る
他の特許を見る