TOP
|
特許
|
意匠
|
商標
特許ウォッチ
Twitter
他の特許を見る
公開番号
2025176549
公報種別
公開特許公報(A)
公開日
2025-12-04
出願番号
2024082784
出願日
2024-05-21
発明の名称
決定木判別支援装置
出願人
トヨタ自動車株式会社
代理人
弁理士法人平木国際特許事務所
主分類
G06F
18/241 20230101AFI20251127BHJP(計算;計数)
要約
【課題】分析過程の可読性を担保することにより、決定木判別による分析精度の向上を支援する。
【解決手段】決定木判別支援装置1は、採用変数の閾値から決定木が設定されるとともに、決定木により判別された分岐枝の適正または不適正の適否の予測結果が、設定される設定部13と、対応データ群の適否データと、予測結果から、決定木の適合率および再現率からなる分析精度を算出する精度算出部14と、設定部13による設定の変更ごとに、決定木ごとの分岐枝のうち、適正と予測した分析データの個数が最も多い個数の分析データを有した分岐枝の層別条件および分析精度を、累積して記録する記録部15と、記録した分岐枝の層別条件および前記分析精度を、表示装置に出力させる出力部16と、を備える。
【選択図】図1
特許請求の範囲
【請求項1】
属性に関する属性データと、複数の採用変数の値と、判別の結果である適正または不適正の適否データと、を備えた分析データを、複数有した全データ群に対して、決定木判別による分析を支援する決定木判別支援装置であって、
前記全データ群の分析データが格納された格納部と、
入力装置を介して選択した属性データに対応した対応データ群を、格納された前記全データ群から抽出する抽出部と、
前記入力装置を介して、前記対応データ群に対して、前記採用変数の値と、層別条件となる前記採用変数の閾値から決定木が設定されるとともに、前記決定木により判別された分岐枝の適正または不適正の適否の予測結果が、設定される設定部と、
前記対応データ群の前記適否データと、前記設定部で設定された前記予測結果から、前記決定木の適合率および再現率からなる分析精度を算出する精度算出部と、
前記設定部による設定の変更ごとに、前記決定木ごとの分岐枝のうち、適正と予測した前記分析データの個数が最も多い個数の分析データを有した前記分岐枝の層別条件および前記分析精度を、累積して記録する記録部と、
記録した前記分岐枝の層別条件および前記分析精度を、表示装置に出力させる出力部と、を備えることを特徴とする決定木判別支援装置。
発明の詳細な説明
【技術分野】
【0001】
本発明は、決定木判別による分析を支援する決定木判別支援装置に関する。
続きを表示(約 2,000 文字)
【背景技術】
【0002】
この種の技術として、たとえば、特許文献1には、重回帰式における実測値との一致性に関する情報と、統合重回帰式における実測値との一致性に関する情報と、をユーザに出力する重回帰分析装置が提案されている。
【先行技術文献】
【特許文献】
【0003】
特開2022-064707号公報
【発明の概要】
【発明が解決しようとする課題】
【0004】
しかしながら、特許文献1に係る分析装置の目的は、層別による線形重回帰分析の精度向上を検討するためのロジックと画面設計である。したがって、決定木判別による分析精度を向上させるためには、ユーザが、決定木による採用変数の閾値の変更と、分析精度の変化を把握することが重要であり、その分析過程の可読性を担保することはできない。
【0005】
本発明は、このような点に鑑みてなされたものであり、その目的とするところは、分析過程の可読性を担保することにより、決定木判別による分析精度の向上を支援する決定木判別支援装置を提供することにある。
【課題を解決するための手段】
【0006】
前記課題に鑑みて、本発明に係る決定木判別支援装置は、属性に関する属性データと、複数の採用変数の値と、判別の結果である適正または不適正の適否データと、を備えた分析データを、複数有した全データ群に対して、決定木判別による分析を支援する決定木判別支援装置であって、前記全データ群の分析データが格納された格納部と、入力装置を介して、選択した属性データに対応した対応データ群を、格納された前記全データ群から抽出する抽出部と、前記入力装置を介して、前記対応データ群に対して、前記採用変数の値と、層別条件となる前記採用変数の閾値から決定木が設定されるとともに、前記決定木により判別された分岐枝の適正または不適正の適否の予測結果が、設定される設定部と、前記対応データ群の前記適否データと、前記設定部で設定された前記予測結果から、前記決定木の適合率および再現率からなる分析精度を算出する精度算出部と、前記設定部による設定の変更ごとに、前記決定木ごとの分岐枝のうち、適正と予測した前記分析データの個数が最も多い個数の分析データを有した前記分岐枝の層別条件および前記分析精度を、累積して記録する記録部と、記録した前記分岐枝の層別条件および前記分析精度を、表示装置に出力させる出力部と、を備えることを特徴とする。
【発明の効果】
【0007】
本発明によれば、設定部による設定の変更ごとに、決定木ごとの分岐枝のうち、適正と予測した分析データの個数が最も多い個数の分析データを有した分岐枝の層別条件および分析精度を、累積して記録した内容を表示装置に表示することができる。結果として、分析過程の可読性を担保することにより、決定木判別による分析精度の向上を支援することができる。
【図面の簡単な説明】
【0008】
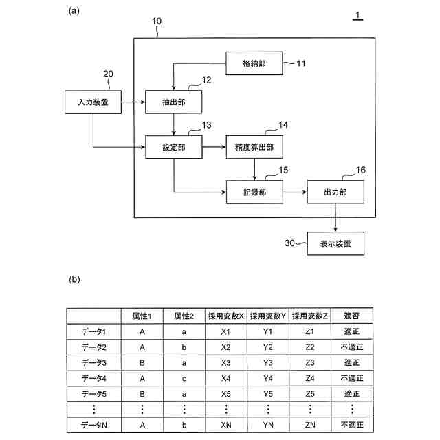
(a)は、決定木判別支援装置のブロック図であり、(b)は、分析データの全データ群の一例を示した図である。
図1に示す決定木判別支援装置の表示装置に表示された、決定木および分析結果の一例を示した図である。
図1に示す決定木判別支援装置の表示装置に表示された、記録部の記録内容を示した図である。
【発明を実施するための形態】
【0009】
以下に、図1~図3を参照しながら、本発明の実施形態に係る決定木判別支援装置を説明する。図1に示すように、本実施形態に係る決定木判別支援装置1は、複数の属性のうち1つの属性に関する属性データと、属性データに紐付けられた複数の採用変数の値と、判別の結果である適正または不適正の適否データと、を備えた分析データを、複数有した全データ群に対して、決定木判別による分析を支援する装置である。たとえば、金属材料または樹脂材料などの材料の組成の割合、製造時の加熱時間等の製造条件を、採用変数として、製造された材料の評価結果(たとえば、引張強度、表面硬さなど)を、決定木判別によりユーザが分析することを支援する装置である。
【0010】
後述する全データ群に対して決定木判別による分析を支援する処理装置10を備えている。処理装置10には、入力装置20と表示装置30とが接続されている。処理装置10は、ハードウエアとして、全データ群および設定条件等を記憶する記憶装置(図示せず)と、分析精度の算出等を行う処理装置(図示ぜす)を備えている。処理装置10は、ソフトウエアとして、格納部11、抽出部12、設定部13、精度算出部14、記録部15、及び出力部16とを備えている。
(【0011】以降は省略されています)
この特許をJ-PlatPat(特許庁公式サイト)で参照する
関連特許
トヨタ自動車株式会社
電池
6日前
トヨタ自動車株式会社
車両
今日
トヨタ自動車株式会社
電池
6日前
トヨタ自動車株式会社
車両
15日前
トヨタ自動車株式会社
電池
14日前
トヨタ自動車株式会社
配管
15日前
トヨタ自動車株式会社
車体
28日前
トヨタ自動車株式会社
車両
28日前
トヨタ自動車株式会社
方法
28日前
トヨタ自動車株式会社
車両
14日前
トヨタ自動車株式会社
車両
28日前
トヨタ自動車株式会社
車両
29日前
トヨタ自動車株式会社
電池
29日前
トヨタ自動車株式会社
電池
20日前
トヨタ自動車株式会社
蓄電池
28日前
トヨタ自動車株式会社
電動車
14日前
トヨタ自動車株式会社
モータ
27日前
トヨタ自動車株式会社
ロータ
15日前
トヨタ自動車株式会社
電動車
15日前
トヨタ自動車株式会社
反応容器
14日前
トヨタ自動車株式会社
蓄電装置
6日前
トヨタ自動車株式会社
蓄電装置
6日前
トヨタ自動車株式会社
蓄電装置
6日前
トヨタ自動車株式会社
蓄電装置
6日前
トヨタ自動車株式会社
蓄電装置
6日前
トヨタ自動車株式会社
制御装置
15日前
トヨタ自動車株式会社
蓄電装置
6日前
トヨタ自動車株式会社
制御装置
14日前
トヨタ自動車株式会社
蓄電装置
6日前
トヨタ自動車株式会社
蓄電装置
6日前
トヨタ自動車株式会社
制御装置
15日前
トヨタ自動車株式会社
エンジン
15日前
トヨタ自動車株式会社
蓄電装置
7日前
トヨタ自動車株式会社
制御装置
15日前
トヨタ自動車株式会社
塗工装置
6日前
トヨタ自動車株式会社
車両装置
6日前
続きを見る
他の特許を見る