TOP
|
特許
|
意匠
|
商標
特許ウォッチ
Twitter
他の特許を見る
公開番号
2025176490
公報種別
公開特許公報(A)
公開日
2025-12-04
出願番号
2024082675
出願日
2024-05-21
発明の名称
集電体、電極、電池、電極の製造方法、及び電池の製造方法
出願人
パナソニックホールディングス株式会社
,
日本黒鉛工業株式会社
,
トヨタ自動車株式会社
代理人
弁理士法人青藍国際特許事務所
主分類
H01M
4/70 20060101AFI20251127BHJP(基本的電気素子)
要約
【課題】電極層との剥離強度を向上させることに適した集電体を提供する。
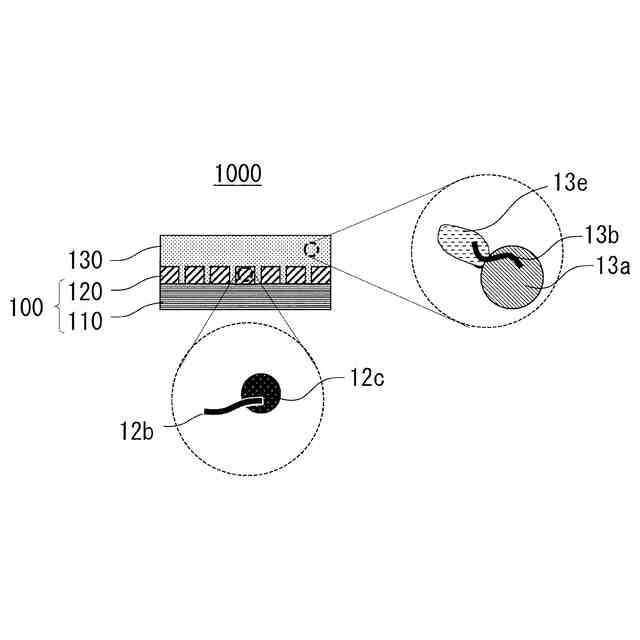
【解決手段】本開示の集電体100は、基板110と、基板110を被覆する被覆層120と、を備える。集電体100の一例では、被覆層120側の表面は、当該表面の凹部12s及び凸部12tから構成されるストライプ形状を有し、被覆層側の表面の少なくとも一部の領域において、凸部12tの線密度が2.5本/mmよりも大きい。凸部12tの線密度は、6.8本/mm以下でありうる。集電体100の別の一例では、被覆層120側の表面の少なくとも一部の領域において、入射角60度での被覆層120側の表面の光沢度が19以上60以下である。被覆層120は、導電性カーボン12c及び第1バインダー12bを含みうる。
【選択図】図1
特許請求の範囲
【請求項1】
基板と、
前記基板を被覆する被覆層と、
を備え、
前記被覆層側の表面は、当該表面の凹部及び凸部から構成されるストライプ形状を有し、
前記被覆層側の表面の少なくとも一部の領域において、前記凸部の線密度が2.5本/mmよりも大きい、
集電体。
続きを表示(約 710 文字)
【請求項2】
前記凸部の線密度が6.8本/mm以下である、
請求項1に記載の集電体。
【請求項3】
前記領域において、入射角60度での前記被覆層側の表面の光沢度が19以上60以下である、
請求項1に記載の集電体。
【請求項4】
基板と、
前記基板を被覆する被覆層と、
を備え、
前記被覆層側の表面の少なくとも一部の領域において、入射角60度での前記被覆層側の表面の光沢度が19以上60以下である、
集電体。
【請求項5】
前記領域において、前記被覆層側の表面の最大高さ粗さRzが1.0μm以上である、
請求項1から4のいずれか1項に記載の集電体。
【請求項6】
前記被覆層は、導電性カーボン及び第1バインダーを含む、
請求項1から4のいずれか1項に記載の集電体。
【請求項7】
前記第1バインダーは、ポリイミド、ポリエーテルスルホン、及びポリフッ化ビニリデンからなる群より選択される少なくとも1つを含む、
請求項6に記載の集電体。
【請求項8】
前記基板は、アルミニウム又はアルミニウム合金を含む、
請求項1から4のいずれか1項に記載の集電体。
【請求項9】
請求項1から4のいずれか1項に記載の集電体と、
前記集電体の上に配置された電極層と、
を備えた、電極。
【請求項10】
前記電極層は、固体電解質を含む、
請求項9に記載の電極。
(【請求項11】以降は省略されています)
発明の詳細な説明
【技術分野】
【0001】
本開示は、集電体、電極、電池、電極の製造方法、及び電池の製造方法に関する。
続きを表示(約 1,900 文字)
【背景技術】
【0002】
集電体は、電池、キャパシタなどの電気化学デバイスに不可欠な部品である。集電体の上に活物質層などの電極層が配置される。集電体と電極層との密着性は、電気化学デバイスの性能に影響を及ぼす。密着性を向上させることが可能な集電体として、基板及び被覆層を有する集電体が知られている。
【0003】
特許文献1から3には、ストライプ状の被覆層を有する集電体が開示されている。
【先行技術文献】
【特許文献】
【0004】
特開2014-199738号公報
特開2015-106525号公報
特開2019-087489号公報
【発明の概要】
【発明が解決しようとする課題】
【0005】
本開示は、電極層との剥離強度を向上させることに適した集電体を提供することを目的とする。
【課題を解決するための手段】
【0006】
本開示は、1つの側面において、
基板と、
前記基板を被覆する被覆層と、
を備え、
前記被覆層側の表面は、当該表面の凹部及び凸部から構成されるストライプ形状を有し、
前記被覆層側の表面の少なくとも一部の領域において、前記凸部の線密度が2.5本/mmよりも大きい、
集電体を提供する。
【0007】
本開示は、別の側面において、
基板と、
前記基板を被覆する被覆層と、
を備え、
前記被覆層側の表面の少なくとも一部の領域において、入射角60度での前記被覆層側の表面の光沢度が19以上60以下である、
集電体を提供する。
【発明の効果】
【0008】
本開示によれば、電極層との剥離強度を向上させることに適した集電体を提供できる。
【図面の簡単な説明】
【0009】
図1は、実施の形態1に係る集電体の模式的な断面図である。
図2は、集電体の被覆層側の表面の光沢度の測定方法を示す模式図である。
図3は、実施の形態2に係る電極の模式的な断面図である。
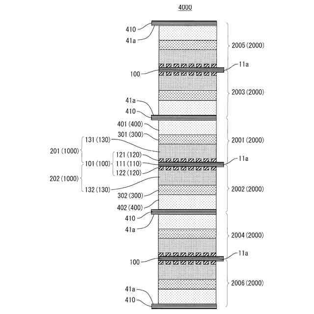
図4は、実施の形態3に係る電池の模式的な断面図である。
図5は、変形例1に係る電池の模式的な断面図である。
図6は、変形例2に係る電池の模式的な断面図である。
図7Aは、実施例1-1の集電体の表面の反射電子組成像である。
図7Bは、実施例1-2の集電体の表面の反射電子組成像である。
図8Aは、比較例1-1の集電体の表面の反射電子組成像である。
図8Bは、比較例1-2の集電体の表面の反射電子組成像である。
図8Cは、比較例1-3の集電体の表面の反射電子組成像である。
図8Dは、比較例1-4の集電体の表面の反射電子組成像である。
図8Eは、比較例1-5の集電体の表面の反射電子組成像である。
図9Aは、実施例1-1、実施例1-2及び比較例1-1から1-5の電極における、入射角60度での集電体の表面のMD方向に沿う光沢度と、電極層と集電体との剥離強度と、の関係を示すグラフである。
図9Bは、実施例1-1、実施例1-2及び比較例1-1から1-5の電極における、入射角60度での集電体の表面のTD方向に沿う光沢度と、電極層と集電体との剥離強度と、の関係を示すグラフである。
図10Aは、実施例2-1の集電体の表面の反射電子組成像である。
図10Bは、実施例2-2の集電体の表面の反射電子組成像である。
図10Cは、実施例2-3の集電体の表面の反射電子組成像である。
図11は、比較例2-1の集電体の表面の反射電子組成像である。
図12は、実施例2-1から2-3及び比較例2-1の電極における、剥離強度と電極層密度との関係を示すグラフである。
【発明を実施するための形態】
【0010】
(本開示の基礎となった知見)
集電体を改良することは、電極層と集電体との密着性を向上させるための1つの手段である。電極層と集電体との密着性は、電極層と集電体との相互作用に基づいている。本発明者らは、集電体の被覆層の表面形態に着目し、被覆層の表面形態の改良によって、電極層と集電体との密着性を向上させることを試み、本開示の技術を想到するに至った。
(【0011】以降は省略されています)
この特許をJ-PlatPat(特許庁公式サイト)で参照する
関連特許
東ソー株式会社
絶縁電線
1か月前
APB株式会社
蓄電セル
1か月前
ローム株式会社
半導体装置
1か月前
マクセル株式会社
電源装置
1か月前
株式会社東芝
端子台
1か月前
株式会社GSユアサ
蓄電装置
29日前
三菱電機株式会社
回路遮断器
23日前
株式会社ホロン
冷陰極電子源
1か月前
株式会社GSユアサ
蓄電装置
15日前
富士電機株式会社
電磁接触器
15日前
株式会社GSユアサ
蓄電装置
1か月前
株式会社GSユアサ
蓄電装置
1か月前
トヨタ自動車株式会社
蓄電装置
7日前
トヨタ自動車株式会社
バッテリ
1か月前
日新イオン機器株式会社
基板処理装置
1か月前
ホシデン株式会社
複合コネクタ
9日前
日本特殊陶業株式会社
保持装置
1か月前
北道電設株式会社
配電具カバー
1か月前
トヨタ自動車株式会社
冷却構造
1か月前
株式会社トクミ
ケーブル
1日前
日本特殊陶業株式会社
保持装置
28日前
トヨタ自動車株式会社
蓄電装置
1か月前
大電株式会社
電線又はケーブル
7日前
ローム株式会社
半導体装置
1か月前
住友電装株式会社
コネクタ
1か月前
日亜化学工業株式会社
半導体レーザ素子
1か月前
トヨタ自動車株式会社
電池パック
1か月前
株式会社レゾナック
冷却器
23日前
住友電装株式会社
コネクタ
15日前
トヨタ自動車株式会社
密閉型電池
1か月前
ローム株式会社
半導体モジュール
16日前
日本無線株式会社
レーダアンテナ
1か月前
甲神電機株式会社
変流器及び零相変流器
1か月前
矢崎総業株式会社
コネクタ
15日前
株式会社デンソー
電子装置
1か月前
株式会社トクヤマ
シリコンエッチング液
1か月前
続きを見る
他の特許を見る