TOP
|
特許
|
意匠
|
商標
特許ウォッチ
Twitter
他の特許を見る
10個以上の画像は省略されています。
公開番号
2025176488
公報種別
公開特許公報(A)
公開日
2025-12-04
出願番号
2024082672
出願日
2024-05-21
発明の名称
検査装置、記録装置、検査システム、検査方法、記録方法、及びプログラム
出願人
日本電気株式会社
代理人
個人
,
個人
主分類
G01R
31/68 20200101AFI20251127BHJP(測定;試験)
要約
【課題】検査した端子金具がどれであるかを特定できる検査装置、記録装置、検査システム、検査方法、記録方法、及びプログラムを提供する。
【解決手段】検査装置は、コネクタに挿入される複数の端子金具の内、各端子金具を押圧方向に押圧可能な検査プローブを有する押圧部材と、導電性を有し、検査プローブが挿通された第一導電部材と、第一導電部材に対向した対向面を有し、各端子金具に対応した接点が対向面に複数設けられた基板と、を備え、基板は、コネクタ上に配置され、コネクタへの検査プローブの挿入時において、第一導電部材と接点とが導通する。
【選択図】図17
特許請求の範囲
【請求項1】
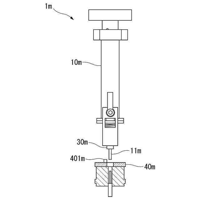
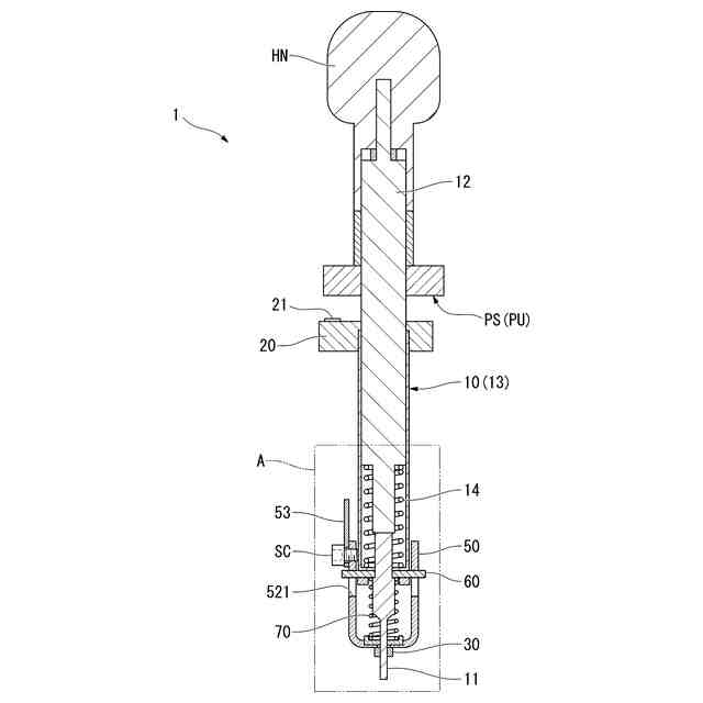
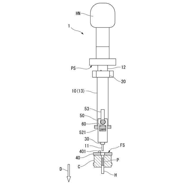
コネクタに挿入される複数の端子金具の内、各端子金具を押圧方向に押圧可能な検査プローブを有する押圧部材と、
導電性を有し、前記検査プローブが挿通された第一導電部材と、
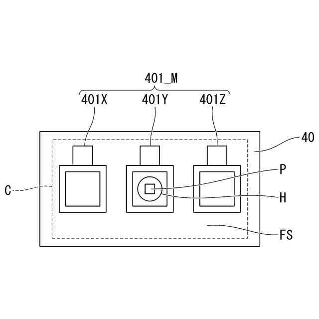
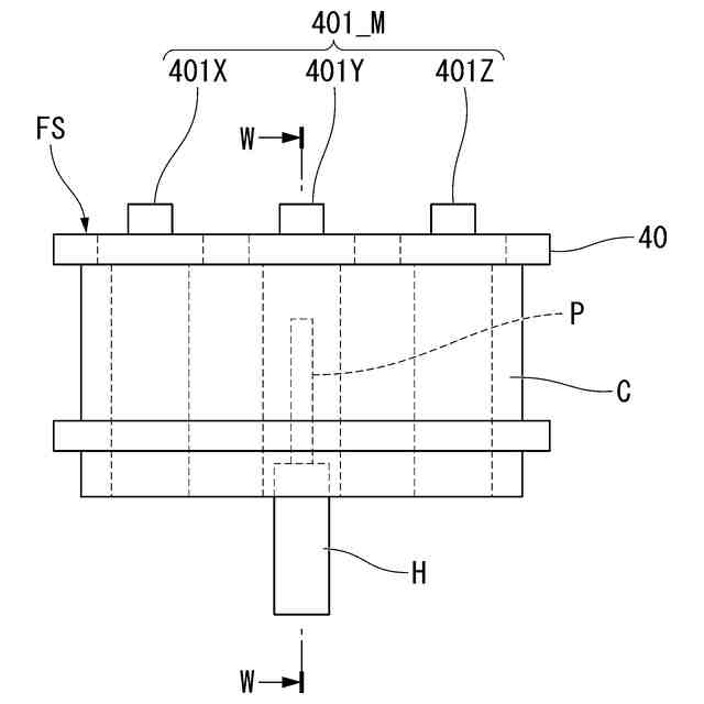
前記第一導電部材に対向した対向面を有し、各端子金具に対応した接点が前記対向面に複数設けられた基板と、
を備え、
前記基板は、前記コネクタ上に配置され、
前記コネクタへの前記検査プローブの挿入時において、前記第一導電部材と前記接点とが導通する
検査装置。
続きを表示(約 2,300 文字)
【請求項2】
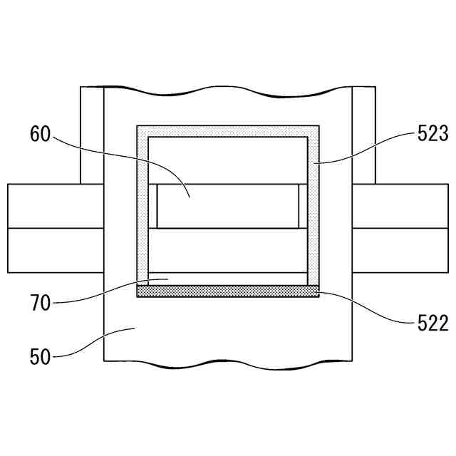
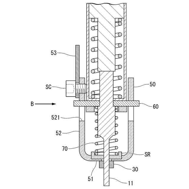
前記押圧部材の一部に固定され、窓部を有するストッパと、
前記検査プローブとともに移動し、前記窓部から突出した突出部と、
前記ストッパと、前記突出部と、の間に配置され、前記突出部から押圧を受ける圧縮コイルばねと、
をさらに備え、
前記ストッパ及び前記圧縮コイルばねには、前記検査プローブが挿通されており、
前記窓部における前記突出部の位置が変化する
請求項1に記載の検査装置。
【請求項3】
前記窓部において、前記押圧方向に交差し且つ最も前記基板に近い一辺には導通性を有する第二導電部材が設けられており、
前記端子金具の脱落時又は不在時において、前記突出部と前記第二導電部材とが導通する
請求項2に記載の検査装置。
【請求項4】
前記押圧部材は、押圧面を有する把手部を有し、
前記押圧部材の一部に固定され、前記押圧面との接触を判定可能な押圧判定部をさらに備える
請求項1から3のいずれか一項に記載の検査装置。
【請求項5】
コネクタに挿入される複数の端子金具の内、各端子金具を押圧方向に押圧可能な検査プローブを有する押圧部材と、
導電性を有し、前記検査プローブが挿通された第一導電部材と、
前記第一導電部材に対向した対向面を有し、各端子金具に対応した接点が前記対向面に複数設けられた基板と、
前記押圧部材の一部に固定され、窓部を有するストッパと、
前記検査プローブとともに移動し、前記窓部から突出した突出部と、
前記ストッパと、前記突出部と、の間に配置され、前記突出部から押圧を受ける圧縮コイルばねと、
を備え、
前記窓部において、前記押圧方向に交差し且つ最も前記基板に近い一辺には導通性を有する第二導電部材が設けられている検査装置を用いて、
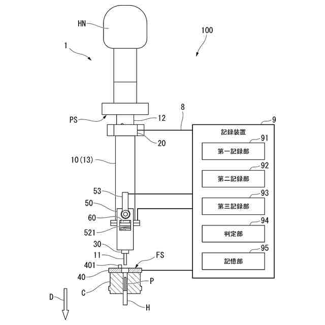
前記コネクタへの前記検査プローブの挿入時において、前記第一導電部材と前記接点との間で導通があったか否かを記録する第一記録部と、
前記突出部と前記第二導電部材との間で導通があったか否かを記録する第二記録部と、
を含む
記録装置。
【請求項6】
前記第一記録部と、前記第二記録部と、の対応関係によって、前記端子金具の不在又は脱落を判定する判定部をさらに備える
請求項5に記載の記録装置。
【請求項7】
請求項5又は請求項6に記載の記録装置と、
前記検査装置と、
を備える
検査システム。
【請求項8】
コネクタに挿入される複数の端子金具の内、各端子金具を押圧方向に押圧可能な検査プローブを有する押圧部材と、
導電性を有し、前記検査プローブが挿通された第一導電部材と、
前記第一導電部材に対向した対向面を有し、各端子金具に対応した接点が前記対向面に複数設けられた基板と、
を備える検査装置を用いて、
前記基板を、前記コネクタ上に配置するステップと、
前記コネクタへの前記検査プローブの挿入時において、前記第一導電部材と前記接点とが導通したか否かを判定するステップと、
を含む
検査方法。
【請求項9】
コネクタに挿入される複数の端子金具の内、各端子金具を押圧方向に押圧可能な検査プローブを有する押圧部材と、
導電性を有し、前記検査プローブが挿通された第一導電部材と、
前記第一導電部材に対向した対向面を有し、各端子金具に対応した接点が前記対向面に複数設けられた基板と、
前記押圧部材の一部に固定され、窓部を有するストッパと、
前記検査プローブとともに移動し、前記窓部から突出した突出部と、
前記ストッパと、前記突出部と、の間に配置され、前記突出部から押圧を受ける圧縮コイルばねと、
を備え、
前記窓部において、前記押圧方向に交差し且つ最も前記基板に近い一辺には導通性を有する第二導電部材が設けられている検査装置を用いて、
前記コネクタへの前記検査プローブの挿入時において、前記第一導電部材と前記接点との間で導通があったか否かを記録するステップと、
前記突出部と前記第二導電部材との間で導通があったか否かを記録するステップと、
を含む
記録方法。
【請求項10】
コネクタに挿入される複数の端子金具の内、各端子金具を押圧方向に押圧可能な検査プローブを有する押圧部材と、
導電性を有し、前記検査プローブが挿通された第一導電部材と、
前記第一導電部材に対向した対向面を有し、各端子金具に対応した接点が前記対向面に複数設けられた基板と、
前記押圧部材の一部に固定され、窓部を有するストッパと、
前記検査プローブとともに移動し、前記窓部から突出した突出部と、
前記ストッパと、前記突出部と、の間に配置され、前記突出部から押圧を受ける圧縮コイルばねと、
を備え、
前記窓部において、前記押圧方向に交差し且つ最も前記基板に近い一辺には導通性を有する第二導電部材が設けられている検査装置を用いて、
前記コネクタへの前記検査プローブの挿入時において、前記第一導電部材と前記接点との間で導通があったか否かを記録するステップと、
前記突出部と前記第二導電部材との間で導通があったか否かを記録するステップと、
をコンピュータに実行させるプログラム。
発明の詳細な説明
【技術分野】
【0001】
本開示は、検査装置、記録装置、検査システム、検査方法、記録方法、及びプログラムに関する。
続きを表示(約 2,100 文字)
【背景技術】
【0002】
コンタクトピンと、コネクタと、の係止状態の確認に、検査装置を用いることが知られている。
【0003】
例えば、特許文献1には、端子を係合させるランスとの接触によって検査治具内の回路が導通することで、コネクタとの係止状態を確認する検査治具が開示されている。
【先行技術文献】
【特許文献】
【0004】
特開平10-12348号公報
【発明の概要】
【発明が解決しようとする課題】
【0005】
特許文献1には、「コネクタハウジングと一体に設けたランスが、コネクタハウジングに挿入した端子に係合しているか否かを検査するコネクタの検査治具であって、ランスが端子に係合している状態のときには先端部がランスの先端および端子にそれぞれ接触し、ランスが端子に係合していない状態のときには先端部がランスの先端より奥部に入り込むランスチェックピンと、ランスが端子に係合している状態のときにはランスチェックピンと接触して導通し、ランスが端子に係合していない状態のときにはランスチェックピンと接触せず導通しない導通検出ピンとを備えたコネクタ検査治具」が開示されている。
上記開示のコネクタ検査治具は、治具内にある回路の導通によって、検査結果を判定する機能を有している。しかしながら、コネクタ内にあるどの端子金具を確認しているかを人の目により行うと、検査漏れを起こす可能性がある。
こうしたことから、検査した端子金具がどれであるかを特定したいといった需要がある。
【0006】
本開示の目的は、上述した課題を解決する検査装置、記録装置、検査システム、検査方法、記録方法、及びプログラムを提供することにある。
【課題を解決するための手段】
【0007】
本開示の検査装置は、コネクタに挿入される複数の端子金具の内、各端子金具を押圧方向に押圧可能な検査プローブを有する押圧部材と、導電性を有し、前記検査プローブが挿通された第一導電部材と、前記第一導電部材に対向した対向面を有し、各端子金具に対応した接点が前記対向面に複数設けられた基板と、を備え、前記基板は、前記コネクタ上に配置され、前記コネクタへの前記検査プローブの挿入時において、前記第一導電部材と前記接点とが導通する。
【0008】
本開示の記録装置は、コネクタに挿入される複数の端子金具の内、各端子金具を押圧方向に押圧可能な検査プローブを有する押圧部材と、導電性を有し、前記検査プローブが挿通された第一導電部材と、前記第一導電部材に対向した対向面を有し、各端子金具に対応した接点が前記対向面に複数設けられた基板と、前記押圧部材の一部に固定され、窓部を有するストッパと、前記検査プローブとともに移動し、前記窓部から突出した突出部と、前記ストッパと、前記突出部と、の間に配置され、前記突出部から押圧を受ける圧縮コイルばねと、を備え、前記窓部において、前記押圧方向に交差し且つ最も前記基板に近い一辺には導通性を有する第二導電部材が設けられている検査装置を用いて、前記コネクタへの前記検査プローブの挿入時において、前記第一導電部材と前記接点との間で導通があったか否かを記録する第一記録部と、前記突出部と前記第二導電部材との間で導通があったか否かを記録する第二記録部と、を含む記録装置。
【0009】
本開示の検査方法は、コネクタに挿入される複数の端子金具の内、各端子金具を押圧方向に押圧可能な検査プローブを有する押圧部材と、導電性を有し、前記検査プローブが挿通された第一導電部材と、前記第一導電部材に対向した対向面を有し、各端子金具に対応した接点が前記対向面に複数設けられた基板と、を備える検査装置を用いて、前記基板を、前記コネクタ上に配置するステップと、前記コネクタへの前記検査プローブの挿入時において、前記第一導電部材と前記接点とが導通したか否かを判定するステップと、を含む。
【0010】
本開示の記録方法は、コネクタに挿入される複数の端子金具の内、各端子金具を押圧方向に押圧可能な検査プローブを有する押圧部材と、導電性を有し、前記検査プローブが挿通された第一導電部材と、前記第一導電部材に対向した対向面を有し、各端子金具に対応した接点が前記対向面に複数設けられた基板と、前記押圧部材の一部に固定され、窓部を有するストッパと、前記検査プローブとともに移動し、前記窓部から突出した突出部と、前記ストッパと、前記突出部と、の間に配置され、前記突出部から押圧を受ける圧縮コイルばねと、を備え、前記窓部において、前記押圧方向に交差し且つ最も前記基板に近い一辺には導通性を有する第二導電部材が設けられている検査装置を用いて、前記コネクタへの前記検査プローブの挿入時において、前記第一導電部材と前記接点との間で導通があったか否かを記録するステップと、前記突出部と前記第二導電部材との間で導通があったか否かを記録するステップと、を含む。
(【0011】以降は省略されています)
この特許をJ-PlatPat(特許庁公式サイト)で参照する
関連特許
日本電気株式会社
監視装置
1か月前
日本電気株式会社
特定装置
11日前
日本電気株式会社
管理装置
1か月前
日本電気株式会社
監視装置
1か月前
日本電気株式会社
異常検知装置
1か月前
日本電気株式会社
光モジュール
1か月前
日本電気株式会社
海底分岐装置
1か月前
日本電気株式会社
推論装置および推論方法
1か月前
日本電気株式会社
ラインカード及びイジェクタ
1か月前
日本電気株式会社
時刻維持装置および時刻維持方法
1か月前
日本電気株式会社
考査装置、考査方法、プログラム
1か月前
日本電気株式会社
考査装置、考査方法、プログラム
1か月前
日本電気株式会社
交渉装置、交渉方法及びプログラム
1か月前
日本電気株式会社
交渉装置、交渉方法及びプログラム
19日前
日本電気株式会社
測定装置、測定方法及びプログラム
今日
日本電気株式会社
ボロメータアレイ、及び光検出方法
13日前
日本電気株式会社
レコメンド装置およびレコメンド方法
1か月前
日本電気株式会社
監視装置、監視方法、及びプログラム
1か月前
日本電気株式会社
端末、端末の制御方法及びプログラム
1か月前
日本電気株式会社
情報処理装置、方法、及び、プログラム
4日前
日本電気株式会社
情報処理装置、方法、及び、プログラム
4日前
日本電気株式会社
安否確認支援装置、方法及びプログラム
1か月前
日本電気株式会社
乗車誘導計画装置および乗車誘導計画方法
25日前
日本電気株式会社
情報処理装置、情報処理方法、プログラム
4日前
日本電気株式会社
情報処理装置、情報処理方法、プログラム
1か月前
日本電気株式会社
情報処理装置、情報処理方法、プログラム
11日前
日本電気株式会社
店舗端末、情報処理方法、及びプログラム
1か月前
日本電気株式会社
発話認識装置、プログラム及び発話認識方法
13日前
日本電気株式会社
処理システム、処理方法、およびプログラム
1か月前
日本電気株式会社
行動推奨装置、行動推奨方法及びプログラム
1か月前
日本電気株式会社
制御装置、無線端末、方法、及びプログラム
12日前
日本電気株式会社
合意判定装置、合意判定方法及びプログラム
19日前
日本電気株式会社
経路選択装置、経路選択方法及びプログラム
1か月前
日本電気株式会社
処理システム、処理方法、およびプログラム
1か月前
日本電気株式会社
健康管理装置、健康管理方法及びプログラム
1か月前
日本電気株式会社
情報処理装置、情報処理方法及びプログラム
4日前
続きを見る
他の特許を見る