TOP
|
特許
|
意匠
|
商標
特許ウォッチ
Twitter
他の特許を見る
公開番号
2025173410
公報種別
公開特許公報(A)
公開日
2025-11-27
出願番号
2024078986
出願日
2024-05-14
発明の名称
上揚力抑制装置及び構造物ならびに上揚力抑制装置の取付方法
出願人
株式会社ビー・ビー・エム
代理人
弁理士法人磯野国際特許商標事務所
主分類
E01D
19/04 20060101AFI20251119BHJP(道路,鉄道または橋りょうの建設)
要約
【課題】部品点数や設置作業の手間を少なくすることができる上浮上抑制装置を提案すること。
【解決手段】上揚力抑制装置10は、上部構造体100及び下部構造体200の間に支承部50と共に配置される上揚力抑制装置であって、上部構造体に桁取付ボルト12を介して接続する上側レールプレート11Aと、下部構造体にアンカーボルト17を介して接続される下側レールプレート16Aと、前記上側レールプレートを前記直線方向に移動自在に係合する第1溝部14を有すると共に、前記下側レールプレートを直線方向に直交する直交方向に移動自在に係合する第2溝部15を有するガイド部材13と、を備える。
【選択図】図1
特許請求の範囲
【請求項1】
上部構造体及び下部構造体の間に支承部と共に配置される上揚力抑制装置であって、
前記上部構造体に桁取付ボルトを介して接続する上側レールプレートと、
前記下部構造体にアンカーボルトを介して接続される下側レールプレートと、
前記上側レールプレートを直線方向に移動自在に係合する第1溝部を有すると共に、前記下側レールプレートを前記直線方向に直交する直交方向に移動自在に係合する第2溝部を有するガイド部材と、を備える上揚力抑制装置。
続きを表示(約 1,500 文字)
【請求項2】
前記上側レールプレートは、下面側に上側レール水平面を有し、
前記ガイド部材は、前記上側レール水平面に対面する第1水平当接面を第1溝部の第1溝開口に連続して備え、
前記下側レールプレートは、下面側に下側レール水平面を有し、
前記ガイド部材は、前記下側レール水平面に対面する第2水平当接面を第2溝部の第2溝開口に連続して備える請求項1に記載の上揚力抑制装置。
【請求項3】
前記下側レールプレートは、長手方向に沿って、頂部又は/及び曲面部を有する形状であり、
前記ガイド部材は、設置した基準垂直位置から3度以内の傾斜に対して、前記第2溝部内に接触しない形状、又は、前記第2溝部内に接触している前記頂部又は前記曲面部が一箇所となる形状に、前記第2溝部の断面形状が形成されている請求項1に記載の上揚力抑制装置。
【請求項4】
前記下側レールプレートは、長手方向に沿って、前記ガイド部材の第2溝部の上面又は/及び側面に対面する位置に、曲面部を有する形状であり、
前記ガイド部材は、前記曲面部を有する前記下側レールプレートに相似形となる断面形状の前記第2溝部を有する請求項1に記載の上揚力抑制装置。
【請求項5】
前記下側レールプレートは、長手方向に直交する断面形状において、前記ガイド部材の上面と一方の側面の間、及び、前記上面と他方の側面の間に対向する位置にそれぞれ湾曲部を有する形状、又は、前記断面形状において矩形であり、
前記ガイド部材は、前記第2溝部が断面形状を、矩形、又は、前記湾曲部を有する前記下側レールプレートと相似形状である請求項1に記載の上揚力抑制装置。
【請求項6】
前記上側レールプレートは、長手方向に沿って、前記ガイド部材の第1溝部の上面又は/及び側面に対面する位置に、前記下側レールプレートの頂部又は/及び曲面部と同じ形状を有し、
前記ガイド部材は、設置した基準垂直位置から3度以内の傾斜に対して、前記第1溝部内に接触しない形状、又は、前記第1溝部内に接触している前記頂部又は前記曲面部が一箇所となる形状に、前記第1溝部の断面形状が形成されている請求項3に記載の上揚力抑制装置。
【請求項7】
前記上側レールプレート及び前記下側レールプレートは、長手方向に沿って、頂部又は/及び曲面部を有する形状であり、
前記ガイド部材は、前記頂部又は/及び前記曲面部を有する前記上側レールプレート及び前記下側レールプレートに相似形となる断面形状の前記第1溝部及び第2溝部を有する請求項1に記載の上揚力抑制装置。
【請求項8】
前記下側レールプレートは、前記アンカーボルトの一端に着脱自在に接続し、下側レールプレートの底面に配置するカプラーと、前記下側レールプレートの底面から当該下側レールプレートの下側レール上面まで貫通する貫通穴に挿通して前記カプラーに着脱自在に接続するカプラー取付ボルトとを備えている請求項1に記載の上揚力抑制装置。
【請求項9】
前記上側レールプレートは、前記上部構造体の短手方向に沿って配置され、
前記下側レールプレートは、前記上側レールプレートよりも寸法が短い請求項1に記載の上揚力抑制装置。
【請求項10】
請求項1から請求項9のいずれかに記載の上揚力抑制装置を備える構造物であり、
前記上部構造体と前記下部構造体との間に支承部と共に前記上揚力抑制装置が設置されている構造物。
(【請求項11】以降は省略されています)
発明の詳細な説明
【技術分野】
【0001】
本発明は、道路橋や鉄道橋など各種の橋をはじめとする構造物に適用される上揚力抑制装置及び構造物ならびに上揚力抑制装置の取付方法に関するものである。
続きを表示(約 3,100 文字)
【背景技術】
【0002】
道路橋や鉄道橋などの各種の橋では、波風や地震による振動や揺れの影響を回避することができない。そのため、この種の構造物では、水平方向の移動を緩和できると共に、鉛直方向の外力による影響を抑制する構成を備えていることが望まれる。
そこで、従来、上部構造と下部構造との間に、支承部を介して上揚力に抵抗する装置を設置する構成が知られている(例えば、特許文献1参照)。
特許文献1に記載の装置では、支承を介して積層された上部構造と下部構造との間に設置され、前記下部構造に対する前記上部構造の浮上りを阻止する浮上り阻止部材が設けられた上揚力抵抗装置として記載されている。さらに、この上揚力抵抗装置は、前記上部構造側に上部溝が水平方向に形成され、前記下部構造側に下部溝が前記上部溝に交差する形で水平方向に形成され、前記浮上り阻止部材が前記上部溝および前記下部溝に鉛直方向に挿通されている構成である。さらに、浮き上り阻止部材は、上部溝及び下部溝に挿通されるアンカーバーと、アンカーバーの上下両端に取り付けられて上部溝を設けた上プレート及び下部溝を設けた下プレートとを挟み込む上向き力抵抗プレートとを備えている。
【先行技術文献】
【特許文献】
【0003】
特開2007-154569号公報
【発明の概要】
【発明が解決しようとする課題】
【0004】
しかし、特許文献1の装置では、上プレートの中央に上部溝が形成され、下プレートの中央に下部溝が形成されている。そのため、上プレートに上部構造物を接続するためのボルト、及び、下プレートを下部構造物に接続するためのボルトが、それぞれ、上部溝及び下部溝を挟んだ両側に配置する必要があり、部品点数が多くなってしまうと共に、設置作業も多数の手間を必要としている。
【0005】
本発明は、前記した構成に鑑みて創案されたものであり、部品点数や設置作業の手間を少なくすることができる上揚力抑制装置及び構造物ならびに上揚力抑制装置の取付方法を提案することを課題とする。
【課題を解決するための手段】
【0006】
前記課題を解決するための本発明に係る上揚力抑制装置は、上部構造体及び下部構造体の間に支承部と共に配置される上揚力抑制装置であって、前記上部構造体に桁取付ボルトを介して接続する上側レールプレートと、前記下部構造体にアンカーボルトを介して接続される下側レールプレートと、前記上側レールプレートを直線方向に移動自在に係合する第1溝部を有すると共に、前記下側レールプレートを直線方向に直交する直交方向に移動自在に係合する第2溝部を有するガイド部材と、を備える構成とした。
【0007】
前記課題を解決するための本発明に係る構造物は、前記上揚力抑制装置を備える構造物であり、前記上部構造体と前記下部構造体との間に支承部と共に前記上揚力抑制装置が設置されている構成を備えている。
また、前記課題を解決するための本発明に係る上揚力抑制装置の取付方法は、上部構造体及び下部構造体の間に設置される上揚力抑制装置の取付方法において、下側レールプレートをカプラー及びカプラー取付ボルトを介して下部構造体に設けたアンカーボルトに取り付ける工程と、第1溝部を上側に有すると共に、第2溝部を前記第1溝部の下側に前記第1溝部と直交方向に有するガイド部材を、前記第2溝部に前記下側レールプレートを挿通させて、前記ガイド部材を配置する工程と、前記ガイド部材の第1溝部に前記下側レールプレートに直交する方向に、長手方向に間隔を隔てて複数の桁取付ボルトを有する上側レールプレートを挿通させて、前記上側レールプレートを配置する工程と、前記上側レールプレートの桁取付ボルトを上部構造体の桁部材に取り付ける設置工程と、を含むこととした。
【発明の効果】
【0008】
本発明に係る上揚力抑制装置及び構造物によれば、ガイド部材の第1溝部に上側レールプレートを、ガイド部材の第2溝部に下側レールプレートを移動自在に配置できるので、上側レールプレートに桁取付ボルトを一例で配置でき、下側レールプレートにアンカーボルトを一列で配置できる。そのため、本発明に係る上揚力抑制装置は、部品点数や設置作業の手間を少なくすることができる。
【図面の簡単な説明】
【0009】
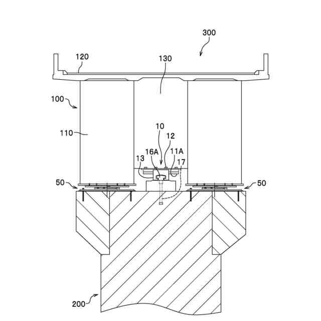
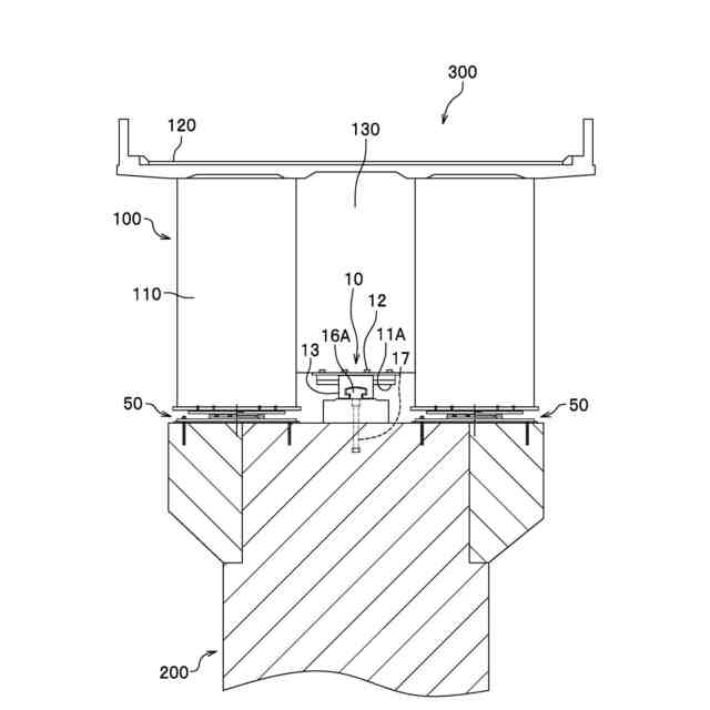
第1実施形態に係る上揚力抑制装置を設置した一例を示す構造物の垂直方向の断面を模式的に示す断面図である。
第1実施形態に係る上揚力抑制装置を設置した一例を示す構造物において上部構造を省略して示す模式図である。
第1実施形態に係る上揚力抑制装置の一部を省略して例示する側面図である。
第1実施形態に係る上揚力抑制装置の一部を省略して例示する正面図である。
第1実施形態に係る上揚力抑制装置の一部を省略して例示する分解斜視図である。
図5のVI-VI線における断面図である。
第1実施形態に係る上揚力抑制装置のガイド部材及び上側移動部が傾斜した状態を模式的に示す側面図である。
図7Aのガイド部材及び下側レールプレートを拡大して模式的に示す模式図である。
実施形態に係る上揚力抑制装置の取付方法を示すフローチャートである。
第2実施形態に係る上揚力抑制装置の一部を省略して例示する側面図である。
第2実施形態に係る上揚力抑制装置の一部を省略して例示する正面図である。
第2実施形態に係る上揚力抑制装置のガイド部材が傾斜した状態を模式的に示す側面図である。
図9Aのガイド部材及び下側レールプレートを拡大して模式的に示す模式図である。
第3実施形態に係る上揚力抑制装置の一部を省略して例示する側面図である。
第3実施形態に係る上揚力抑制装置の一部を省略して例示する正面図である。
第3実施形態に係る上揚力抑制装置のガイド部材が傾斜した状態を模式的に示す側面図である。
図10Aのガイド部材及び下側レールプレートを拡大して模式的に示す模式図である。
本発明に係る上揚力抑制装置の下側レールプレートの変形例を例示する模式図である。
本発明に係る上揚力抑制装置のガイド部材の変形例を示す側面図である。
【発明を実施するための形態】
【0010】
本発明に係る一実施形態について図面を参照して説明する。なお、以下の説明では、はじめに、第1実施形態の構成を説明し、つぎに、施工方法について説明する。なお、各地面において、長さや各部材の関係において誇張して示している場合がある。
図1及び図2に示すように、構造物300は、一例として、道路橋であり、上部構造体100と下部構造体200との間に支承部50を配置すると共に上部構造体100の上方への揚力を抑制する上揚力抑制装置10が配置される。なお、支承部50は、下部構造体200である橋脚ごとに2基が配置される。そして、上揚力抑制装置10は、2基の支承部50,50の間となる橋脚のほぼ中央位置に配置される。また、上部構造体100は、橋桁110の上に床板やアスファルトを設置するための床板支持体120が設置されるようになっている。
(【0011】以降は省略されています)
この特許をJ-PlatPat(特許庁公式サイト)で参照する
関連特許
積水樹脂株式会社
カバー体
4日前
株式会社熊谷組
床版
6日前
個人
掃除装置
4日前
株式会社セイトク
防雪パネル
1か月前
株式会社パロマ
融雪装置
11日前
コスモテック株式会社
表示装置
1か月前
株式会社 林物産発明研究所
道路安全体
19日前
戸田建設株式会社
コンクリート構造
1か月前
西松建設株式会社
耐震補強方法
11日前
戸田建設株式会社
鋼製ブラケットの取付装置
1か月前
戸田建設株式会社
鋼製ブラケットの取付装置
1か月前
株式会社丸治コンクリート工業所
防護柵
13日前
株式会社川金コアテック
橋梁用鋼弾塑性ダンパー
27日前
個人
充填剤及びそれが充填された人工芝
11日前
鹿島建設株式会社
床版架設方法
1か月前
鹿島建設株式会社
壁高欄の施工方法
12日前
オリエンタル白石株式会社
補強鋼板及び排土方法
1か月前
ダンレックス株式会社
表示装置
20日前
宮地エンジニアリング株式会社
ワイヤブリッジの設置方法
1か月前
酒井重工業株式会社
建設車両
4日前
株式会社朝日設計事務所
床版橋の梁組合せ床版及び施工方法
11日前
鹿島建設株式会社
橋、および橋の製造方法
1か月前
愛知製鋼株式会社
磁気マーカの施工方法および施工用の補助工具
1か月前
ワールド開発工業株式会社
センサ用支持体およびロードローラー
5日前
清水建設株式会社
床版架設装置および床版架設方法
19日前
PUMP MAN株式会社
路面成型補助部材、及び、路面成型方法
1か月前
オリエンタル白石株式会社
馬蹄形ジベルの合成床版撤去工法
1か月前
公益財団法人鉄道総合技術研究所
レール締結用工具
4日前
ミネベアミツミ株式会社
冠水検出ユニット
6日前
日本製鉄株式会社
仮設橋による施工方法
19日前
個人
蓄光性の白色モルタル、その硬化体、及びその硬化体の耐候性強化方法。
4日前
花王株式会社
アスファルト添加剤組成物
5日前
花王株式会社
アスファルト添加剤組成物
5日前
三井住友建設株式会社
床版揚重装置及び床版工事設備
1か月前
株式会社安藤・間
橋梁健全度評価システム
1か月前
株式会社ミライト・ワン
ボラード
1か月前
続きを見る
他の特許を見る