TOP
|
特許
|
意匠
|
商標
特許ウォッチ
Twitter
他の特許を見る
公開番号
2025172894
公報種別
公開特許公報(A)
公開日
2025-11-26
出願番号
2025145227,2022032353
出願日
2025-09-02,2022-03-03
発明の名称
エアーワイパー用エア供給装置
出願人
サンシステム株式会社
,
シューワシステム有限会社
代理人
個人
,
個人
主分類
G01J
5/05 20220101AFI20251118BHJP(測定;試験)
要約
【課題】サーマルカメラの光学部品に水滴等の異物が付着することを防止できるサーマルカメラ用エアーワイパーシステムを提供すること。
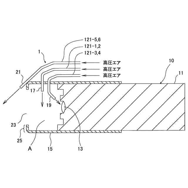
【解決手段】赤外線を検出するサーマルカメラ10の先端に設置した光学部品13への異物の付着を防止するサーマルカメラ用エアーワイパーシステム1である。エア供給装置100と、光学部品13周囲の空間を囲み且つ赤外線を入射する方向に開口部23を有する内圧形成用ケーシング15と、エア供給装置100から供給される高圧エアを内圧形成用ケーシング15内に供給して内圧形成用ケーシング15内を外気より高い内圧とする内圧形成用ノズル17と、エア供給装置100から供給される高圧エアを内圧形成用ケーシング15の開口部23の前方に向けて噴射する異物浸入防止用ノズル21と、エア供給装置100から供給される高圧エアを光学部品13の表面に向けて噴射する光学部品表面噴射用ノズル19と、を具備する。
【選択図】図1
特許請求の範囲
【請求項1】
赤外線を検出するサーマルカメラの先端に設置した光学部品への異物の付着を防止するサーマルカメラ用エアーワイパーシステムにおいて、
エア供給装置と、
前記光学部品周囲の空間を囲み且つ前記赤外線を入射する方向に開口部を有する内圧形成用ケーシングと、
前記エア供給装置から供給される高圧エアを、前記内圧形成用ケーシング内に供給して当該内圧形成用ケーシング内を外気より高い内圧とする内圧形成用ノズルと、
を具備することを特徴とするサーマルカメラ用エアーワイパーシステム。
続きを表示(約 430 文字)
【請求項2】
請求項1に記載のサーマルカメラ用エアーワイパーシステムであって、
前記エア供給装置から供給される高圧エアを、前記内圧形成用ケーシングの開口部の前方に向けて噴射する異物浸入防止用ノズルを具備することを特徴とするサーマルカメラ用エアーワイパーシステム。
【請求項3】
請求項1又は2に記載のサーマルカメラ用エアーワイパーシステムであって、
前記エア供給装置から供給される高圧エアを、前記光学部品の表面に向けて噴射する光学部品表面噴射用ノズルを具備することを特徴とするサーマルカメラ用エアーワイパーシステム。
【請求項4】
請求項1又は2又は3に記載のサーマルカメラ用エアーワイパーシステムであって、
雨又は雪を検知するレインセンサーを具備し、
前記レインセンサーが雨を検知すると、前記エア供給装置を起動して高圧エアを供給することを特徴とするサーマルカメラ用エアーワイパーシステム。
発明の詳細な説明
【技術分野】
【0001】
本発明は、サーマルカメラを屋外などで使用しても、赤外線(遠赤外線)を確実に検知することができるサーマルカメラ用エアーワイパーシステムに関するものである。
続きを表示(約 2,300 文字)
【背景技術】
【0002】
従来、例えば、鉄道線路に設けられた踏切には、遮断機動作中の踏切内に進入している人や車両と列車との衝突事故を未然に防止するために、通行中の人や車両を監視し、遮断機作動中の踏切内に人や車両が取り残されている場合には、速やかにこれを検知し警報を発する必要があり、このため、踏切監視システムの設置が望まれている。
【0003】
上記踏切監視システムにおいて、人や車両を検出する手段の一つにサーマルカメラがある。サーマルカメラは、人や車両の温度と周囲温度の差を遠赤外線によって検知するカメラであり、踏切内を広範囲に監視でき、当該空間内に人や車両が存在するか否かを確実に検知することができ、踏切監視システムに用いて好適である。
【0004】
またサーマルカメラは、踏切監視用のシステムだけではなく、他の各種監視用(防犯用や車載用等)のシステムや、人や動物の体温測定用のシステムなどにも使用されている。
【先行技術文献】
【特許文献】
【0005】
特開2019-38526号公報
【発明の概要】
【発明が解決しようとする課題】
【0006】
しかし、上記各種用途に使用されるサーマルカメラは、これを屋外に設置する場合、風雨による水滴や埃などの異物がそのレンズ(光学部品)に付着すると、正確な検出データが得られなくなる虞があった。即ち、サーマルカメラシステムは、サーマルカメラが検出した映像を映像処理して人や車両などを検知するシステムであるが、サーマルカメラのレンズに水滴や埃などの異物が突発的に付着したような場合、映像が乱れることで映像処理装置が誤検知してしまうことがある。またサーマルカメラの映像を常時監視しているようなシステムの場合も、水滴がレンズに付着すると乾くまでの間サーマルカメラは付着した水滴の温度を感知し、映像が乱れてしまう。
【0007】
通常の可視光カメラであれば、当該可視光カメラを雨除け用のハウジング内に設置し、当該ハウジングに取り付けた透明カバーの後側に可視光カメラのレンズ部分を配置し、これによって透明カバーを通してレンズ部分に可視光を導入し、その際透明カバーの外表面にワイパーを付けるなどの対策ができる。しかし、サーマルカメラの場合はそのレンズの前面側に透明カバーを設置すると、当該透明カバー自体が発する遠赤外線を検出してしまい、測定したい対象物の遠赤外線を正確に検出できなくなる。このためサーマルカメラの場合、そのレンズの前面側に透明カバー等を設置することができない。
【0008】
本発明は上述の点に鑑みてなされたものでありその目的は、サーマルカメラの光学部品に水滴や埃などの異物が付着することを確実に防止することができるサーマルカメラ用エアーワイパーシステムを提供することにある。
【課題を解決するための手段】
【0009】
本発明は、赤外線を検出するサーマルカメラの先端に設置した光学部品への異物の付着を防止するサーマルカメラ用エアーワイパーシステムにおいて、エア供給装置と、前記光学部品周囲の空間を囲み且つ前記赤外線を入射する方向に開口部を有する内圧形成用ケーシングと、前記エア供給装置から供給される高圧エアを、前記内圧形成用ケーシング内に供給して当該内圧形成用ケーシング内を外気より高い内圧とする内圧形成用ノズルと、を具備することを特徴としている。
赤外線には遠赤外線を含む。また内圧形成用ノズルから前記空間内に供給する高圧エアは、直接光学部品の表面に向かわないように構成することが好ましい。
本発明によれば、内圧形成用ケーシング内の圧力を外気よりも高くするので、内圧形成用ケーシングの開口部からの水滴や雪や埃などの異物の浸入を防止することができる。
これによって、例えサーマルカメラを屋外に設置しても、光学部品への異物の付着を防止することができる。
【0010】
また本発明は、上記特徴に加え、前記エア供給装置から供給される高圧エアを、前記内圧形成用ケーシングの開口部の前方に向けて噴射する異物浸入防止用ノズルを具備することを特徴としている。
本発明によれば、内圧形成用ケーシングの開口部内への雨や雪や埃等の異物の浸入をさらに効果的に抑制でき、上記内圧形成用ノズルによる光学部品への異物の付着防止作用を相乗的に強化することができる。即ち、上記内圧形成用ノズルによって内圧形成用ケーシング内の内圧を高めることで内圧形成用ケーシングの開口部から外方(前方)に向けてエアが放出されるが、放出されたエアの流れを、異物浸入防止用ノズルによってさらに強力な高速流とさせることができる。これによって、上記内圧形形成用ノズルと異物浸入防止用ノズルの両者による効果が相乗的に発揮されることで、例えサーマルカメラを屋外に設置し、且つ強い雨や雪や風の状態になっても、光学部品への異物の付着を防止することができる。
なお、内圧形成用ノズルによる高圧エアの噴射と、異物浸入防止用ノズルによる高圧エアの噴射は、場合に応じて切替えても良い。例えば弱い雨や弱い風の場合は、内圧形成用ノズルによる高圧エアの噴射のみとし、雨や風が強くなると内圧形成用ノズルによる高圧エアの噴射に加えてさらに異物浸入防止用ノズルによる高圧エアの噴射も行うなどである。
(【0011】以降は省略されています)
この特許をJ-PlatPat(特許庁公式サイト)で参照する
関連特許
サンシステム株式会社
エアーワイパー用エア供給装置
2日前
個人
採尿及び採便具
29日前
日本精機株式会社
検出装置
23日前
個人
高精度同時多点測定装置
1か月前
個人
計量機能付き容器
18日前
個人
アクセサリー型テスター
1か月前
日本精機株式会社
発光表示装置
1日前
株式会社カクマル
境界杭
8日前
甲神電機株式会社
電流検出装置
23日前
株式会社ミツトヨ
測定器
1か月前
株式会社トプコン
測量装置
今日
アズビル株式会社
電磁流量計
1か月前
大成建設株式会社
風洞実験装置
18日前
大和製衡株式会社
組合せ計量装置
1か月前
大和製衡株式会社
組合せ計量装置
1か月前
ローム株式会社
半導体装置
1か月前
ローム株式会社
半導体装置
1か月前
日本特殊陶業株式会社
ガスセンサ
16日前
愛知時計電機株式会社
ガスメータ
1か月前
個人
計量具及び計量機能付き容器
18日前
日本特殊陶業株式会社
ガスセンサ
今日
個人
非接触による電磁パルスの測定方法
21日前
日本信号株式会社
距離画像センサ
21日前
双庸電子株式会社
誤配線検査装置
24日前
愛知電機株式会社
軸部材の外観検査装置
1か月前
個人
システム、装置及び実験方法
1か月前
長崎県
形状計測方法
1か月前
日本特殊陶業株式会社
センサ
1か月前
株式会社タイガーカワシマ
揚穀装置
今日
個人
液位検視及び品質監視システム
16日前
日本特殊陶業株式会社
センサ
2日前
株式会社デンソー
電流センサ
1か月前
トヨタ自動車株式会社
測定システム
1か月前
日東精工株式会社
振動波形検査装置
24日前
キーコム株式会社
画像作成システム
8日前
株式会社不二越
X線測定装置
21日前
続きを見る
他の特許を見る