TOP
|
特許
|
意匠
|
商標
特許ウォッチ
Twitter
他の特許を見る
10個以上の画像は省略されています。
公開番号
2025172826
公報種別
公開特許公報(A)
公開日
2025-11-26
出願番号
2025140136,2023559266
出願日
2025-08-26,2021-11-10
発明の名称
光トランシーバ及び光トランシーバに関する方法
出願人
日本電気株式会社
代理人
個人
主分類
H04B
10/40 20130101AFI20251118BHJP(電気通信技術)
要約
【課題】光トランシーバおいて自律的にチャネル設定を行うととともに、設定したチャネル情報を効率的に保持する。
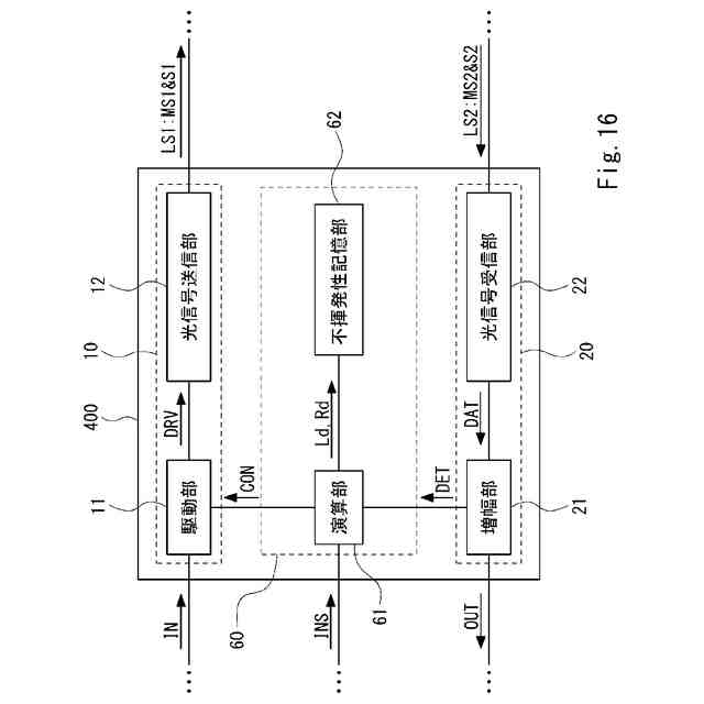
【解決手段】光トランシーバ400において、光信号送信部は、送信光信号のチャネルを示す送信チャネル情報を含む送信光信号を送信する。光信号受信部は、受信光信号のチャネルを示す受信チャネル情報を含む受信光信号を受信する。光信号送信部はまた、互いにチャネルが異なる複数の送信光信号を送信する。第1の記憶部は、複数の送信光信号のチャネルを記憶する。第2の記憶部は、複数の送信光信号のうちの一つに含まれる送信チャネル情報が受信光信号に含まれる場合、受信光信号に含まれる送信チャネル情報を記憶する。
【選択図】図16
特許請求の範囲
【請求項1】
送信光信号のチャネルを示す送信チャネル情報を含む前記送信光信号を送信する光送信部と、
受信光信号のチャネルを示す受信チャネル情報を含む前記受信光信号を受信する光受信部と、
第1の記憶部と、
第2の記憶部と、を備え
前記光送信部は、互いにチャネルが異なる複数の前記送信光信号を送信し、
前記第1の記憶部は、前記複数の送信光信号のチャネルを記憶し、
前記第2の記憶部は、前記複数の送信光信号のうちの一つに含まれる前記送信チャネル情報が前記受信光信号に含まれる場合、前記受信光信号に含まれる前記送信チャネル情報を記憶する、
光トランシーバ。
続きを表示(約 880 文字)
【請求項2】
前記第1の記憶部は、Random Access Memoryである、
請求項1に記載の光トランシーバ。
【請求項3】
前記第2の記憶部は、EEPROMとして構成される、
請求項1又は2に記載の光トランシーバ。
【請求項4】
前記第2の記憶部は、前記受信光信号に含まれる前記受信チャネル情報を記憶する、
請求項1乃至3のいずれか一項に記載の光トランシーバ。
【請求項5】
前記第2の記憶部は、前記受信光信号に含まれる前記送信チャネル情報及び前記受信チャネル情報を確定されたチャネルとして保持する、
請求項4に記載の光トランシーバ。
【請求項6】
第1の記憶部に記憶されている複数の送信光信号のチャネルの各々を示す送信チャネル情報を含む前記送信光信号を複数送信し、
送信された複数の前記送信光信号のうちの一つに含まれる前記送信チャネル情報及び受信光信号のチャネルを示す受信チャネル情報を含む前記受信光信号を受信し、
前記受信光信号に含まれる前記送信チャネル情報を第2の記憶部に記憶する、
光トランシーバに関する方法。
【請求項7】
前記第1の記憶部は、Random Access Memoryである、
請求項6に記載の光トランシーバに関する方法。
【請求項8】
前記第2の記憶部は、EEPROMとして構成される、
請求項6又は7に記載の光トランシーバに関する方法。
【請求項9】
前記第2の記憶部は、更に、前記受信光信号に含まれる前記受信チャネル情報を記憶する、
請求項6乃至8のいずれか一項に記載の光トランシーバに関する方法。
【請求項10】
前記第2の記憶部は、前記受信光信号に含まれる前記送信チャネル情報及び前記受信チャネル情報を確定されたチャネルとして保持する、
請求項9に記載の光トランシーバに関する方法。
発明の詳細な説明
【技術分野】
【0001】
本発明は、光トランシーバ及び光トランシーバに関する方法に関する。
続きを表示(約 2,100 文字)
【背景技術】
【0002】
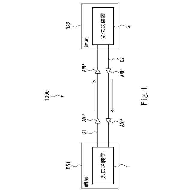
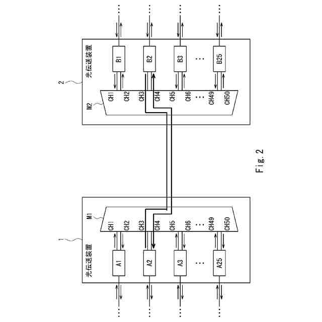
光ケーブルを介して陸上の基地局間を接続することで光通信を可能とする光通信システムが広く用いられている。各基地局には、1つ以上の光トランシーバが搭載された光伝送装置が設けられる。光トランシーバの使用開始に当たっては、光トランシーバの初期設定が行われる。
【0003】
光トランシーバ間で、データ通信に先立って伝送速度、データフォーマット及び伝送フォーマットを調整してから通信を開始する技術が開示されている(特許文献1)。本技術では、光トランシーバ間の伝送速度および伝送フォーマットを設定した試験用信号が光トランシーバ間で送受信される。伝送速度は、試験用信号の送信に用いた伝送速度と受信した試験用信号の伝送速度との比較により設定される。伝送フォーマットは、試験用信号の誤り検出に応じて推定される伝送路状態に対応して設定される。データフォーマットは、伝送速度及び伝送フォーマットの確定後に、データフォーマットに関する情報を送受信することで確定される。これらの確定後に、光トランシーバ間での通信が開始される。
【0004】
また、未通信状態の光トランシーバ間でデータパケットの双方向通信を開始する手法が提案されている(特許文献2)。この手法では、データパケットの双方向通信に先立って、各光トランシーバの特定情報を有し、かつ、データパケットの伝送速度以下の低速度の接続用パケットを、光ファイバ伝送路を介して、光トランシーバ間で送受信する。そして、各光トランシーバで受信した接続用パケットの特定情報に応じて、各光トランシーバの一方をマスタ、他方をスレーブとして設定し、マスタの光トランシーバで設定した伝送方法を設定パケットによりスレーブの光トランシーバへ通知する。この通知によって設定した伝送方法により、光トランシーバ間の双方向通信が行われる。
【0005】
さらに、OLT(Optical Line Terminal)とONU(Optical Network Unit)とで構成されるPON(Passive Optical Network)システムにおいて、光モジュール間で通信に用いる波長のネゴシェーションを行う手法が提案されている(特許文献3)。この手法では、光モジュール(第1の光モジュールと称する)は、選択した第1の波長の波長アイドル信号を相手先の光モジュール(第2の光モジュールと称する)に定期的に送信する。この波長アイドル信号は選択された第1の波長が使用可能であることを示すものであり、波長アイドル信号を受け取った第2の光モジュールは、第1の波長に対応する第2の波長の波長要求メッセージを第1の光モジュールへ送信する。第1の光モジュールは、波長要求メッセージを受け取ったならば、選択した波長の使用を許可するため、第2の光モジュールへ、波長許可メッセージを送信する。これにより、2つの光モジュール間での光信号の送受信に用いられる波長が決定される。
【先行技術文献】
【特許文献】
【0006】
特開2005-229298号公報
特開2005-229299号公報
特表2017-539142号公報
【発明の概要】
【発明が解決しようとする課題】
【0007】
光伝送装置には、一般に、複数の光トランシーバが実装され、各光トランシーバが送受信に用いるチャネル(波長)を設定する初期設定を行う必要がある。特許文献3の手法では、2つの光モジュール(光トランシーバ)の間で波長ネゴシェーションを行うことで、送受信に用いるチャネル(波長)を設定できるものの、そもそも2つの光モジュール間で特定のチャネルの光信号の送受信を行えることが前提となっている。換言すれば、用いられる第1及び第2の波長は人手によって割り当てなくてはならい。すなわち、特許文献3の手法は、単に割り当てられたチャネルを用いて送受信の経路が使用可能であることを確認しているに過ぎない。そのため、光伝送装置に実装された多数の光トランシーバのチャネル設定に、多大な時間を要してしまう。
【0008】
よって、作業時間の短縮の観点からは、光トランシーバを光伝送装置に実装したときに、初期設定として、光トランシーバが送受信される光信号のチャネルを自律的に設定し、かつ、設定したチャネルの情報を光トランシーバが保持できることが望ましい。
【0009】
しかし、自律的にチャネル設定が行える場合でも、設定動作中に要する各種の多くの情報を一時的に保持する必要がある。書き込み回数が制限された記憶装置にこうした多くの情報を書き込んでしまうと、早期に記憶装置の書き込み回数の上限に到達してしまい、光トランシーバの運用の妨げになるおそれが有る。
【0010】
本発明は、上記の事情に鑑みて成されたものであり、光トランシーバおいて自律的にチャネル設定を行うととともに、設定したチャネル情報を効率的に保持することを目的とする。
【課題を解決するための手段】
(【0011】以降は省略されています)
この特許をJ-PlatPat(特許庁公式サイト)で参照する
関連特許
日本電気株式会社
監視装置
1か月前
日本電気株式会社
監視装置
1か月前
日本電気株式会社
管理装置
1か月前
日本電気株式会社
光モジュール
29日前
日本電気株式会社
異常検知装置
1か月前
日本電気株式会社
海底分岐装置
1か月前
日本電気株式会社
光集積回路素子
1か月前
日本電気株式会社
レーザモジュール
1か月前
日本電気株式会社
超伝導量子回路装置
1か月前
日本電気株式会社
受信器および通信装置
1か月前
日本電気株式会社
システム、装置及び方法
1か月前
日本電気株式会社
推論装置および推論方法
21日前
日本電気株式会社
送信装置および通信装置
1か月前
日本電気株式会社
通信装置および通信方法
1か月前
日本電気株式会社
光伝送システムおよび方法
1か月前
日本電気株式会社
ラインカード及びイジェクタ
1か月前
日本電気株式会社
分析方法および分析システム
1か月前
日本電気株式会社
制御装置、プログラム及び方法
1か月前
日本電気株式会社
共振器及びそれを備えた導波回路
1か月前
日本電気株式会社
兆候検知装置および兆候検知方法
1か月前
日本電気株式会社
考査装置、考査方法、プログラム
22日前
日本電気株式会社
考査装置、考査方法、プログラム
22日前
日本電気株式会社
時刻維持装置および時刻維持方法
20日前
日本電気株式会社
演算処理装置および演算処理方法
1か月前
日本電気株式会社
交渉装置、交渉方法及びプログラム
29日前
日本電気株式会社
ボロメータアレイ、及び光検出方法
今日
日本電気株式会社
交渉装置、交渉方法及びプログラム
6日前
日本電気株式会社
放送用システムおよび字幕作成方法
1か月前
日本電気株式会社
推定装置、推定方法及びプログラム
1か月前
日本電気株式会社
ソーナー装置、通信方法、プログラム
1か月前
日本電気株式会社
画像管理システムおよび画像管理方法
1か月前
日本電気株式会社
波長可変レーザ装置及びその構成方法
1か月前
日本電気株式会社
端末、端末の制御方法及びプログラム
1か月前
日本電気株式会社
監視装置、監視方法、及びプログラム
19日前
日本電気株式会社
情報処理装置、制御方法及び記憶媒体
1か月前
日本電気株式会社
レコメンド装置およびレコメンド方法
1か月前
続きを見る
他の特許を見る