TOP
|
特許
|
意匠
|
商標
特許ウォッチ
Twitter
他の特許を見る
10個以上の画像は省略されています。
公開番号
2025144666
公報種別
公開特許公報(A)
公開日
2025-10-03
出願番号
2024044452
出願日
2024-03-21
発明の名称
送信装置および通信装置
出願人
日本電気株式会社
代理人
個人
,
個人
主分類
H04B
10/116 20130101AFI20250926BHJP(電気通信技術)
要約
【課題】水平面に沿った任意の方向に向けて、減衰しにくい空間光信号を送信できる送信装置を提供する。
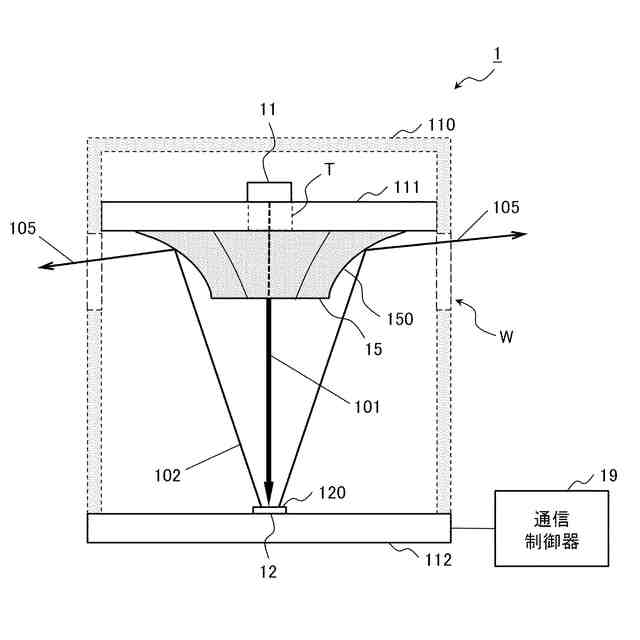
【解決手段】送信装置1は、筐体110と、天板11と、底板112と、照明光101を出射する光源11と、光源11から出射された照明光101が照射される変調部120を有する空間光変調器12と、照明光の光軸を中心として環状に配置された複数の凹面鏡によって構成され、空間光変調器12の変調部で変調された変調光102を空間光信号として側方に向けて反射する位置に配置され、凹面状の反射面150を有する凹面鏡である環状ミラーアレイ15と、を備える。
【選択図】図1
特許請求の範囲
【請求項1】
照明光を出射する光源と、
前記光源から出射された前記照明光が照射される変調部を有する空間光変調器と、
前記照明光の光軸を中心として環状に配置された複数の凹面鏡によって構成され、前記空間光変調器の前記変調部で変調された変調光を空間光信号として側方に向けて反射する位置に配置された環状ミラーアレイと、を備える送信装置。
続きを表示(約 1,600 文字)
【請求項2】
前記空間光変調器の前記変調部から出射された前記変調光の光路に配置され、前記環状ミラーアレイに向けて前記変調光を中継反射する平面状の反射面を有する中継ミラーを備え、
前記環状ミラーアレイは、
前記中継ミラーの反射面において中継反射された前記変調光を側方に向けて反射する位置に配置される請求項1に記載の送信装置。
【請求項3】
前記中継ミラーの反射面で反射された前記変調光の光路に配置され、前記環状ミラーアレイに向けて前記変調光を中継反射する平面状の反射面を有する環状中継ミラーを備え、
前記環状ミラーアレイは、
前記環状中継ミラーの反射面において中継反射された前記変調光を側方に向けて反射する位置に配置される請求項2に記載の送信装置。
【請求項4】
前記空間光変調器の前記変調部から出射された前記変調光の光路に配置され、前記環状ミラーアレイの反射面に向けて前記変調光を中継反射する凸面状の反射面を有する中継ミラーを備え、
前記環状ミラーアレイは、
前記中継ミラーの反射面において中継反射された前記変調光を側方に向けて反射する位置に配置される請求項1に記載の送信装置。
【請求項5】
空間光通信に用いられる位相画像を前記空間光変調器の前記変調部に設定し、位相画像が設定された前記変調部に前記照明光が照射されるように前記光源を制御する通信制御器を備える請求項1に記載の送信装置。
【請求項6】
前記光源が複数の出射器を有し、
前記通信制御器は、
複数の前記出射器に対応付けて、前記空間光変調器の前記変調部に複数の変調領域を設定し、
通信対象を探索するモードにおいて、前記環状ミラーアレイを構成する複数の凹面鏡のうち単一の凹面鏡に、複数の前記変調領域で変調された前記変調光が照射される位相画像を、前記空間光変調器の前記変調部に設定する請求項5に記載の送信装置。
【請求項7】
前記通信制御器は、
前記通信対象と通信するモードにおいて、前記環状ミラーアレイを構成する複数の凹面鏡の各々を複数の前記通信対象のいずれかに対応付け、複数の前記通信対象のいずれかに対応付けられた凹面鏡の各々に複数の前記変調領域のうちいずれかで変調された前記変調光が照射される位相画像を、前記空間光変調器の前記変調部に設定する請求項6に記載の送信装置。
【請求項8】
前記通信制御器は、
前記通信対象と通信するモードにおいて、前記環状ミラーアレイを構成する複数の凹面鏡のうち少なくともいずれかを単一の前記通信対象に対応付け、単一の前記通信対象に対応付けられた凹面鏡に複数の前記変調領域で変調された前記変調光が照射される位相画像を、前記空間光変調器の前記変調部に設定する請求項6に記載の送信装置。
【請求項9】
前記環状ミラーアレイを構成する複数の凹面鏡のうちいずれかの側方に配置された光検知器を備え、
前記通信制御器は、
光電力計測モードにおいて、前記空間光変調器の前記変調部で変調された前記変調光を前記光検知器に向けて照射させる位相画像を前記空間光変調器に設定し、
前記光検知器によって検知された前記変調光の光電力を計測し、
計測された前記変調光の光電力に応じて前記光源の出力を調整する請求項5に記載の送信装置。
【請求項10】
請求項1乃至9のいずれか一項に記載の送信装置と、
通信対象から送信されてきた空間光信号を受信する受信装置と、
前記受信装置によって受信された前記通信対象から送信されてきた空間光信号に基づく信号を取得し、取得した前記信号に応じた処理を実行し、実行した処理に応じた空間光信号を前記通信対象に向けて前記送信装置に送信させる通信制御装置と、を備える通信装置。
発明の詳細な説明
【技術分野】
【0001】
本開示は、送信装置および通信装置に関する。
続きを表示(約 2,600 文字)
【背景技術】
【0002】
光空間通信においては、光ファイバなどの媒体を介さずに、空間を伝播する光信号(以下、空間光信号とも呼ぶ)を用いた通信が行われる。例えば、位相変調型の空間光変調器を含む送信装置を用いれば、空間光変調器の変調部に設定されるパターンを制御することによって、多様な方向に空間光信号を送信できる。送信装置を中心として多方向に空間光信号を送信できれば、空間光信号を用いた通信ネットワークを構築できる。一般的な空間光通信では、多様な方向に空間光信号を送信するために、空間光信号の送受信方向を調整するための調整機構が必要である。そのため、通信対象の方向が不明な場合、目視で通信対象の方向を確認したり、通信装置の間での通信を介して送受信方向を調整したりする必要があった。このように、空間光信号を送受信する通信装置の設置には、労力や時間を要する。
【0003】
特許文献1には、走行している車両間で光信号を送受信するための光送受信装置が開示されている。特許文献1の装置は、発光部、受光部、および全方位型の光学部品を備える。特許文献1の装置では、発光部から発信された光信号が光学部品に入射する光軸と、他の車両から送信されて光学部品に入射した光信号が光学部品から出射する光軸とが、同光軸になるように構成される。特許文献1の装置は、光学部品を通じて、外部の略水平方向の全方向に向けて光信号を送信するとともに、他の車両から送信された略水平方向の全方位からの光信号を受信する。このようにして、特許文献1の装置は、不特定の車両に対する全方位的な送受信を行う。また、特許文献1の装置は、全方位型の光学部品を通じて、一つの発光素子から送信された光信号を特定の他の車両に向けて送信しつつ、特定の他の車両から送信された光信号を受光する。このようにして、特許文献1の装置は、特定の他の車両との間で、一対一通信を行う。
【先行技術文献】
【特許文献】
【0004】
特開2018-026095号公報
【発明の概要】
【発明が解決しようとする課題】
【0005】
特許文献1の手法では、全方位的な送受信によって通信対象を検出し、検出された単一の通信対象に向けて個別の光信号(個別信号)を送信する。特許文献1の手法では、曲面状の透光面を有する回転体を介して、光信号を送信する。そのため、特許文献1の手法では、透光面の曲率に応じて、光送受信装置から離れるにつれて光信号のビーム径が大きくなり、光信号が減衰しやすかった。一方、曲面状の透光面の代わりに平面鏡が用いられた場合、光信号の減衰は低減されるが、光信号を送信できない死角領域が増えてしまう。
【0006】
本開示の目的は、水平面に沿った任意の方向に向けて、減衰しにくい空間光信号を送信できる送信装置および通信装置を提供することにある。
【課題を解決するための手段】
【0007】
本開示の一態様の送信装置は、照明光を出射する光源と、光源から出射された照明光が照射される変調部を有する空間光変調器と、照明光の光軸を中心として環状に配置された複数の凹面鏡によって構成され、空間光変調器の変調部で変調された変調光を空間光信号として側方に向けて反射する位置に配置された環状ミラーアレイと、を備える。
【発明の効果】
【0008】
本開示によれば、水平面に沿った任意の方向に向けて、減衰しにくい空間光信号を送信できる送信装置および通信装置を提供することが可能になる。
【図面の簡単な説明】
【0009】
本開示における送信装置の構成の一例を示す概念図である。
本開示における送信装置の構成の一例を示す概念図である。
本開示における送信装置の構成の一例を示す概念図である。
本開示における空間光変調器の変調部に設定される複数の変調領域の一例を示す概念図である。
本開示における送信装置による空間光信号の送信例を示す概念図である。
本開示における送信装置による空間光信号の送信例を示す概念図である。
本開示における送信装置の筐体の柱について説明するための概念図である。
本開示における送信装置による空間光信号の送信例を示す概念図である。
本開示における送信装置による空間光信号の送信例を示す概念図である。
本開示における送信装置の構成の一例を示す概念図である。
本開示における送信装置の構成の一例を示す概念図である。
本開示における送信装置の構成の一例を示す概念図である。
本開示における送信装置の構成の一例を示す概念図である。
本開示における送信装置の構成の一例を示す概念図である。
本開示における送信装置の構成の一例を示す概念図である。
本開示における送信装置の構成の一例を示す概念図である。
本開示における送信装置の構成の一例を示す概念図である。
本開示における送信装置の構成の一例を示す概念図である。
本開示における送信装置の構成の一例を示す概念図である。
本開示における通信装置の構成の一例を示す概念図である。
本開示における通信装置が備える受信器の構成の一例を示す概念図である。
本開示における通信装置の構成の一例を示す概念図である。
本開示における適用例について説明するための概念図である。
本開示における送信装置の構成の一例を示すブロック図である。
本開示における制御や処理を実行するハードウェア構成例を示すブロック図である。
【発明を実施するための形態】
【0010】
以下に、本発明を実施するための形態について図面を用いて説明する。ただし、以下に述べる実施形態には、本発明を実施するために技術的に好ましい限定がされているが、発明の範囲を以下に限定するものではない。なお、以下の実施形態の説明に用いる全図においては、特に理由がない限り、同様箇所には同一符号を付す。また、以下の実施形態において、同様の構成・動作に関しては繰り返しの説明を省略する場合がある。
(【0011】以降は省略されています)
この特許をJ-PlatPat(特許庁公式サイト)で参照する
関連特許
日本電気株式会社
管理装置
1か月前
日本電気株式会社
監視装置
1か月前
日本電気株式会社
監視装置
1か月前
日本電気株式会社
海底分岐装置
1か月前
日本電気株式会社
光モジュール
26日前
日本電気株式会社
異常検知装置
1か月前
日本電気株式会社
光集積回路素子
1か月前
日本電気株式会社
レーザモジュール
1か月前
日本電気株式会社
超伝導量子回路装置
1か月前
日本電気株式会社
推論装置および推論方法
18日前
日本電気株式会社
システム、装置及び方法
1か月前
日本電気株式会社
ラインカード及びイジェクタ
1か月前
日本電気株式会社
制御装置、プログラム及び方法
1か月前
日本電気株式会社
考査装置、考査方法、プログラム
19日前
日本電気株式会社
時刻維持装置および時刻維持方法
17日前
日本電気株式会社
考査装置、考査方法、プログラム
19日前
日本電気株式会社
推定装置、推定方法及びプログラム
1か月前
日本電気株式会社
交渉装置、交渉方法及びプログラム
26日前
日本電気株式会社
交渉装置、交渉方法及びプログラム
3日前
日本電気株式会社
監視装置、監視方法、及びプログラム
16日前
日本電気株式会社
情報処理装置、制御方法及び記憶媒体
1か月前
日本電気株式会社
レコメンド装置およびレコメンド方法
1か月前
日本電気株式会社
端末、端末の制御方法及びプログラム
1か月前
日本電気株式会社
安否確認支援装置、方法及びプログラム
1か月前
日本電気株式会社
学習装置、学習方法及び学習プログラム
1か月前
日本電気株式会社
店舗端末、情報処理方法、及びプログラム
18日前
日本電気株式会社
乗車誘導計画装置および乗車誘導計画方法
9日前
日本電気株式会社
情報処理装置、情報処理方法、プログラム
18日前
日本電気株式会社
合意判定装置、合意判定方法及びプログラム
24日前
日本電気株式会社
処理システム、処理方法、およびプログラム
1か月前
日本電気株式会社
視聴支援装置、視聴支援方法及びプログラム
24日前
日本電気株式会社
健康管理装置、健康管理方法及びプログラム
26日前
日本電気株式会社
情報処理装置、計算方法、およびプログラム
1か月前
日本電気株式会社
行動推奨装置、行動推奨方法及びプログラム
1か月前
日本電気株式会社
情報処理装置、提示方法、およびプログラム
1か月前
日本電気株式会社
経路選択装置、経路選択方法及びプログラム
16日前
続きを見る
他の特許を見る