TOP
|
特許
|
意匠
|
商標
特許ウォッチ
Twitter
他の特許を見る
10個以上の画像は省略されています。
公開番号
2025142600
公報種別
公開特許公報(A)
公開日
2025-10-01
出願番号
2024042048
出願日
2024-03-18
発明の名称
画像管理システムおよび画像管理方法
出願人
日本電気株式会社
代理人
個人
,
個人
主分類
H04N
23/60 20230101AFI20250924BHJP(電気通信技術)
要約
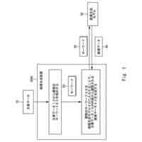
【課題】画像データを複数の装置で管理する際、画像データの喪失のリスクを軽減できるようにする。
【解決手段】画像管理システムが、複数のカメラとサーバ装置とを備え、前記カメラの各々は、撮影部と記憶部とを備え、同一の画像データを2つまたはそれ以上のカメラそれぞれの記憶部が記憶し、全ての前記カメラと前記サーバ装置とが、どの画像データをどの装置が記憶しているかの対応関係を示す管理情報を共有する。
【選択図】図1
特許請求の範囲
【請求項1】
複数のカメラとサーバ装置とを備え、
前記カメラの各々は、撮影部と記憶部とを備え、
同一の画像データを2つまたはそれ以上のカメラそれぞれの記憶部が記憶し、
全ての前記カメラと前記サーバ装置とが、どの画像データをどの装置が記憶しているかの対応関係を示す管理情報を共有する、
画像管理システム。
続きを表示(約 1,100 文字)
【請求項2】
前記カメラの各々は、撮影部が撮影した新たな画像データを取得した場合、自らの記憶部がその新たな画像データを記憶し、かつ、1つまたはそれ以上の他のカメラにその新たな画像データを送信してそのカメラの記憶部に記憶させ、
その新たな画像データを記憶している装置を示すように更新された管理情報を、全ての前記カメラと前記サーバ装置とが共有する、
請求項1に記載の画像管理システム。
【請求項3】
前記カメラの各々、および、前記サーバ装置の何れも、前記複数のカメラおよび前記サーバ装置のうち複数の装置と通信接続される、
請求項1に記載の画像管理システム。
【請求項4】
前記管理情報は、ブロックチェーンにて管理される、
請求項1に記載の画像管理システム。
【請求項5】
前記サーバ装置は、前記管理情報に基づいて、サーバ装置自らが取得していない画像データがあることを検出すると、その画像データを取得する、
請求項1に記載の画像管理システム。
【請求項6】
前記サーバ装置が、サーバ装置自らが取得していない画像データを取得すると、その画像データをサーバ装置自らが取得済みであることを示すように更新された管理情報を、全ての前記カメラとサーバ装置自らとが共有する、
請求項5に記載の画像管理システム。
【請求項7】
前記カメラは、カメラ自らが記憶している画像データのうち、前記サーバ装置が取得済みであることが前記管理情報で示されている画像データを削除する、
請求項6に記載の画像管理システム。
【請求項8】
複数の記憶装置とサーバ装置とを備え、
同一の画像データを2つまたはそれ以上の記憶装置が記憶し、
全ての前記記憶装置と前記サーバ装置とが、どの画像データをどの装置が記憶しているかの対応関係を示す管理情報を共有する、
画像管理システム。
【請求項9】
複数のカメラとサーバ装置とを備え、前記カメラの各々は、撮影部と記憶部とを備える画像管理システムの、2つまたはそれ以上のカメラそれぞれの記憶部が、同一の画像データを記憶し、
全ての前記カメラと前記サーバ装置とが、どの画像データをどの装置が記憶しているかの対応関係を示す管理情報を共有する、
ことを含む画像管理方法。
【請求項10】
複数の記憶装置とサーバ装置とを備える画像管理システムの、2つまたはそれ以上の記憶装置が同一の画像データを記憶し、
全ての前記記憶装置と前記サーバ装置とが、どの画像データをどの装置が記憶しているかの対応関係を示す管理情報を共有する、
ことを含む画像管理方法。
発明の詳細な説明
【技術分野】
【0001】
本発明は、画像管理システムおよび画像管理方法に関する。
続きを表示(約 1,100 文字)
【背景技術】
【0002】
画像データが複数の装置で管理される場合がある。
例えば、特許文献1には、動画像に関する単位画像を暗号化して分割し、暗号化および分割された動画像に関する単位画像のデータを、複数のノード端末やノードサーバのそれぞれに分散して格納して管理することが記載されている。
【先行技術文献】
【特許文献】
【0003】
特開2022-013298号公報
【発明の概要】
【発明が解決しようとする課題】
【0004】
画像データを複数の装置で管理する際、画像データの喪失のリスクを軽減できることが好ましい。
【0005】
本開示の目的の一例は、上述した課題を解決することのできる画像管理システムおよび画像管理方法を提供することである。
【課題を解決するための手段】
【0006】
本開示の第1の態様によれば、画像管理システムは、複数のカメラとサーバ装置とを備え、前記カメラの各々は、撮影部と記憶部とを備え、同一の画像データを2つまたはそれ以上のカメラそれぞれの記憶部が記憶し、全ての前記カメラと前記サーバ装置とが、どの画像データをどの装置が記憶しているかの対応関係を示す管理情報を共有する。
【0007】
本開示の第2の態様によれば、画像管理システムは、複数の記憶装置とサーバ装置とを備え、同一の画像データを2つまたはそれ以上の記憶装置が記憶し、全ての前記記憶装置と前記サーバ装置とが、どの画像データをどの装置が記憶しているかの対応関係を示す管理情報を共有する。
【0008】
本開示の第3の態様によれば、画像管理方法は、複数のカメラとサーバ装置とを備え、前記カメラの各々は、撮影部と記憶部とを備える画像管理システムの、2つまたはそれ以上のカメラそれぞれの記憶部が、同一の画像データを記憶し、全ての前記カメラと前記サーバ装置とが、どの画像データをどの装置が記憶しているかの対応関係を示す管理情報を共有する、ことを含む。
【0009】
本開示の第4の態様によれば、画像管理方法は、複数の記憶装置とサーバ装置とを備える画像管理システムの、2つまたはそれ以上の記憶装置が同一の画像データを記憶し、全ての前記記憶装置と前記サーバ装置とが、どの画像データをどの装置が記憶しているかの対応関係を示す管理情報を共有する、ことを含む。
【発明の効果】
【0010】
本開示の一態様によれば、画像データを複数の装置で管理する際、画像データの喪失のリスクを軽減することができる。
【図面の簡単な説明】
(【0011】以降は省略されています)
この特許をJ-PlatPat(特許庁公式サイト)で参照する
関連特許
日本電気株式会社
監視装置
16日前
日本電気株式会社
管理装置
16日前
日本電気株式会社
監視装置
16日前
日本電気株式会社
異常検知装置
8日前
日本電気株式会社
光モジュール
3日前
日本電気株式会社
ラインカード及びイジェクタ
14日前
日本電気株式会社
交渉装置、交渉方法及びプログラム
3日前
日本電気株式会社
レコメンド装置およびレコメンド方法
10日前
日本電気株式会社
端末、端末の制御方法及びプログラム
14日前
日本電気株式会社
処理システム、処理方法、およびプログラム
9日前
日本電気株式会社
処理システム、処理方法、およびプログラム
7日前
日本電気株式会社
行動推奨装置、行動推奨方法及びプログラム
8日前
日本電気株式会社
健康管理装置、健康管理方法及びプログラム
3日前
日本電気株式会社
視聴支援装置、視聴支援方法及びプログラム
1日前
日本電気株式会社
合意判定装置、合意判定方法及びプログラム
1日前
日本電気株式会社
情報処理装置、情報処理方法、及びプログラム
7日前
日本電気株式会社
画像生成装置、画像生成方法、及びプログラム
1日前
日本電気株式会社
視線検出装置、視線検出方法、及びプログラム
7日前
日本電気株式会社
情報処理装置、情報処理方法、及びプログラム
1日前
日本電気株式会社
情報処理装置、情報処理方法、及びプログラム
7日前
日本電気株式会社
情報処理装置、分析方法、及び分析プログラム
1日前
日本電気株式会社
補聴支援装置、補聴支援方法、及び、プログラム
14日前
日本電気株式会社
蓄電制御装置、蓄電制御方法、およびプログラム
14日前
日本電気株式会社
サーバ装置、サーバ装置の制御方法及びプログラム
10日前
日本電気株式会社
情報処理装置、情報処理方法、及び、制御プログラム
4日前
日本電気株式会社
制御装置、制御システム、制御方法、及びプログラム
4日前
日本電気株式会社
情報出力装置、情報出力方法および情報出力プログラム
15日前
日本電気株式会社
情報処理装置、回答生成方法、及び回答生成プログラム
4日前
日本電気株式会社
システム
17日前
日本電気株式会社
棚システム、制御装置、棚段の制御方法、及びプログラム
1日前
日本電気株式会社
処理装置
17日前
日本電気株式会社
質問提案装置、質問提案方法およびコンピュータプログラム
9日前
日本電気株式会社
改善提案装置、改善提案方法およびコンピュータプログラム
17日前
日本電気株式会社
サーバ装置、システム、サーバ装置の制御方法及びプログラム
14日前
日本電気株式会社
サーバ装置、システム、サーバ装置の制御方法及びプログラム
10日前
日本電気株式会社
衣服情報管理装置、衣服情報管理装置方法、およびプログラム
16日前
続きを見る
他の特許を見る