TOP
|
特許
|
意匠
|
商標
特許ウォッチ
Twitter
他の特許を見る
10個以上の画像は省略されています。
公開番号
2025142841
公報種別
公開特許公報(A)
公開日
2025-10-01
出願番号
2024042426
出願日
2024-03-18
発明の名称
共振器及びそれを備えた導波回路
出願人
日本電気株式会社
代理人
個人
主分類
H01P
7/06 20060101AFI20250924BHJP(基本的電気素子)
要約
【課題】小型化を実現することが可能な共振器及びそれを備えた導波回路を提供すること。
【解決手段】本開示にかかる共振器は、誘電体と、前記誘電体を包むように設けられた導体壁と、前記誘電体の内部において前記導体壁の底面に沿って配置された平板状且つ導体の複数のパッチと、を備える。
【選択図】図9
特許請求の範囲
【請求項1】
誘電体と、
前記誘電体を包むように設けられた導体壁と、
前記誘電体の内部において前記導体壁の底面に沿って配置された平板状且つ導体の複数のパッチと、
を備えた、共振器。
続きを表示(約 820 文字)
【請求項2】
前記複数のパッチは、何れも、共振周波数に対応する波長の1/10以下のサイズとなるように形成されている、
請求項1に記載の共振器。
【請求項3】
前記複数のパッチは、前記導体壁の底面に沿ってマトリックス状に配置されている、
請求項1に記載の共振器。
【請求項4】
前記複数のパッチは、前記導体壁の底面に沿って、部分的に間引きされた状態でマトリックス状に配置されている、
請求項1に記載の共振器。
【請求項5】
前記導体壁の底面から前記複数のパッチまで延在する導体の複数のビアをさらに備えた、
請求項1に記載の共振器。
【請求項6】
前記複数のパッチは、
前記導体壁の底面に沿ってマトリックス状に配置された複数の第1パッチと、
前記複数の第1パッチに積層された複数の第2パッチと、
を有する、
請求項1に記載の共振器。
【請求項7】
前記複数のパッチは、
前記導体壁の底面に沿って、部分的に間引きされた状態でマトリックス状に配置された複数の第1パッチと、
前記複数の第1パッチに積層され、且つ、部分的に間引きされた状態でマトリックス状に配置された複数の第2パッチと、
を有する、
請求項1に記載の共振器。
【請求項8】
請求項1に記載の共振器を複数備えた、
導波回路。
【請求項9】
前記複数の共振器は、基板内において隣接配置されている、
請求項8に記載の導波回路。
【請求項10】
前記複数の共振器は、
基板内において配置された一つ以上の第1共振器と、
前記一つ以上の第1共振器に積層された一つ以上の第2共振器と、を有する、
請求項8に記載の導波回路。
発明の詳細な説明
【技術分野】
【0001】
本開示は、共振器及びそれを備えた導波回路に関する。
続きを表示(約 2,400 文字)
【背景技術】
【0002】
無線通信装置の小型化の要求に伴って、無線通信装置に搭載されるフィルタ回路等の導波回路の小型化が求められている。また、それに伴って、導波回路に適用される共振器の小型化も求められている。無線通信装置に関する技術は、例えば特許文献1に開示されている。
【先行技術文献】
【特許文献】
【0003】
特開2016-007059号公報
【発明の概要】
【発明が解決しようとする課題】
【0004】
特許文献1には、アンテナ特性の変化を低減することについて記載されているに過ぎず、共振器構造の小型化については開示されていない。そのため、特許文献1では、共振器及びそれを備えたフィルタ回路等の導波回路の小型化を実現することができない、という課題があった。
【0005】
本開示の目的は、上述した課題を解決する共振器及びそれを備えた導波回路を提供することにある。
【課題を解決するための手段】
【0006】
本開示にかかる共振器は、誘電体と、前記誘電体を包むように設けられた導体壁と、前記誘電体の内部において前記導体壁の底面に沿って配置された平板状且つ導体の複数のパッチと、を備える。
【発明の効果】
【0007】
前記一実施の形態によれば、小型化を実現することが可能な共振器及びそれを備えた導波回路を提供することができる。
【図面の簡単な説明】
【0008】
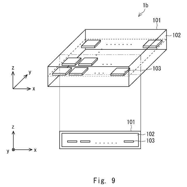
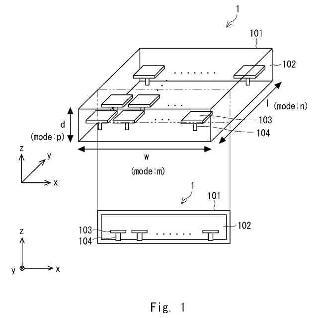
本開示にかかる第1の共振器の構成例を示す概略斜視図及び概略断面図である。
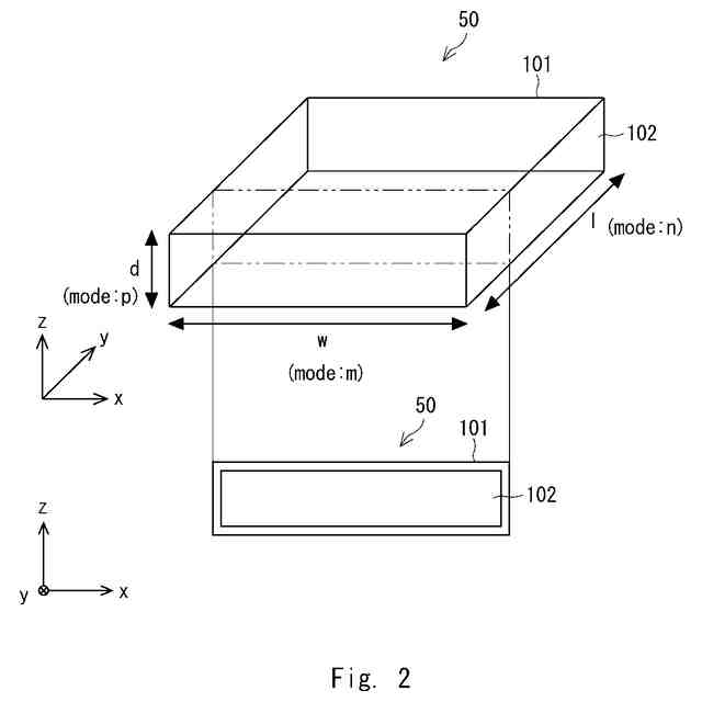
比較例の共振器の構成例を示す概略斜視図及び概略断面図である。
比較例の共振器における、固有モードの最低次のTE110モード、及び、2次の高次モードのTE210/TE120モード、のそれぞれの磁界分布の概要を示す図である。
比較例の共振器における各モードの共振周波数の計算例を示す図である。
本開示にかかる第1の共振器のより詳細な構成例を示す概略断面図である。
本開示にかかる第1の共振器における各モードの共振周波数についての電磁界シミュレーション結果を示す図である。
本開示にかかる第1の共振器における各モードの共振周波数についての電磁界シミュレーション結果を示す図である。
本開示にかかる第1の共振器の第1変形例を示す概略斜視図及び概略断面図である。
本開示にかかる第1の共振器の第2変形例を示す概略斜視図及び概略断面図である。
本開示にかかる第1の共振器の第3変形例を示す概略斜視図及び概略断面図である。
本開示にかかる第2の共振器の構成例を示す概略斜視図及び概略断面図である。
本開示にかかる第3の共振器の構成例を示す概略斜視図及び概略断面図である。
本開示にかかる第3の共振器の構成例を示す概略斜視図及び概略断面図である。
本開示にかかる共振器が搭載された第1のBPFの構成例を示す概略斜視図である。
比較例の共振器が搭載されたBPFの構成例を示す概略斜視図である。
本開示にかかる第1のBPFのポートP2,P1間の透過特性についての電磁界シミュレーション結果を示す図である。
本開示にかかる第2のBPFの構成例を示す概略斜視図である。
本開示にかかる第2のBPFの構成例を示す概略断面図である。
本開示にかかる第2のBPFの一部を拡大した概略断面図である。
本開示にかかる第2のBPFのポートP2,P1間の透過特性についての電磁界シミュレーション結果を示す図である。
本開示にかかる第2のBPFのポートP4,P3間の透過特性についての電磁界シミュレーション結果を示す図である。
比較例のBPFの、ポートP2,P1での入出力時における電場強度についての電磁界シミュレーション結果を示す図である。
本開示にかかる第2のBPFの、ポートP2,P1での入出力時における電場強度についての電磁界シミュレーション結果を示す図である。
比較例のBPFの、ポートP4,P3での入出力時における電場強度についての電磁界シミュレーション結果を示す図である。
本開示にかかる第2のBPFの、ポートP4,P3での入出力時における電場強度についての電磁界シミュレーション結果を示す図である。
本開示にかかる第3のBPFの構成例を示す概略斜視図である。
本開示にかかる第3のBPFのポートP4,P3間の透過特性についての電磁界シミュレーション結果を示す図である。
【発明を実施するための形態】
【0009】
以下、図面を参照しつつ、実施の形態について説明する。なお、図面は簡略的なものであるから、この図面の記載を根拠として実施の形態の技術的範囲を狭く解釈してはならない。また、同一の要素には、同一の符号を付し、重複する説明は省略する。
【0010】
以下の実施の形態においては便宜上その必要があるときは、複数のセクション又は実施の形態に分割して説明する。ただし、特に明示した場合を除き、それらはお互いに無関係なものではなく、一方は他方の一部又は全部の変形例、応用例、詳細説明、補足説明等の関係にある。また、以下の実施の形態において、要素の数等(個数、数値、量、範囲等を含む)に言及する場合、特に明示した場合および原理的に明らかに特定の数に限定される場合等を除き、その特定の数に限定されるものではなく、特定の数以上でも以下でもよい。
(【0011】以降は省略されています)
この特許をJ-PlatPat(特許庁公式サイト)で参照する
関連特許
日本電気株式会社
分析装置
13日前
日本電気株式会社
光集積回路素子
2日前
日本電気株式会社
レーザモジュール
3日前
日本電気株式会社
超伝導量子回路装置
3日前
日本電気株式会社
受信器および通信装置
4日前
日本電気株式会社
量子回路装置と制御方法
13日前
日本電気株式会社
システム、装置及び方法
3日前
日本電気株式会社
通信装置および通信方法
9日前
日本電気株式会社
量子回路装置と制御方法
13日前
日本電気株式会社
検知装置および検知方法
13日前
日本電気株式会社
送信装置および通信装置
9日前
日本電気株式会社
光伝送システムおよび方法
5日前
日本電気株式会社
分析方法および分析システム
10日前
日本電気株式会社
制御装置、プログラム及び方法
3日前
日本電気株式会社
兆候検知装置および兆候検知方法
5日前
日本電気株式会社
演算処理装置および演算処理方法
5日前
日本電気株式会社
共振器及びそれを備えた導波回路
11日前
日本電気株式会社
推定装置、推定方法及びプログラム
3日前
日本電気株式会社
システム及びマイグレーション方法
13日前
日本電気株式会社
放送用システムおよび字幕作成方法
5日前
日本電気株式会社
推定装置、推定方法及びプログラム
16日前
日本電気株式会社
ピーク抑圧装置及びピーク抑圧方法
23日前
日本電気株式会社
推定装置、推定方法及びプログラム
16日前
日本電気株式会社
画像管理システムおよび画像管理方法
11日前
日本電気株式会社
ソーナー装置、通信方法、プログラム
5日前
日本電気株式会社
情報処理装置、制御方法及び記憶媒体
3日前
日本電気株式会社
推定装置、推定方法、及び、記録媒体
10日前
日本電気株式会社
処理装置、処理方法、及びプログラム
13日前
日本電気株式会社
波長可変レーザ装置及びその構成方法
9日前
日本電気株式会社
通信装置、通信方法及び通信プログラム
10日前
日本電気株式会社
予測システム、予測方法及びプログラム
16日前
日本電気株式会社
判別装置、判別方法、およびプログラム
5日前
日本電気株式会社
管理システム、管理方法及びプログラム
23日前
日本電気株式会社
注文端末、注文受付方法及びプログラム
9日前
日本電気株式会社
学習装置、学習方法及び学習プログラム
3日前
日本電気株式会社
情報処理システム、処理方法、プログラム
13日前
続きを見る
他の特許を見る