TOP
|
特許
|
意匠
|
商標
特許ウォッチ
Twitter
他の特許を見る
10個以上の画像は省略されています。
公開番号
2025143704
公報種別
公開特許公報(A)
公開日
2025-10-02
出願番号
2024043076
出願日
2024-03-19
発明の名称
推定装置、推定方法、及び、記録媒体
出願人
日本電気株式会社
代理人
個人
,
個人
,
個人
主分類
B64G
3/00 20060101AFI20250925BHJP(航空機;飛行;宇宙工学)
要約
【課題】宇宙空間から地上を撮像可能な機能を有する宇宙物体の姿勢を確実に推定することが可能な推定装置等を提供する。
【解決手段】推定装置において、特徴量生成手段は、宇宙空間から地上を撮像することが可能な撮像機能を有する宇宙物体を観測することにより得られた観測データを用いて特徴量を生成する。姿勢推定手段は、特徴量の入力に応じ、宇宙物体の姿勢が複数の姿勢のうちのいずれに該当するかを示す推定結果を出力するように学習された推定モデルを用い、観測データが得られた際の宇宙物体の姿勢を推定する。
【選択図】図3
特許請求の範囲
【請求項1】
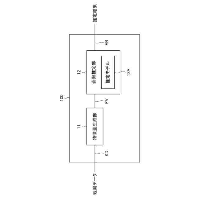
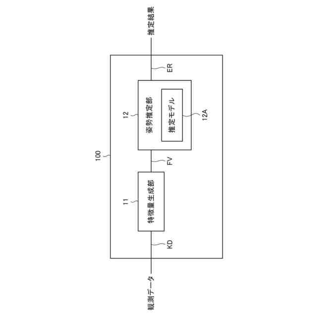
宇宙空間から地上を撮像することが可能な撮像機能を有する宇宙物体を観測することにより得られた観測データを用いて特徴量を生成する特徴量生成手段と、
前記特徴量の入力に応じ、前記宇宙物体の姿勢が複数の姿勢のうちのいずれに該当するかを示す推定結果を出力するように学習された推定モデルを用い、前記観測データが得られた際の前記宇宙物体の姿勢を推定する姿勢推定手段と、
を有する推定装置。
続きを表示(約 1,300 文字)
【請求項2】
前記宇宙物体は、太陽光から得られた電力を蓄積して利用することが可能な充電機能をさらに有し、
前記推定モデルは、前記特徴量の入力に応じ、前記宇宙物体の姿勢が撮像状態及び充電状態を含む前記複数の姿勢のうちのいずれに該当するかを示す推定結果を出力するように学習されている請求項1に記載の推定装置。
【請求項3】
前記宇宙物体は、地球の低軌道帯を周回する衛星であり、
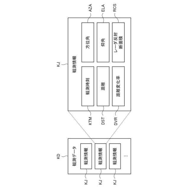
前記観測データには、前記宇宙物体が地上に設けられた観測施設の観測範囲の内部に入ったタイミングから、前記宇宙物体が当該観測範囲の外部へ出たタイミングまでの期間において得られた観測値として、前記観測施設から照射された電磁波が前記宇宙物体において反射された際の電磁波の強度に応じた値が少なくとも含まれている請求項1に記載の推定装置。
【請求項4】
前記観測値には、前記観測施設から前記宇宙物体までの距離、当該距離の変化に応じて得られた距離変化率、前記宇宙物体の水平方向の位置に対応する角度、及び、前記宇宙物体の上方向の位置に対応する角度のうちの少なくとも1つが更に含まれている請求項3に記載の推定装置。
【請求項5】
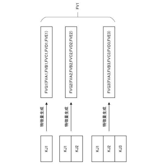
前記特徴量生成手段は、前記観測データの複数の観測時刻各々に紐づけられた複数の観測値を用いて前記特徴量を生成する請求項1に記載の推定装置。
【請求項6】
前記特徴量生成手段は、前記観測データに含まれる一の観測時刻に対応する前記特徴量を、前記観測データにおける当該一の観測時刻以前に得られた各観測値を用いて生成する請求項5に記載の推定装置。
【請求項7】
前記複数の観測値には、地上に設けられた観測施設から照射された電磁波が前記宇宙物体において反射された際の電磁波の強度に応じた値が少なくとも含まれている請求項5に記載の推定装置。
【請求項8】
前記推定モデルは、前記観測データを用いて生成された前記特徴量と、前記観測データに含まれる前記特徴量の生成に用いられた観測値と、の入力に応じて前記推定結果を出力するように学習されている請求項1に記載の推定装置。
【請求項9】
コンピュータが実行する推定方法であって、
宇宙空間から地上を撮像することが可能な撮像機能を有する宇宙物体を観測することにより得られた観測データを用いて特徴量を生成し、
前記特徴量の入力に応じ、前記宇宙物体の姿勢が複数の姿勢のうちのいずれに該当するかを示す推定結果を出力するように学習された推定モデルを用い、前記観測データが得られた際の前記宇宙物体の姿勢を推定する推定方法。
【請求項10】
宇宙空間から地上を撮像することが可能な撮像機能を有する宇宙物体を観測することにより得られた観測データを用いて特徴量を生成し、
前記特徴量の入力に応じ、前記宇宙物体の姿勢が複数の姿勢のうちのいずれに該当するかを示す推定結果を出力するように学習された推定モデルを用い、前記観測データが得られた際の前記宇宙物体の姿勢を推定する処理をコンピュータに実行させるプログラムを記録した記録媒体。
発明の詳細な説明
【技術分野】
【0001】
本開示は、宇宙物体の姿勢の推定に利用可能な技術に関する。
続きを表示(約 1,100 文字)
【背景技術】
【0002】
人工衛星等の宇宙物体の姿勢の推定に利用可能な技術が提案されている。
【0003】
具体的には、例えば、特許文献1には、様々なレーダからのレーダ断面統計を使用して、低軌道常在宇宙物体の姿勢安定性を推定する観点が開示されている。
【先行技術文献】
【特許文献】
【0004】
特表2022-522170号公報
【発明の概要】
【発明が解決しようとする課題】
【0005】
しかし、特許文献1に開示された技術によれば、例えば、宇宙空間から地上を撮像可能な機能を有する宇宙物体の姿勢を正しく推定できない場合がある、という課題が生じている。
【0006】
本開示の1つの目的は、宇宙空間から地上を撮像可能な機能を有する宇宙物体の姿勢を確実に推定することが可能な推定装置を提供することにある。
【課題を解決するための手段】
【0007】
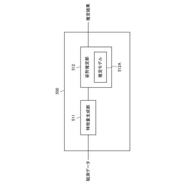
本開示の一つの観点では、推定装置は、宇宙空間から地上を撮像することが可能な撮像機能を有する宇宙物体を観測することにより得られた観測データを用いて特徴量を生成する特徴量生成手段と、前記特徴量の入力に応じ、前記宇宙物体の姿勢が複数の姿勢のうちのいずれに該当するかを示す推定結果を出力するように学習された推定モデルを用い、前記観測データが得られた際の前記宇宙物体の姿勢を推定する姿勢推定手段と、を有する。
【0008】
本開示の他の観点では、コンピュータが実行する推定方法は、宇宙空間から地上を撮像することが可能な撮像機能を有する宇宙物体を観測することにより得られた観測データを用いて特徴量を生成し、前記特徴量の入力に応じ、前記宇宙物体の姿勢が複数の姿勢のうちのいずれに該当するかを示す推定結果を出力するように学習された推定モデルを用い、前記観測データが得られた際の前記宇宙物体の姿勢を推定する。
【0009】
本開示のさらに他の観点では、記録媒体は、宇宙空間から地上を撮像することが可能な撮像機能を有する宇宙物体を観測することにより得られた観測データを用いて特徴量を生成し、前記特徴量の入力に応じ、前記宇宙物体の姿勢が複数の姿勢のうちのいずれに該当するかを示す推定結果を出力するように学習された推定モデルを用い、前記観測データが得られた際の前記宇宙物体の姿勢を推定する処理をコンピュータに実行させるプログラムを記録する。
【発明の効果】
【0010】
本開示によれば、宇宙空間から地上を撮像可能な機能を有する宇宙物体の姿勢を確実に推定することが可能となる。
【図面の簡単な説明】
(【0011】以降は省略されています)
この特許をJ-PlatPat(特許庁公式サイト)で参照する
関連特許
日本電気株式会社
管理装置
20日前
日本電気株式会社
監視装置
20日前
日本電気株式会社
光モジュール
7日前
日本電気株式会社
異常検知装置
12日前
日本電気株式会社
ラインカード及びイジェクタ
18日前
日本電気株式会社
考査装置、考査方法、プログラム
今日
日本電気株式会社
考査装置、考査方法、プログラム
今日
日本電気株式会社
交渉装置、交渉方法及びプログラム
7日前
日本電気株式会社
端末、端末の制御方法及びプログラム
18日前
日本電気株式会社
レコメンド装置およびレコメンド方法
14日前
日本電気株式会社
視聴支援装置、視聴支援方法及びプログラム
5日前
日本電気株式会社
合意判定装置、合意判定方法及びプログラム
5日前
日本電気株式会社
処理システム、処理方法、およびプログラム
11日前
日本電気株式会社
処理システム、処理方法、およびプログラム
13日前
日本電気株式会社
行動推奨装置、行動推奨方法及びプログラム
12日前
日本電気株式会社
健康管理装置、健康管理方法及びプログラム
7日前
日本電気株式会社
情報処理装置、情報処理方法、及びプログラム
11日前
日本電気株式会社
情報処理装置、情報処理方法、及びプログラム
11日前
日本電気株式会社
情報処理装置、分析方法、及び分析プログラム
5日前
日本電気株式会社
情報処理装置、情報処理方法、及びプログラム
5日前
日本電気株式会社
視線検出装置、視線検出方法、及びプログラム
11日前
日本電気株式会社
画像生成装置、画像生成方法、及びプログラム
5日前
日本電気株式会社
補聴支援装置、補聴支援方法、及び、プログラム
18日前
日本電気株式会社
蓄電制御装置、蓄電制御方法、およびプログラム
18日前
日本電気株式会社
サーバ装置、サーバ装置の制御方法及びプログラム
14日前
日本電気株式会社
制御装置、制御システム、制御方法、及びプログラム
8日前
日本電気株式会社
情報処理装置、情報処理方法、及び、制御プログラム
8日前
日本電気株式会社
情報処理装置、回答生成方法、及び回答生成プログラム
8日前
日本電気株式会社
情報出力装置、情報出力方法および情報出力プログラム
19日前
日本電気株式会社
棚システム、制御装置、棚段の制御方法、及びプログラム
5日前
日本電気株式会社
質問提案装置、質問提案方法およびコンピュータプログラム
13日前
日本電気株式会社
サーバ装置、システム、サーバ装置の制御方法及びプログラム
14日前
日本電気株式会社
サーバ装置、システム、サーバ装置の制御方法及びプログラム
18日前
日本電気株式会社
情報処理装置、情報処理システム、情報処理方法及びプログラム
18日前
日本電気株式会社
画像処理システム、画像処理装置、画像処理方法、及びプログラム
12日前
日本電気株式会社
サーバ、治安情報共有システム、治安情報共有方法及びプログラム
8日前
続きを見る
他の特許を見る