TOP
|
特許
|
意匠
|
商標
特許ウォッチ
Twitter
他の特許を見る
10個以上の画像は省略されています。
公開番号
2025165633
公報種別
公開特許公報(A)
公開日
2025-11-05
出願番号
2024069812
出願日
2024-04-23
発明の名称
検査装置、判定装置、判定方法、及びプログラム
出願人
日本電気株式会社
代理人
個人
,
個人
主分類
H01R
43/00 20060101AFI20251028BHJP(基本的電気素子)
要約
【課題】コネクタ内に端子金具が存在している箇所以外の検査を行った際に、端子金具と、コネクタと、の係止が不十分な状態でコネクタ内に存在していることを検知しやすい検査装置、判定装置、判定方法、及びプログラムを提供する。
【解決手段】検査装置は、圧縮コイルばねと、圧縮コイルばねを押圧方向に押圧可能な押し込み部と、圧縮コイルばねとともに移動し、コネクタに挿入された端子金具を押圧可能な検査プローブと、押し込み部と、圧縮コイルばねと、の接触を検知する接触センサと、導電性を有し、検査プローブが挿通された第一導電部材と、導電性を有し、第一導電部材に対向した第二導電部材と、を含み、端子金具の脱落時において、接触を維持しながら、第一導電部材と第二導電部材とが導通し、端子金具の不在時において、接触がない状態で、第一導電部材と第二導電部材とが導通する。
【選択図】図22
特許請求の範囲
【請求項1】
圧縮コイルばねと、
前記圧縮コイルばねを押圧方向に押圧可能な押し込み部と、
前記圧縮コイルばねとともに移動し、コネクタに挿入された端子金具を押圧可能な検査プローブと、
前記押し込み部と、前記圧縮コイルばねと、の接触を検知する接触センサと、
導電性を有し、前記検査プローブが挿通された第一導電部材と、
導電性を有し、前記第一導電部材に対向した第二導電部材と、を含み、
前記端子金具の脱落時において、前記接触を維持しながら、前記第一導電部材と前記第二導電部材とが導通し、
前記端子金具の不在時において、前記接触がない状態で、前記第一導電部材と前記第二導電部材とが導通する
検査装置。
続きを表示(約 1,900 文字)
【請求項2】
前記端子金具を前記押圧方向に押圧可能な第一押圧部材と、
前記押し込み部と接触可能なストッパと、
をさらに備え、
前記押し込み部は、前記第一押圧部材と結合し、
前記第一押圧部材は、前記検査プローブへ付勢可能であって、前記圧縮コイルばねに比べてばね定数が大きい第一スプリングを含む
請求項1に記載の検査装置。
【請求項3】
前記圧縮コイルばねと同軸上に、径違いの径違いばねと、
前記押し込み部と、前記径違いばねと、の接触を検知する径違いばね用接触センサと、
をさらに備え、
前記押し込み部は、前記圧縮コイルばねと接触可能な第一接触部と、前記径違いばねと接触可能な第二接触部とを有し、
前記押圧方向について、第一接触部の位置と、前記第二接触部の位置と、が異なる
請求項2に記載の検査装置。
【請求項4】
前記押し込み部は、前記押圧方向に向かうにつれて窄まっており、
前記径違いばねは、前記ストッパと、前記圧縮コイルばねと、の間に位置し、
前記径違いばねの内径は、前記圧縮コイルばねの内径よりも大きく、
前記径違いばねのばね定数は、前記圧縮コイルばねのばね定数よりも大きい且つ、第一スプリングのばね定数よりも小さい
請求項3に記載の検査装置。
【請求項5】
前記押し込み部は、板状部材であり、
前記圧縮コイルばねは、前記ストッパと、前記径違いばねと、の間に位置し、
前記径違いばねの内径は、前記圧縮コイルばねの内径よりも大きく、
前記径違いばねのばね定数は、前記圧縮コイルばねのばね定数よりも小さい
請求項3に記載の検査装置。
【請求項6】
前記径違いばねと、前記圧縮コイルばねと、は連結部材によって連結され、
前記圧縮コイルばねと、前記ストッパと、は前記連結部材によって連結される
請求項5に記載の検査装置。
【請求項7】
前記第二導電部材は、前記圧縮コイルばねを覆う断面形状を有する
請求項1から請求項6のいずれか一項に記載の検査装置。
【請求項8】
圧縮コイルばねと、
前記圧縮コイルばねを押圧方向に押圧可能な押し込み部と、
前記圧縮コイルばねとともに移動し、コネクタに挿入された端子金具を押圧可能な検査プローブと、
前記押し込み部と、前記圧縮コイルばねと、の接触を検知する接触センサと、
導電性を有し、前記検査プローブが挿通された第一導電部材と、
導電性を有し、前記第一導電部材に対向した第二導電部材と、を含む検査装置を用いて、
前記接触の検知があったか否かを判定する接触判定部と、
前記第一導電部材と前記第二導電部材との間で導通があったか否かを判定する導通判定部と、
を含む
判定装置。
【請求項9】
圧縮コイルばねと、
前記圧縮コイルばねを押圧方向に押圧可能な押し込み部と、
前記圧縮コイルばねとともに移動し、コネクタに挿入された端子金具を押圧可能な検査プローブと、
前記押し込み部と、前記圧縮コイルばねと、の接触を検知する接触センサと、
導電性を有し、前記検査プローブが挿通された第一導電部材と、
導電性を有し、前記第一導電部材に対向した第二導電部材と、を含む検査装置を用いて、
前記接触の検知があったか否かを判定するステップと、
前記第一導電部材と前記第二導電部材との間で導通があったか否かを判定するステップと、
を含む
判定方法。
【請求項10】
圧縮コイルばねと、
前記圧縮コイルばねを押圧方向に押圧可能な押し込み部と、
前記圧縮コイルばねとともに移動し、コネクタに挿入された端子金具を押圧可能な検査プローブと、
前記押し込み部と、前記圧縮コイルばねと、の接触を検知する接触センサと、
導電性を有し、前記検査プローブが挿通された第一導電部材と、
導電性を有し、前記第一導電部材に対向した第二導電部材と、を含む検査装置を用いて、
前記接触の検知があったか否かを判定するステップと、
前記第一導電部材と前記第二導電部材との間で導通があったか否かを判定するステップと、
を含む
プログラム。
発明の詳細な説明
【技術分野】
【0001】
本開示は、検査装置、判定装置、判定方法、及びプログラムに関する。
続きを表示(約 2,100 文字)
【背景技術】
【0002】
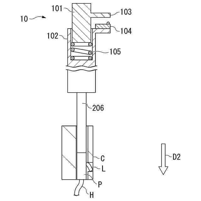
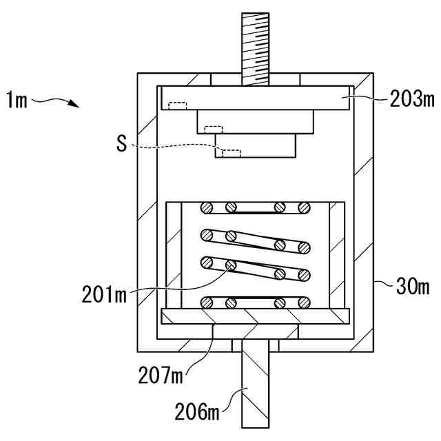
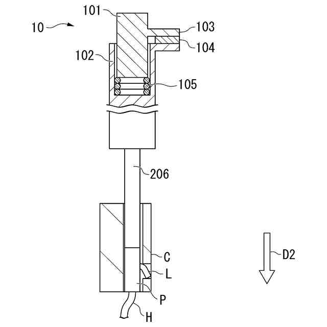
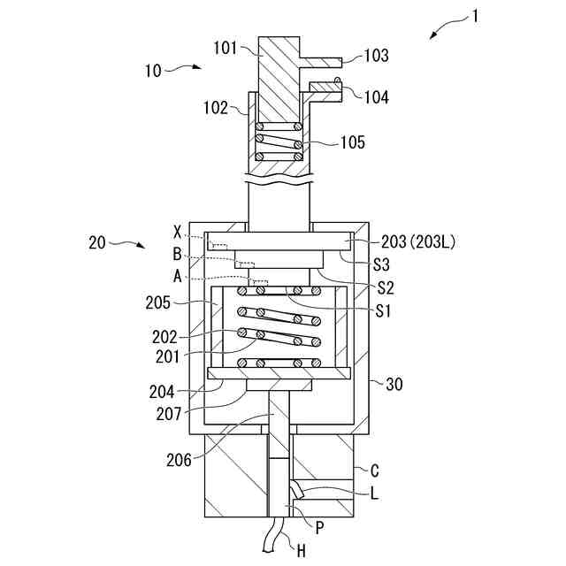
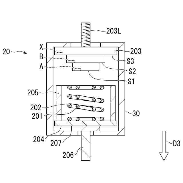
端子金具と、コネクタと、の係止状態の確認に、検査装置を用いることが知られている。
【0003】
例えば、特許文献1には、電線端子(以下、「端子金具」とも称する。)を押し込み、コネクタとの係止状態を確認する検査装置が開示されている。
【先行技術文献】
【特許文献】
【0004】
特開2001-345158号公報
【発明の概要】
【発明が解決しようとする課題】
【0005】
特許文献1には、「コネクタ内に電線端子が正常に存在するときには、検査時前方プローブがコネクタ内の電線端子に突き当たり付勢に抗して後退して後方プローブと接触し、検査部の出力手段が前方プローブを介して後方プローブと電気接続されるようになり、これに対し、コネクタ内に電線端子が正常に存在しないときには、検査時前方プローブがコネクタ内の電線端子に突き当たり付勢に抗して後退することがなく、後方プローブとも接触せず、検査部の出力手段が前方プローブを介して後方プローブと電気接続されることがないので、出力手段と後方プローブとの電気接続を確認することで、コネクタ内に電線端子が正常に存在するかどうかの検査を行うことできる。オプション用電線の接続された電線端子が正しく装着されて収容されているかどうかを簡単に検査できるコネクタ端子検査器」が開示されている。
しかしながら、コネクタ内に端子金具が存在しても、端子金具と、コネクタと、の係止が不十分な時がある。この時、上記開示の前方プローブにて端子金具を押し込んだ時に、前方プローブに付勢を与えるコイルスプリングの力よりも弱い力で端子金具がコネクタから抜けてしまうことがある。そうすると、前方プローブが後方プローブに接触しないため、作業者は端子金具と、コネクタと、の係止が不十分な時には、端子金具がコネクタ内に存在しない状態との区別がしにくい。
【0006】
ハーネスのワイヤリングに関する設計データを参考に、端子金具がコネクタに存在している箇所についてのみ検査が行われることがある。そうすると、設計上存在しないはずの位置に端子金具が係止不十分な状態で存在している場合には、上述の事情から端子金具が存在しないと判断され、検査に合格してしまうことがある。
端子金具がコネクタから完全に脱落せずに、コネクタ内に存在し続けると、端子金具の配列が設計データと異なる状態で検査を通過する。そうすると、次工程の導通試験で不合格となり、不合格の原因究明やコネクタの修理に時間を要する。
こうしたことから、コネクタ内に端子金具が存在している箇所以外の検査を行った際に、端子金具と、コネクタと、の係止が不十分な状態でコネクタ内に存在していることを検知したいといった需要がある。
【0007】
本開示の目的は、上述した課題を解決する検査装置、判定装置、判定方法、及びプログラムを提供することにある。
【課題を解決するための手段】
【0008】
本開示の検査装置は、圧縮コイルばねと、前記圧縮コイルばねを押圧方向に押圧可能な押し込み部と、前記圧縮コイルばねとともに移動し、コネクタに挿入された端子金具を押圧可能な検査プローブと、前記押し込み部と、前記圧縮コイルばねと、の接触を検知する接触センサと、導電性を有し、前記検査プローブが挿通された第一導電部材と、導電性を有し、前記第一導電部材に対向した第二導電部材と、を含み、前記端子金具の脱落時において、前記接触を維持しながら、前記第一導電部材と前記第二導電部材とが導通し、前記端子金具の不在時において、前記接触がない状態で、記第一導電部材と前記第二導電部材とが導通する。
【0009】
本開示の判定装置は、圧縮コイルばねと、前記圧縮コイルばねを押圧方向に押圧可能な押し込み部と、前記圧縮コイルばねとともに移動し、コネクタに挿入された端子金具を押圧可能な検査プローブと、前記押し込み部と、前記圧縮コイルばねと、の接触を検知する接触センサと、導電性を有し、前記検査プローブが挿通された第一導電部材と、導電性を有し、前記第一導電部材に対向した第二導電部材と、を含む検査装置を用いて、前記接触の検知があったか否かを判定する接触判定部と、前記第一導電部材と前記第二導電部材との間で導通があったか否かを判定する導通判定部と、を含む。
【0010】
本開示の判定方法は、圧縮コイルばねと、前記圧縮コイルばねを押圧方向に押圧可能な押し込み部と、前記圧縮コイルばねとともに移動し、コネクタに挿入された端子金具を押圧可能な検査プローブと、前記押し込み部と、前記圧縮コイルばねと、の接触を検知する接触センサと、導電性を有し、前記検査プローブが挿通された第一導電部材と、導電性を有し、前記第一導電部材に対向した第二導電部材と、を含む検査装置を用いて、前記接触の検知があったか否かを判定するステップと、前記第一導電部材と前記第二導電部材との間で導通があったか否かを判定するステップと、を含む。
(【0011】以降は省略されています)
この特許をJ-PlatPat(特許庁公式サイト)で参照する
関連特許
日本電気株式会社
特定装置
10日前
日本電気株式会社
情報処理装置、方法、及び、プログラム
3日前
日本電気株式会社
情報処理装置、方法、及び、プログラム
3日前
日本電気株式会社
情報処理装置、情報処理方法、プログラム
10日前
日本電気株式会社
情報処理装置、情報処理方法、プログラム
3日前
日本電気株式会社
制御装置、制御プログラム、および制御方法
3日前
日本電気株式会社
情報処理装置、情報処理方法及びプログラム
3日前
日本電気株式会社
制御装置、無線端末、方法、及びプログラム
11日前
日本電気株式会社
情報処理装置、情報処理方法、及びプログラム
5日前
日本電気株式会社
情報処理装置、情報処理方法、及びプログラム
4日前
日本電気株式会社
原子発振器、制御方法、制御装置、プログラム
10日前
日本電気株式会社
情報処理装置、情報処理方法、及びプログラム
5日前
日本電気株式会社
情報処理装置、情報処理方法、及びプログラム
3日前
日本電気株式会社
画像処理装置、画像処理方法およびプログラム
4日前
日本電気株式会社
通信監視装置、通信監視方法、およびプログラム
5日前
日本電気株式会社
音響送受波装置、及び音響送受波装置の構築方法
3日前
日本電気株式会社
構造秘匿ニューラルネットワークモデル生成装置
3日前
日本電気株式会社
情報処理装置、情報処理方法、及び、プログラム
11日前
日本電気株式会社
ダッシュボード表示装置、表示方法及びプログラム
10日前
日本電気株式会社
同期装置、同期システム、同期方法及びプログラム
10日前
日本電気株式会社
画像解析システム、注目点検出装置及び画像解析方法
10日前
日本電気株式会社
監視システム、監視装置、監視方法、及び、プログラム
11日前
日本電気株式会社
治験支援装置、治験支援方法および治験支援プログラム
10日前
日本電気株式会社
監視システム、監視装置、監視方法、及び、プログラム
3日前
日本電気株式会社
セキュリティシステム、セキュリティ方法及びプログラム
11日前
日本電気株式会社
ノイズ除去装置、ノイズ除去方法及びノイズ除去プログラム
3日前
日本電気株式会社
通信制御装置、通信システム、通信制御方法及びプログラム
10日前
日本電気株式会社
面談支援装置、面談支援方法およびコンピュータプログラム
3日前
日本電気株式会社
情報処理装置、情報処理システム、情報処理方法、及びプログラム
3日前
日本電気株式会社
無線基地局装置、無線端末装置、制御方法、及び、制御プログラム
11日前
日本電気株式会社
無線基地局装置、無線端末装置、制御方法、及び、制御プログラム
11日前
日本電気株式会社
情報処理装置、情報処理システム、情報処理方法、及びプログラム
4日前
日本電気株式会社
等化信号処理回路、受信機、通信知システム、及び等化信号処理方法
10日前
日本電気株式会社
サーバ装置、認証端末、システム、サーバ装置の制御方法及びプログラム
11日前
日本電気株式会社
伝達音抑制装置、伝達音抑制システム、伝達音抑制方法およびプログラム
3日前
日本電気株式会社
検査装置、記録装置、検査システム、検査方法、記録方法、及びプログラム
4日前
続きを見る
他の特許を見る