TOP
|
特許
|
意匠
|
商標
特許ウォッチ
Twitter
他の特許を見る
10個以上の画像は省略されています。
公開番号
2025176465
公報種別
公開特許公報(A)
公開日
2025-12-04
出願番号
2024082641
出願日
2024-05-21
発明の名称
情報処理装置、情報処理システム、情報処理方法、及びプログラム
出願人
日本電気株式会社
代理人
個人
,
個人
,
個人
主分類
H04N
23/56 20230101AFI20251127BHJP(電気通信技術)
要約
【課題】対象への光の照射を適切に行う。
【解決手段】情報処理装置は、移動する第1対象が所定領域に位置した場合に少なくとも前記第1対象に光を照射する第1モード、及び、移動する第2対象が前記所定領域に位置した場合に少なくとも前記第2対象に光を照射する第2モードの少なくとも一方で光を照射するように照明装置を制御する制御手段と、前記照明装置により光が照射された前記第1対象の生体情報、及び、前記照明装置により光が照射された前記第2対象の生体情報の少なくとも一方を取得する取得手段とを備える。
【選択図】図1
特許請求の範囲
【請求項1】
移動する第1対象が所定領域に位置した場合に少なくとも前記第1対象に光を照射する第1モード、及び、移動する第2対象が前記所定領域に位置した場合に少なくとも前記第2対象に光を照射する第2モードの少なくとも一方で光を照射するように照明装置を制御する制御手段と、
前記照明装置により光が照射された前記第1対象の生体情報、及び、前記照明装置により光が照射された前記第2対象の生体情報の少なくとも一方を取得する取得手段と
を備える情報処理装置。
続きを表示(約 1,800 文字)
【請求項2】
前記第1対象が前記所定領域に位置した場合の前記第1対象の第1位置、及び、前記第2対象が前記所定領域に位置した場合の前記第2対象の第2位置は、前記第1対象及び前記第2対象の移動方向と異なる並び方向における異なる位置である
請求項1に記載の情報処理装置。
【請求項3】
前記照明装置は、
前記第1対象及び前記第2対象が移動する移動領域における、前記並び方向の一方側の端部及び他方側の端部に設けられる
請求項2に記載の情報処理装置。
【請求項4】
前記制御手段は、
対象が前記移動領域の前記移動方向と異なる方向の中央より一方側を移動している場合、前記移動領域の一方側の端部に設けられた前記照明装置が照射する光より、前記移動領域の他方の端部に設けられた前記照明装置が照射する光の方が多く、
対象が前記移動領域の前記移動方向と異なる方向の中央より他方側を移動している場合、前記移動領域の他方の端部に設けられた前記照明装置が照射する光より、前記移動領域の一方側の端部に設けられた前記照明装置が照射する光の方が多くなるように制御する
請求項3に記載の情報処理装置。
【請求項5】
前記照明装置は、並んで配置された複数の照明要素を含み、
前記制御手段は、前記並び方向における対象の位置に応じて、前記複数の照明要素の各々による光の照射を制御する
請求項2に記載の情報処理装置。
【請求項6】
前記制御手段は、
前記第1対象が前記第1位置に位置した際に前記第2対象が前記第2位置に位置した場合、前記複数の照明要素の全てに光を照射させる
請求項5に記載の情報処理装置。
【請求項7】
前記並び方向の一方側の端部に少なくとも2つの一方側の照明装置を有し、
前記制御手段は、対象が前記並び方向の中央より一方側に位置する場合、前記少なくとも2つの一方側の照明装置のうちの第1照明装置が前記対象の右の目に光を照射し、前記少なくとも2つの一方側の照明装置のうちの第2照明装置が前記対象の左の目に光を照射するように制御し、
前記並び方向の他方側の端部に少なくとも2つの他方側の照明装置を有し、
前記制御手段は、前記対象が前記並び方向の中央より他方側に位置する場合、前記少なくとも2つの他方側の照明装置のうちの第1照明装置が前記対象の右の目に光を照射し、前記少なくとも2つの他方側の照明装置のうちの第2照明装置が前記対象の左の目に光を照射するように制御する
請求項2に記載の情報処理システム。
【請求項8】
移動する第1対象が所定領域に位置した場合に少なくとも前記第1対象に光を照射する第1モード、及び、移動する第2対象が前記所定領域に位置した場合に少なくとも前記第2対象に光を照射する第2モードの少なくとも一方で光を照射するように照明装置を制御する制御手段と、
前記照明装置により光が照射された前記第1対象の生体情報、及び、前記照明装置により光が照射された前記第2対象の生体情報の少なくとも一方を取得する取得手段と
を備える情報処理システム。
【請求項9】
コンピュータが実行する情報処理であって、
移動する第1対象が所定領域に位置した場合に少なくとも前記第1対象に光を照射する第1モード、及び、移動する第2対象が前記所定領域に位置した場合に少なくとも前記第2対象に光を照射する第2モードの少なくとも一方で光を照射するように照明装置を制御し、
前記照明装置により光が照射された前記第1対象の生体情報、及び、前記照明装置により光が照射された前記第2対象の生体情報の少なくとも一方を取得する
情報処理方法。
【請求項10】
移動する第1対象が所定領域に位置した場合に少なくとも前記第1対象に光を照射する第1モード、及び、移動する第2対象が前記所定領域に位置した場合に少なくとも前記第2対象に光を照射する第2モードの少なくとも一方で光を照射するように照明装置を制御し、
前記照明装置により光が照射された前記第1対象の生体情報、及び、前記照明装置により光が照射された前記第2対象の生体情報の少なくとも一方を取得する
情報処理方法をコンピュータに実行させるプログラム。
発明の詳細な説明
【技術分野】
【0001】
この開示は、情報処理装置、情報処理システム、情報処理方法、及びプログラムの技術分野に関する。
続きを表示(約 2,000 文字)
【背景技術】
【0002】
人物に光を照射する装置が知られている。例えば特許文献1は、人物の位置に基づいて、光量を調整して光を照射する装置を開示している。
【先行技術文献】
【特許文献】
【0003】
特開2015-134678号公報
【発明の概要】
【発明が解決しようとする課題】
【0004】
この開示は、上述した関連する技術を改善することを目的とする。
【課題を解決するための手段】
【0005】
この開示の情報処理装置の一の態様は、移動する第1対象が所定領域に位置した場合に少なくとも前記第1対象に光を照射する第1モード、及び、移動する第2対象が前記所定領域に位置した場合に少なくとも前記第2対象に光を照射する第2モードの少なくとも一方で光を照射するように照明装置を制御する制御手段と、前記照明装置により光が照射された前記第1対象の生体情報、及び、前記照明装置により光が照射された前記第2対象の生体情報の少なくとも一方を取得する取得手段とを備える。
【0006】
この開示の情報処理システムの一の態様は、移動する第1対象が所定領域に位置した場合に少なくとも前記第1対象に光を照射する第1モード、及び、移動する第2対象が前記所定領域に位置した場合に少なくとも前記第2対象に光を照射する第2モードの少なくとも一方で光を照射するように照明装置を制御する制御手段と、前記照明装置により光が照射された前記第1対象の生体情報、及び、前記照明装置により光が照射された前記第2対象の生体情報の少なくとも一方を取得する取得手段とを備える。
【0007】
この開示の情報処理方法の一の態様は、移動する第1対象が所定領域に位置した場合に少なくとも前記第1対象に光を照射する第1モード、及び、移動する第2対象が前記所定領域に位置した場合に少なくとも前記第2対象に光を照射する第2モードの少なくとも一方で光を照射するように照明装置を制御し、前記照明装置により光が照射された前記第1対象の生体情報、及び、前記照明装置により光が照射された前記第2対象の生体情報の少なくとも一方を取得する。
【0008】
この開示のプログラムの一の態様は、移動する第1対象が所定領域に位置した場合に少なくとも前記第1対象に光を照射する第1モード、及び、移動する第2対象が前記所定領域に位置した場合に少なくとも前記第2対象に光を照射する第2モードの少なくとも一方で光を照射するように照明装置を制御し、前記照明装置により光が照射された前記第1対象の生体情報、及び、前記照明装置により光が照射された前記第2対象の生体情報の少なくとも一方を取得する情報処理方法をコンピュータに実行させる。
【図面の簡単な説明】
【0009】
この開示にかかる情報処理装置の構成を示すブロック図である。
この開示にかかる情報処理装置における情報処理動作の流れを示すフローチャートである。
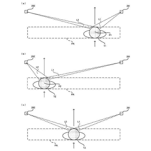
この開示にかかる情報処理装置における情報処理動作の概要を示す概要図である。
この開示にかかる情報処理システムの概観を示す概観図である。
この開示にかかる情報処理装置の構成を示すブロック図である。
この開示にかかる情報処理装置における情報処理動作の流れを示すフローチャートである。
この開示にかかる情報処理装置における情報処理動作の概要を示す概要図である。
この開示にかかる情報処理装置における情報処理動作の概要を示す概要図である。
この開示にかかる情報処理システムの概観を示す概観図である。
この開示にかかる情報処理装置の構成を示すブロック図である。
この開示にかかる情報処理装置における情報処理動作の概要を示す概要図である。
この開示にかかる情報処理装置における情報処理動作の概要を示す概要図である。
この開示にかかる情報処理装置における情報処理動作の概要を示す概要図である。
この開示にかかる照明装置の変形例の概観を示す概観図である。における情報処理動作の概要を示す概要図である。
この開示にかかる情報処理システムの概観を示す概観図である。
この開示にかかる情報処理装置の構成を示すブロック図である。
この開示にかかる情報処理装置における情報処理動作の概要を示す概要図である。
【発明を実施するための形態】
【0010】
以下、図面を参照しながら、情報処理装置、情報処理システム、情報処理方法、及びプログラムの実施形態について説明する。
[1:第1実施形態]
(【0011】以降は省略されています)
この特許をJ-PlatPat(特許庁公式サイト)で参照する
関連特許
日本電気株式会社
特定装置
6日前
日本電気株式会社
監視装置
1か月前
日本電気株式会社
管理装置
1か月前
日本電気株式会社
監視装置
1か月前
日本電気株式会社
海底分岐装置
1か月前
日本電気株式会社
光モジュール
1か月前
日本電気株式会社
異常検知装置
1か月前
日本電気株式会社
推論装置および推論方法
29日前
日本電気株式会社
ラインカード及びイジェクタ
1か月前
日本電気株式会社
考査装置、考査方法、プログラム
1か月前
日本電気株式会社
時刻維持装置および時刻維持方法
28日前
日本電気株式会社
考査装置、考査方法、プログラム
1か月前
日本電気株式会社
交渉装置、交渉方法及びプログラム
1か月前
日本電気株式会社
交渉装置、交渉方法及びプログラム
14日前
日本電気株式会社
ボロメータアレイ、及び光検出方法
8日前
日本電気株式会社
監視装置、監視方法、及びプログラム
27日前
日本電気株式会社
レコメンド装置およびレコメンド方法
1か月前
日本電気株式会社
端末、端末の制御方法及びプログラム
1か月前
日本電気株式会社
情報処理装置、情報処理方法、プログラム
29日前
日本電気株式会社
店舗端末、情報処理方法、及びプログラム
29日前
日本電気株式会社
乗車誘導計画装置および乗車誘導計画方法
20日前
日本電気株式会社
情報処理装置、情報処理方法、プログラム
6日前
日本電気株式会社
処理システム、処理方法、およびプログラム
1か月前
日本電気株式会社
合意判定装置、合意判定方法及びプログラム
14日前
日本電気株式会社
合意判定装置、合意判定方法及びプログラム
1か月前
日本電気株式会社
行動推奨装置、行動推奨方法及びプログラム
1か月前
日本電気株式会社
発話認識装置、プログラム及び発話認識方法
8日前
日本電気株式会社
処理システム、処理方法、およびプログラム
1か月前
日本電気株式会社
健康管理装置、健康管理方法及びプログラム
1か月前
日本電気株式会社
制御装置、無線端末、方法、及びプログラム
7日前
日本電気株式会社
経路選択装置、経路選択方法及びプログラム
27日前
日本電気株式会社
視聴支援装置、視聴支援方法及びプログラム
1か月前
日本電気株式会社
情報処理装置、情報処理方法、及びプログラム
28日前
日本電気株式会社
情報処理装置、情報処理方法、及びプログラム
28日前
日本電気株式会社
情報処理装置、情報処理方法、及びプログラム
28日前
日本電気株式会社
情報処理装置、情報処理方法、及びプログラム
28日前
続きを見る
他の特許を見る