TOP
|
特許
|
意匠
|
商標
特許ウォッチ
Twitter
他の特許を見る
10個以上の画像は省略されています。
公開番号
2025174462
公報種別
公開特許公報(A)
公開日
2025-11-28
出願番号
2024080858
出願日
2024-05-17
発明の名称
等化信号処理回路、受信機、通信知システム、及び等化信号処理方法
出願人
日本電気株式会社
代理人
個人
主分類
H04B
10/2507 20130101AFI20251120BHJP(電気通信技術)
要約
【課題】回路設計の複雑さを緩和することを可能にする。
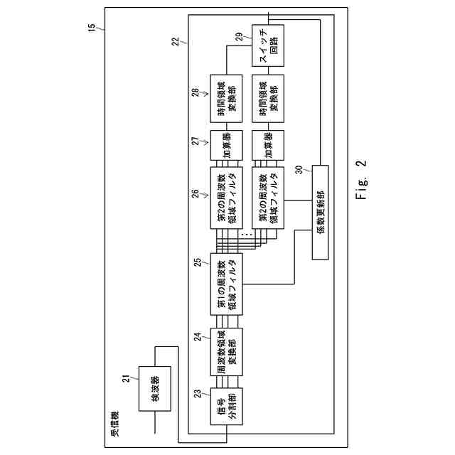
【解決手段】等化信号処理回路は、有理数M/L倍のオーバーサンプリングの入力信号を、M個の信号に分割する信号分割部と、M個の周波数領域の信号に対して第1のフィルタ係数を演算する第1の周波数領域フィルタと、Lグループごとに、第1のフィルタ係数が演算されたM個の信号に第2のフィルタ係数を演算する第2の周波数領域フィルタと、グループごとに加算された信号を時間領域の信号に変換する時間領域変換部と、グループごとに時間領域の信号に変換された信号を順次に選択するスイッチ回路と、記第1のフィルタ係数及び第2のフィルタ係数を更新する係数更新部とを含む。
【選択図】図2
特許請求の範囲
【請求項1】
M及びLを1<M/L<2を満たす自然数として、有理数M/L倍のオーバーサンプリングの入力信号を、M個の信号に分割する信号分割部と、
分割されたM個の信号をそれぞれ周波数領域の信号に変換する周波数領域変換部と、
前記周波数領域の信号に変換されたM個の信号に対して第1のフィルタ係数を演算する第1の周波数領域フィルタと、
Lグループごとに、前記第1のフィルタ係数が演算されたM個の信号に第2のフィルタ係数を演算する第2の周波数領域フィルタと、
グループごとに、前記第2のフィルタ係数が演算されたM個の信号を加算する加算器と、
グループごとに、前記加算器の出力信号を時間領域の信号に変換する時間領域変換部と、
グループごとに前記時間領域の信号に変換された信号を順次に選択するスイッチ回路と、
前記スイッチ回路から出力される信号と所定値との差の大きさを損失関数として、誤差逆伝播法を用いて前記損失関数の前記第1のフィルタ係数についての勾配、及び前記損失関数の前記第2のフィルタ係数についての勾配を計算し、前記第1のフィルタ係数及び前記第2のフィルタ係数を更新する係数更新部とを備える等化信号処理回路。
続きを表示(約 2,000 文字)
【請求項2】
前記等化信号処理回路は、複数の信号が入力され、複数の信号を出力する回路として構成され、前記第1の周波数領域フィルタはmulti-input multi-output(MIMO)フィルタとして構成される、請求項1に記載の等化信号処理回路。
【請求項3】
前記係数更新部は、確率的勾配降下法により、前記損失関数の前記第1のフィルタ係数についての勾配に基づいて前記第1のフィルタ係数を更新し、確率的勾配降下法により、前記損失関数の前記第2のフィルタ係数についての勾配に基づいて前記第2のフィルタ係数を更新する、請求項1又は2に記載の等化信号処理回路。
【請求項4】
前記入力信号は、伝送路を介して伝送された信号を受信機がコヒーレント受信した信号である、請求項1又は2に記載の等化信号処理回路。
【請求項5】
前記スイッチ回路から出力される信号に対して時間領域のフィルタ処理を実施する時間領域フィルタを更に有し、
前記係数更新部は、前記時間領域フィルタの出力信号と前記所定値との差の大きさを損失関数として計算する、請求項1又は2に記載の等化信号処理回路。
【請求項6】
前記スイッチ回路は、1サンプルごとに選択するグループを切り替える、請求項1又は2に記載の等化信号処理回路。
【請求項7】
ブロック間に一定のオーバーラップを設けつつ、前記入力信号をシリアル信号からブロック信号に変換し、該変換したブロック信号を前記信号分割部に入力するブロック変換部と、
前記スイッチ回路から出力される信号に含まれる周期性の仮定に影響されない領域を残し、前記スイッチ回路から出力される信号に含まれる周期性の仮定に影響されうる領域を除きつつ、前信スイッチ回路から出力される信号をブロック信号からシリアル信号に変換するシリアル変換部とを更に有する、請求項1又は2に記載の等化信号処理回路。
【請求項8】
伝送路を介して送信機から送信された信号をコヒーレント受信する検波器と、
前記コヒーレント受信された信号に対して等化信号処理を実施する等化信号処理回路とを備え、
前記等化信号処理回路は、
M及びLを1<M/L<2を満たす自然数として、有理数M/L倍のオーバーサンプリングの入力信号を、M個の信号に分割する信号分割部と、
分割されたM個の信号をそれぞれ周波数領域の信号に変換する周波数領域変換部と、
前記周波数領域の信号に変換されたM個の信号に対して第1のフィルタ係数を演算する第1の周波数領域フィルタと、
Lグループごとに、前記第1のフィルタ係数が演算されたM個の信号に第2のフィルタ係数を演算する第2の周波数領域フィルタと、
グループごとに、前記第2のフィルタ係数が演算されたM個の信号を加算する加算器と、
グループごとに、前記加算器の出力信号を時間領域の信号に変換する時間領域変換部と、
グループごとに前記時間領域の信号に変換された信号を順次に選択するスイッチ回路と、
前記スイッチ回路から出力される信号と所定値との差の大きさを損失関数として、誤差逆伝播法を用いて前記損失関数の前記第1のフィルタ係数についての勾配、及び前記損失関数の前記第2のフィルタ係数についての勾配を計算し、前記第1のフィルタ係数及び前記第2のフィルタ係数を更新する係数更新部とを有する、受信機。
【請求項9】
伝送路を介して信号を送信する送信機と、
請求項8に記載の受信機とを備える通信システム。
【請求項10】
M及びLを1<M/L<2を満たす自然数として、有理数M/L倍のオーバーサンプリングの入力信号を、M個の信号に分割し、
分割されたM個の信号をそれぞれ周波数領域の信号に変換し、
前記周波数領域の信号に変換されたM個の信号に対して第1のフィルタ係数を演算し、
Lグループごとに、前記第1のフィルタ係数が演算されたM個の信号に第2のフィルタ係数を演算し、
グループごとに、前記第2のフィルタ係数が演算されたM個の信号を加算し、
グループごとに、前記加算された出力信号を時間領域の信号に変換し、
グループごとに前記時間領域の信号に変換された信号を順次に選択して各グループの信号を連結し、
前選連結された信号と所定値との差の大きさを損失関数として、誤差逆伝播法を用いて前記損失関数の前記第1のフィルタ係数についての勾配、及び前記損失関数の前記第2のフィルタ係数についての勾配を計算し、前記第1のフィルタ係数及び前記第2のフィルタ係数を更新することを有する等化信号処理方法。
発明の詳細な説明
【技術分野】
【0001】
本開示は、等化信号処理回路、受信機、通信知システム、及び等化信号処理方法に関する。
続きを表示(約 3,000 文字)
【背景技術】
【0002】
光ファイバ通信において、コヒーレント受信とデジタル信号処理とを組み合わせた、いわゆるデジタルコヒーレント技術が導入されて以来、デジタル信号処理による柔軟な受信側等化信号処理が可能となった。受信側等化信号処理では、例えば、光ファイバ伝送路で蓄積される波長分散が、受信側の装置において一括して補償される。
【0003】
光ファイバ通信では、一般的に高速かつ大容量の信号が扱われる。このため、光ファイバ通信を扱うデジタル信号処理にも、高いスループットが求められる。したがって、デジタル信号処理が必要とする計算量の大きさが、しばしば問題となる。適応等化フィルタは、伝送路の状態に応じて、その応答が適応的に制御される。適応等化フィルタは、光ファイバ通信における受信側等化信号処理の重要な要素の1つであり、この適応等化フィルタについても、計算量の効率化が求められている。
【0004】
適応等化フィルタが、時間広がりの大きい効果を補償する場合、時間広がりの大きい応答を表現可能な大きなフィルタが適応等化フィルタに使用され、適応等化フィルタにおいて、補償に必要な計算量は増大する。時間広がりが大きい効果の補償を効率的に行うための方法の1つとして、周波数領域フィルタの採用が考えられている。周波数領域では、時間領域での入力信号へのフィルタ応答の畳み込み演算を、単なる乗算として扱うことができる。また、時間領域信号の周波数領域への変換は、fast Fourier transform(FFT)によって効率的に行うことができる。このため、応答の時間広がりが大きい場合、周波数領域フィルタは、時間領域フィルタに比べて、必要な計算量が低減される。
【0005】
関連技術として、非特許文献1は、周波数領域フィルタの応答が適応的に制御される適応周波数領域フィルタを開示する。図8は、非特許文献1に記載される適応周波数領域フィルタの例を示すブロック図である。この適応周波数領域フィルタは、線形の適応フィルタである。通常、Nyquist基準の関係から、線形の適応フィルタは、1シンボル当たり2つのサンプルの信号、つまり2倍オーバーサンプリングの入力信号に対して動作する。
【0006】
図8に示される適応周波数領域フィルタ600において、ブロック変換部601は、2倍オーバーサンプリングの時間領域入力信号を、周波数領域への変換のため、ある一定の長さのブロックの信号に変換する。すなわち、ブロック変換部601は、時間領域入力信号に対して、シリアル/ブロック変換を実施する。周波数領域への変換の際、ブロック化された信号の周期性が仮定される。しかし、光通信で扱われる信号に対しては、一般には、信号の周期性の仮定は成り立たない。このため、オーバーラップセーブ法が用いられる。すなわち、入力信号のシリアル/ブロック変換の際に、ブロック間に一定の割合、例えば50%のオーバーラップが設けられる。
【0007】
FFT602は、ブロック化された入力信号を、周波数領域の信号に変換する。周波数領域フィルタ603は、周波数ごとに、入力信号にフィルタ係数を乗算する。inverse FFT(IFFT)604は、周波数領域フィルタ603の出力信号を、周波数領域の信号から時間領域の信号に変換する。シリアル変換部605は、IFFT604で時間領域の信号に変換された、ブロック化された信号を、シリアル信号に変換する。すなわち、シリアル変換部605は、IFFT604の出力信号に対して、ブロック/シリアル変換を実施する。シリアル変換部605は、シリアル信号への変換では、IFFT604の出力信号のうち、上記周期性の仮定に影響されない領域のみを残し、他の領域は取り除く。ダウンサンプリング部606は、シリアル変換部605の出力信号に対して1/2倍ダウンサンプリングを行う。周波数領域フィルタ603の係数は、周波数領域フィルタ603の入力信号と、シリアル変換部605の出力信号とを用いて、適応的に制御される。
【0008】
ここで、ブロック変換部601でブロック化された入力信号ベクトルをxとする。また、1ブロックの入力信号に対する、1倍オーバーサンプリング時間領域シリアル信号のサイズをNとする。オーバーラップ率が50%の場合、xの長さは4Nである。xは、2倍オーバーサンプリングの信号であり、下記式1で表される。
TIFF
2025174462000002.tif
8
134
式1においてTは転置を表す。入力信号ベクトルxを周波数領域へ変換した信号ベクトルをXとすると、周波数領域の入力信号ベクトルXは、下記式2で表される。
TIFF
2025174462000003.tif
8
139
k,n=0,1,...,4N-1として、下記式3及び4が成立する。
TIFF
2025174462000004.tif
19
129
TIFF
2025174462000005.tif
18
114
【0009】
周波数領域フィルタ603のフィルタ係数ベクトルをHとして、周波数領域フィルタ603の出力ベクトルをY
+
とする。周波数領域でのフィルタ係数の演算は、下記式5に示されるように、フィルタ係数ベクトルHと入力信号ベクトルXとHadamard積として表される。
TIFF
2025174462000006.tif
11
156
周波数領域フィルタ603の出力信号ベクトルY
+
を、IFFT604によって時間領域へ変換した信号ベクトルを、y
+
とする。時間領域の出力信号ベクトルy
+
は、下記式6に示されるように、周期性の仮定に影響されない領域yと、周期性の仮定に影響され得る領域y
~
とを含む。
TIFF
2025174462000007.tif
21
134
50%のオーバーラップを想定した場合、y及びy
~
のそれぞれの長さは2Nとなる。
【0010】
シリアル変換部605は、上記式6で表される出力信号ベクトルy
+
から周期性の仮定に影響され得る領域y
~
を取り除き、領域yのみを残して、ブロック/シリアル変換を実施する。ダウンサンプリング部606は、シリアル変換部605から出力されるyに対して1/2倍ダウンサンプリングを行い、ダウンサンプルされた信号y
↓2
を出力する。y
↓2
の長さはNである。フィルタ係数の適応制御に用いられるアルゴリズムに依存して、ダウンプサンプリングされた出力信号y
↓2
に対してキャリア位相補償及び周波数オフセット補償のための位相回転を施し、フィルタ係数の更新を行ってもよい。
(【0011】以降は省略されています)
この特許をJ-PlatPat(特許庁公式サイト)で参照する
関連特許
日本電気株式会社
特定装置
2日前
日本電気株式会社
監視装置
1か月前
日本電気株式会社
管理装置
1か月前
日本電気株式会社
監視装置
1か月前
日本電気株式会社
異常検知装置
1か月前
日本電気株式会社
光モジュール
1か月前
日本電気株式会社
海底分岐装置
1か月前
日本電気株式会社
光集積回路素子
1か月前
日本電気株式会社
レーザモジュール
1か月前
日本電気株式会社
超伝導量子回路装置
1か月前
日本電気株式会社
受信器および通信装置
1か月前
日本電気株式会社
システム、装置及び方法
1か月前
日本電気株式会社
通信装置および通信方法
1か月前
日本電気株式会社
推論装置および推論方法
25日前
日本電気株式会社
光伝送システムおよび方法
1か月前
日本電気株式会社
ラインカード及びイジェクタ
1か月前
日本電気株式会社
制御装置、プログラム及び方法
1か月前
日本電気株式会社
兆候検知装置および兆候検知方法
1か月前
日本電気株式会社
演算処理装置および演算処理方法
1か月前
日本電気株式会社
考査装置、考査方法、プログラム
26日前
日本電気株式会社
考査装置、考査方法、プログラム
26日前
日本電気株式会社
時刻維持装置および時刻維持方法
24日前
日本電気株式会社
交渉装置、交渉方法及びプログラム
1か月前
日本電気株式会社
交渉装置、交渉方法及びプログラム
10日前
日本電気株式会社
ボロメータアレイ、及び光検出方法
4日前
日本電気株式会社
放送用システムおよび字幕作成方法
1か月前
日本電気株式会社
推定装置、推定方法及びプログラム
1か月前
日本電気株式会社
端末、端末の制御方法及びプログラム
1か月前
日本電気株式会社
情報処理装置、制御方法及び記憶媒体
1か月前
日本電気株式会社
監視装置、監視方法、及びプログラム
23日前
日本電気株式会社
レコメンド装置およびレコメンド方法
1か月前
日本電気株式会社
ソーナー装置、通信方法、プログラム
1か月前
日本電気株式会社
判別装置、判別方法、およびプログラム
1か月前
日本電気株式会社
安否確認支援装置、方法及びプログラム
1か月前
日本電気株式会社
学習装置、学習方法及び学習プログラム
1か月前
日本電気株式会社
店舗端末、情報処理方法、及びプログラム
25日前
続きを見る
他の特許を見る