TOP
|
特許
|
意匠
|
商標
特許ウォッチ
Twitter
他の特許を見る
10個以上の画像は省略されています。
公開番号
2025139795
公報種別
公開特許公報(A)
公開日
2025-09-29
出願番号
2024038829
出願日
2024-03-13
発明の名称
処理装置、処理方法、及びプログラム
出願人
日本電気株式会社
代理人
個人
主分類
G08B
25/00 20060101AFI20250919BHJP(信号)
要約
【課題】脈拍に基づく心理的な緊張状態になっている人物の検出精度を向上させる。
【解決手段】この開示の処理装置は、取得部と、画像解析部と、判断部と、制御部とを有する。取得部は、人物を撮影した画像を取得する。画像解析部は、画像に基づき、人物の生体認証及び脈拍測定を行う。判断部は、生体認証で特定された人物の識別情報に紐付けて登録されている参照脈拍と、脈拍測定で測定された脈拍とに基づき、人物の状態が警告条件を満たすか判断する。制御部は、人物の状態が警告条件を満たす場合、警告処理を行う。
【選択図】図1
特許請求の範囲
【請求項1】
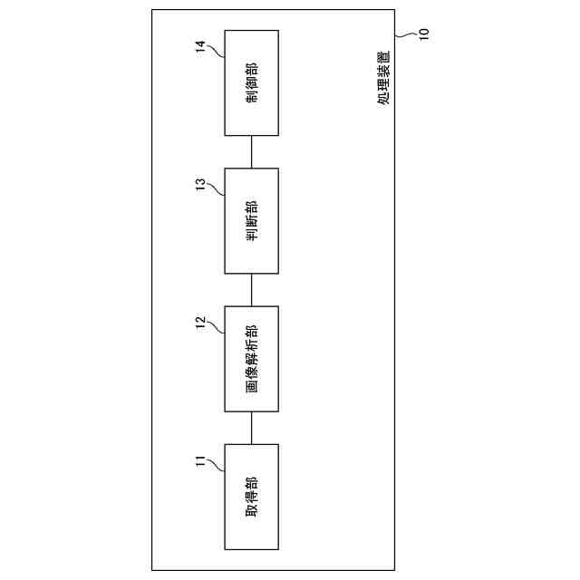
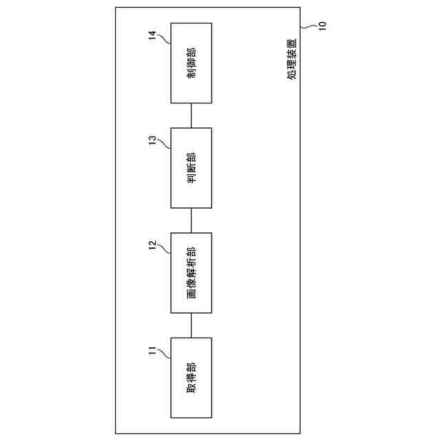
人物を撮影した画像を取得する取得手段と、
前記画像に基づき、前記人物の生体認証及び脈拍測定を行う画像解析手段と、
前記生体認証で特定された前記人物の識別情報に紐付けて登録されている参照脈拍と、前記脈拍測定で測定された脈拍とに基づき、前記人物の状態が警告条件を満たすか判断する判断手段と、
前記人物の状態が前記警告条件を満たす場合、警告処理を行う制御手段と、
を有する処理装置。
続きを表示(約 1,500 文字)
【請求項2】
前記取得手段は、
施設の出口で前記人物を撮影した前記画像を取得し、
前記制御手段は、
前記生体認証に成功し、かつ前記人物の状態が前記警告条件を満たさない場合、前記出口の通過を許可する処理を行う請求項1に記載の処理装置。
【請求項3】
前記制御手段は、
前記警告処理として、前記生体認証で特定された前記人物の識別情報を用いてログインしている携帯端末に所定の出力処理を行わせる請求項1に記載の処理装置。
【請求項4】
前記制御手段は、
前記携帯端末に前記所定の出力処理を開始させた後、前記携帯端末から前記人物とは異なる所定の人物の認証情報を取得し、取得した認証情報に基づき前記所定の人物の認証処理を実行し、
前記所定の人物の認証処理に成功した場合、前記携帯端末に前記所定の出力処理を終了させる請求項3に記載の処理装置。
【請求項5】
前記取得手段は、
施設の入口及び前記施設の出口で前記人物を撮影した前記画像を取得し、
前記判断手段は、
前記施設の入口で前記人物を撮影した前記画像に基づき測定された前記人物の脈拍を前記参照脈拍として登録し、
前記施設の出口で前記人物を撮影した前記画像に基づき測定された前記人物の脈拍と前記参照脈拍とに基づき、前記人物の状態が前記警告条件を満たすか判断する請求項1に記載の処理装置。
【請求項6】
前記取得手段は、
施設の入口、前記施設の出口、及び前記施設内の少なくとも1つの地点で前記人物を撮影した前記画像を取得し、
前記判断手段は、
前記施設の入口で前記人物を撮影した前記画像に基づき測定された前記人物の脈拍、及び前記少なくとも1つの地点で前記人物を撮影した前記画像に基づき測定された前記人物の脈拍の統計値を前記参照脈拍として利用して、前記人物の状態が前記警告条件を満たすか判断する請求項1に記載の処理装置。
【請求項7】
前記画像解析手段は、
前記画像に基づき複数の手段で前記人物の脈拍を測定し、
前記判断手段は、
前記複数の手段で特定された前記人物の脈拍の統計値を前記参照脈拍として登録する請求項1に記載の処理装置。
【請求項8】
前記画像解析手段は、
前記画像に基づき、前記人物の所持物の中から所定の禁止物を検出する所持物検査をさらに行い、
前記制御手段は、
前記人物の所持物の中から所定の禁止物が検出された場合、前記警告処理を行う請求項1に記載の処理装置。
【請求項9】
1つ以上のコンピュータが、
人物を撮影した画像を取得し、
前記画像に基づき、前記人物の生体認証及び脈拍測定を行い、
前記生体認証で特定された前記人物の識別情報に紐付けて登録されている参照脈拍と、前記脈拍測定で測定された脈拍とに基づき、前記人物の状態が警告条件を満たすか判断し、
前記人物の状態が前記警告条件を満たす場合、警告処理を行う処理方法。
【請求項10】
コンピュータを、
人物を撮影した画像を取得する取得手段、
前記画像に基づき、前記人物の生体認証及び脈拍測定を行う画像解析手段、
前記生体認証で特定された前記人物の識別情報に紐付けて登録されている参照脈拍と、前記脈拍測定で測定された脈拍とに基づき、前記人物の状態が警告条件を満たすか判断する判断手段、
前記人物の状態が前記警告条件を満たす場合、警告処理を行う制御手段、
として機能させるプログラム。
発明の詳細な説明
【技術分野】
【0001】
この開示は、処理装置、処理方法、及びプログラムに関する。
続きを表示(約 1,600 文字)
【背景技術】
【0002】
この開示に関連する技術が特許文献1に開示されている。特許文献1は、対象者に接触することなく画像解析で対象者の心拍数や心拍変動を測定し、その測定結果からその対象者の心理的な緊張状態を推定する技術を開示していている。また、特許文献1は、空港や商業施設で当該技術を利用し、推定した心理的な緊張状態から、その人物の危険度(注意レベル)を推定することを開示している。
【先行技術文献】
【特許文献】
【0003】
特開2023-36691号公報
【発明の概要】
【発明が解決しようとする課題】
【0004】
この開示は、特許文献1に開示のような先行技術を改良することを目的とする。
【課題を解決するための手段】
【0005】
この開示によれば、
人物を撮影した画像を取得する取得手段と、
前記画像に基づき、前記人物の生体認証及び脈拍測定を行う画像解析手段と、
前記生体認証で特定された前記人物の識別情報に紐付けて登録されている参照脈拍と、前記脈拍測定で測定された脈拍とに基づき、前記人物の状態が警告条件を満たすか判断する判断手段と、
前記人物の状態が前記警告条件を満たす場合、警告処理を行う制御手段と、
を有する処理装置が提供される。
【0006】
また、この開示によれば、
1つ以上のコンピュータが、
人物を撮影した画像を取得し、
前記画像に基づき、前記人物の生体認証及び脈拍測定を行い、
前記生体認証で特定された前記人物の識別情報に紐付けて登録されている参照脈拍と、前記脈拍測定で測定された脈拍とに基づき、前記人物の状態が警告条件を満たすか判断し、
前記人物の状態が前記警告条件を満たす場合、警告処理を行う処理方法が提供される。
【0007】
また、この開示によれば、
コンピュータを、
人物を撮影した画像を取得する取得手段、
前記画像に基づき、前記人物の生体認証及び脈拍測定を行う画像解析手段、
前記生体認証で特定された前記人物の識別情報に紐付けて登録されている参照脈拍と、前記脈拍測定で測定された脈拍とに基づき、前記人物の状態が警告条件を満たすか判断する判断手段、
前記人物の状態が前記警告条件を満たす場合、警告処理を行う制御手段、
として機能させるプログラムが提供される。
【発明の効果】
【0008】
本開示の一態様によれば、先行技術の改良が実現される。
【図面の簡単な説明】
【0009】
処理装置の機能ブロック図の一例を示す図である。
処理装置の処理の流れの一例を示すフローチャートである。
処理装置のハードウエア構成の一例を示す図である。
処理装置が処理する情報の一例を模式的に示す図である。
処理装置の処理の流れの他の一例を示すフローチャートである。
処理装置の処理の流れの他の一例を示すフローチャートである。
処理装置が処理する情報の他の一例を模式的に示す図である。
処理装置が処理する情報の他の一例を模式的に示す図である。
処理装置の処理の流れの他の一例を示すフローチャートである。
【発明を実施するための形態】
【0010】
以下、本開示の実施形態について、図面を用いて説明する。本開示において図面は、1以上の実施形態に関連付けられる。また、全ての図面において、同様な構成要素には同様の符号を付し、適宜説明を省略する。
(【0011】以降は省略されています)
この特許をJ-PlatPat(特許庁公式サイト)で参照する
関連特許
日本電気株式会社
学習装置
27日前
日本電気株式会社
学習装置
1か月前
日本電気株式会社
分析装置
3日前
日本電気株式会社
原子発振器
29日前
日本電気株式会社
超伝導量子回路
23日前
日本電気株式会社
マルチバンドバラン
21日前
日本電気株式会社
量子回路装置と制御方法
3日前
日本電気株式会社
量子回路装置と制御方法
3日前
日本電気株式会社
検知装置および検知方法
3日前
日本電気株式会社
分析方法および分析システム
今日
日本電気株式会社
端末装置および無線通信方法
14日前
日本電気株式会社
機器冷却装置及びその冷却方法
15日前
日本電気株式会社
TS合成装置および放送システム
1か月前
日本電気株式会社
プログラム、算出装置、及び方法
15日前
日本電気株式会社
共振器及びそれを備えた導波回路
1日前
日本電気株式会社
処理装置、方法、及びプログラム
27日前
日本電気株式会社
システム及びマイグレーション方法
3日前
日本電気株式会社
リング共振器、およびその製造方法
28日前
日本電気株式会社
リング共振器、およびその製造方法
29日前
日本電気株式会社
推定装置、推定方法及びプログラム
6日前
日本電気株式会社
推定装置、推定方法及びプログラム
6日前
日本電気株式会社
ピーク抑圧装置及びピーク抑圧方法
13日前
日本電気株式会社
推定装置、推定方法、及び、記録媒体
今日
日本電気株式会社
画像管理システムおよび画像管理方法
1日前
日本電気株式会社
処理装置、処理方法、及びプログラム
3日前
日本電気株式会社
判定装置、判定方法、及び、プログラム
23日前
日本電気株式会社
予測システム、予測方法及びプログラム
6日前
日本電気株式会社
通信システム及びパケット順序補正方法
14日前
日本電気株式会社
通信装置、通信方法及び通信プログラム
今日
日本電気株式会社
管理システム、管理方法及びプログラム
13日前
日本電気株式会社
情報処理システム、処理方法、プログラム
3日前
日本電気株式会社
マルチコアファイバ増幅器及び光増幅方法
21日前
日本電気株式会社
映像処理装置、映像処理方法、プログラム
3日前
日本電気株式会社
映像伝送装置、映像伝送方法、プログラム
3日前
日本電気株式会社
情報処理装置、情報処理方法、プログラム
1か月前
日本電気株式会社
情報処理装置、情報処理方法、プログラム
1日前
続きを見る
他の特許を見る