TOP
|
特許
|
意匠
|
商標
特許ウォッチ
Twitter
他の特許を見る
10個以上の画像は省略されています。
公開番号
2025139020
公報種別
公開特許公報(A)
公開日
2025-09-26
出願番号
2024037720
出願日
2024-03-12
発明の名称
推定装置、推定方法及びプログラム
出願人
日本電気株式会社
代理人
個人
主分類
G01S
3/46 20060101AFI20250918BHJP(測定;試験)
要約
【課題】到来方向の推定精度を向上させることが可能な推定装置、推定方法及びプログラムを提供すること。
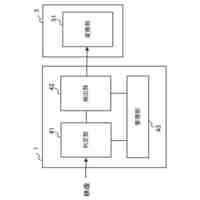
【解決手段】本開示に係る推定装置は、比較対象信号を学習済みモデルに入力することで得られる、比較対象信号の特徴を示す複数の比較対象ベクトルと、判定対象信号を学習済みモデルに入力することで得られる、判定対象信号の特徴を示す特徴ベクトルと、を比較する比較手段と、比較手段の比較結果に基づき、複数の比較対象ベクトルから1以上の比較対象ベクトルを選択し、選択した比較対象ベクトルに対応する到来方向の情報を用いて、判定対象信号の到来方向を推定する推定手段と、を備える。
【選択図】図1
特許請求の範囲
【請求項1】
比較対象信号を学習済みモデルに入力することで得られる、前記比較対象信号の特徴を示す複数の比較対象ベクトルと、判定対象信号を前記学習済みモデルに入力することで得られる、前記判定対象信号の特徴を示す特徴ベクトルと、を比較する比較手段と、
前記比較手段の比較結果に基づき、前記複数の比較対象ベクトルから1以上の比較対象ベクトルを選択し、選択した前記比較対象ベクトルに対応する到来方向の情報を用いて、前記判定対象信号の到来方向を推定する推定手段と、を備える、
推定装置。
続きを表示(約 1,400 文字)
【請求項2】
分析対象信号について主成分分析を実行することで、計算に用いる信号の次元数を決定する決定手段と、をさらに備え、
前記比較手段は、前記決定手段が決定した次元数まで次元数が削減された前記比較対象ベクトルと、前記決定手段が決定した次元数まで次元数が削減された前記特徴ベクトルと、を比較する、
請求項1に記載の推定装置。
【請求項3】
前記決定手段は、前記分析対象信号についての前記主成分分析の結果得られる次元数の累積寄与率に基づいて、計算に用いる信号の前記次元数を決定する、
請求項2に記載の推定装置。
【請求項4】
前記比較手段は、各比較対象ベクトルについて、前記比較対象ベクトルと、前記特徴ベクトルと、の類似度合いを算出し、算出した前記類似度合いのうち所定の基準以上となるものが存在しない場合、前記判定対象信号の到来方向の情報が推定できないことを判定する、
請求項1又は2に記載の推定装置。
【請求項5】
前記比較手段が前記判定対象信号の到来方向の情報が推定できないことを判定した場合、前記比較手段は、前記特徴ベクトルを新たな前記比較対象ベクトルとして設定し、前記複数の比較対象ベクトルのうちの1つとして使用可能とする、
請求項4に記載の推定装置。
【請求項6】
受信信号を用いて教師データを生成し、前記教師データを用いて前記学習済みモデルを学習させる学習手段と、をさらに備える、
請求項1又は2に記載の推定装置。
【請求項7】
比較対象信号を学習済みモデルに入力することで得られる、前記比較対象信号の特徴を示す複数の比較対象ベクトルと、判定対象信号を前記学習済みモデルに入力することで得られる、前記判定対象信号の特徴を示す特徴ベクトルと、を比較し、
比較結果に基づき、前記複数の比較対象ベクトルから1以上の比較対象ベクトルを選択し、選択した前記比較対象ベクトルに対応する到来方向の情報を用いて、前記判定対象信号の到来方向を推定する、
ことをコンピュータが実行する推定方法。
【請求項8】
前記コンピュータは、
分析対象信号について主成分分析を実行することで、計算に用いる信号の次元数を決定し、
決定された次元数まで次元数が削減された前記比較対象ベクトルと、決定された次元数まで次元数が削減された前記特徴ベクトルと、を比較する、
請求項7に記載の推定方法。
【請求項9】
前記コンピュータは、
前記分析対象信号についての前記主成分分析の結果得られる次元数の累積寄与率に基づいて、計算に用いる信号の前記次元数を決定する、
請求項8に記載の推定方法。
【請求項10】
比較対象信号を学習済みモデルに入力することで得られる、前記比較対象信号の特徴を示す複数の比較対象ベクトルと、判定対象信号を前記学習済みモデルに入力することで得られる、前記判定対象信号の特徴を示す特徴ベクトルと、を比較し、
比較結果に基づき、前記複数の比較対象ベクトルから1以上の比較対象ベクトルを選択し、選択した前記比較対象ベクトルに対応する到来方向の情報を用いて、前記判定対象信号の到来方向を推定する、
ことをコンピュータに実行させるプログラム。
発明の詳細な説明
【技術分野】
【0001】
本開示は、推定装置、推定方法及びプログラムに関する。
続きを表示(約 1,800 文字)
【背景技術】
【0002】
無線通信において、通信端末等の電波発信源の方向や位置を推定することは重要であり、これに関する様々な技術が提案されている。
【0003】
例えば、特許文献1には、無線通信端末の位置を推定する位置推定システムが開示されている。この位置推定システムは、無線通信装置から取得する受信品質とビームの放射角度毎の特性とを比較することによって、その無線通信装置を基準とした信号の到来方向を推定する。そして、位置推定システムは、複数の無線通信装置について推定した到来方向および複数の無線通信装置の位置に基づいて、無線通信端末の位置を推定する。
【先行技術文献】
【特許文献】
【0004】
特開2018-054416号公報
【発明の概要】
【発明が解決しようとする課題】
【0005】
アレーアンテナを受信装置として用いる場合の電波発信源の到来方向を推定する手法として、受信データ相関行列の固有値分解を利用した部分空間法に基づくMUSIC(Multiple Signal Classification)法が広く知られている。
【0006】
しかしながら、近年、深層学習を用いる新たな到来方向推定手法が提案されている。この手法は、学習済みのネットワークを用いた推定(推論)を実行する場合には簡易な演算で推定ができること、特定の条件下において、学習が実行されないMUSIC法等の手法よりも推定精度が優れていること、等の利点がある。一方で、実際の到来角が学習に用いられる教師データに含まれない場合、その到来角に対する推定精度が低くなる可能性があるという課題がある。特許文献1に記載の技術は、到来方向推定に学習を用いる際の精度を考慮したものではないため、この課題を解決するものではない。
【0007】
本開示の実施形態が達成しようとする目的の1つは、到来方向の推定精度を向上させることが可能な推定装置、推定方法及びプログラムを提供することである。なお、この目的は、ここに開示される複数の実施形態が達成しようとする複数の目的の1つに過ぎないことに留意されるべきである。その他の目的又は課題と新規な特徴は、本明細書の記述又は添付図面から明らかにされる。
【課題を解決するための手段】
【0008】
一態様にかかる推定装置は、
比較対象信号を学習済みモデルに入力することで得られる、前記比較対象信号の特徴を示す複数の比較対象ベクトルと、判定対象信号を前記学習済みモデルに入力することで得られる、前記判定対象信号の特徴を示す特徴ベクトルと、を比較する比較手段と、
前記比較手段の比較結果に基づき、前記複数の比較対象ベクトルから1以上の比較対象ベクトルを選択し、選択した前記比較対象ベクトルに対応する到来方向の情報を用いて、前記判定対象信号の到来方向を推定する推定手段と、
を備える。
【0009】
一態様にかかる推定方法は、
比較対象信号を学習済みモデルに入力することで得られる、前記比較対象信号の特徴を示す複数の比較対象ベクトルと、判定対象信号を前記学習済みモデルに入力することで得られる、前記判定対象信号の特徴を示す特徴ベクトルと、を比較し、
比較結果に基づき、前記複数の比較対象ベクトルから1以上の比較対象ベクトルを選択し、選択した前記比較対象ベクトルに対応する到来方向の情報を用いて、前記判定対象信号の到来方向を推定する、
ことをコンピュータが実行するものである。
【0010】
一態様にかかるプログラムは、
比較対象信号を学習済みモデルに入力することで得られる、前記比較対象信号の特徴を示す複数の比較対象ベクトルと、判定対象信号を前記学習済みモデルに入力することで得られる、前記判定対象信号の特徴を示す特徴ベクトルと、を比較し、
比較結果に基づき、前記複数の比較対象ベクトルから1以上の比較対象ベクトルを選択し、選択した前記比較対象ベクトルに対応する到来方向の情報を用いて、前記判定対象信号の到来方向を推定する、
ことをコンピュータに実行させるものである。
【発明の効果】
(【0011】以降は省略されています)
この特許をJ-PlatPat(特許庁公式サイト)で参照する
関連特許
日本電気株式会社
監視装置
3日前
日本電気株式会社
監視装置
3日前
日本電気株式会社
管理装置
3日前
日本電気株式会社
海底分岐装置
4日前
日本電気株式会社
ラインカード及びイジェクタ
1日前
日本電気株式会社
端末、端末の制御方法及びプログラム
1日前
日本電気株式会社
安否確認支援装置、方法及びプログラム
4日前
日本電気株式会社
追跡支援装置、追跡支援方法及びプログラム
8日前
日本電気株式会社
追跡支援装置、追跡支援方法及びプログラム
8日前
日本電気株式会社
繊維状カーボンナノホーン集合体の接着分離方法
4日前
日本電気株式会社
セルロース系樹脂組成物及びこれを用いた成形体
8日前
日本電気株式会社
蓄電制御装置、蓄電制御方法、およびプログラム
1日前
日本電気株式会社
補聴支援装置、補聴支援方法、及び、プログラム
1日前
日本電気株式会社
健康改善支援装置、健康改善支援方法及びプログラム
8日前
日本電気株式会社
情報管理装置、情報管理方法、及び、制御プログラム
4日前
日本電気株式会社
画像処理装置、点検システム、方法およびプログラム
4日前
日本電気株式会社
情報出力装置、情報出力方法および情報出力プログラム
2日前
日本電気株式会社
処理装置
4日前
日本電気株式会社
システム
4日前
日本電気株式会社
改善提案装置、改善提案方法およびコンピュータプログラム
4日前
日本電気株式会社
サーバ装置、システム、サーバ装置の制御方法及びプログラム
1日前
日本電気株式会社
衣服情報管理装置、衣服情報管理装置方法、およびプログラム
3日前
日本電気株式会社
見直し提案装置、見直し提案方法およびコンピュータプログラム
4日前
日本電気株式会社
情報処理装置、情報処理システム、情報処理方法及びプログラム
1日前
日本電気株式会社
フレーム転送装置、フレーム転送方法およびフレーム転送プログラム
4日前
日本電気株式会社
情報処理装置、情報管理システム、情報処理方法、およびプログラム
8日前
日本電気株式会社
ナノカーボン複合体、これを用いたボロメータ、およびこれらの製造方法
4日前
日本電気株式会社
コンテンツ生成装置、コンテンツ生成方法、及びコンテンツ生成プログラム
8日前
日本電気株式会社
フライトストリップ処理システム
1日前
日本電気株式会社
地図情報提供装置、地図情報提供システム、地図情報提供方法及び地図情報提供プログラム
4日前
株式会社デンソー
画像処理装置
2日前
日本電気株式会社
三次元スキャナの設置位置設定支援装置、三次元スキャナの設置位置設定支援方法、及び、三次元スキャナの設置位置設定支援プログラム
4日前
個人
メジャー文具
11日前
個人
高精度同時多点測定装置
3日前
個人
アクセサリー型テスター
4日前
日本精機株式会社
位置検出装置
17日前
続きを見る
他の特許を見る