TOP
|
特許
|
意匠
|
商標
特許ウォッチ
Twitter
他の特許を見る
10個以上の画像は省略されています。
公開番号
2025155234
公報種別
公開特許公報(A)
公開日
2025-10-14
出願番号
2024058931
出願日
2024-04-01
発明の名称
三次元スキャナの設置位置設定支援装置、三次元スキャナの設置位置設定支援方法、及び、三次元スキャナの設置位置設定支援プログラム
出願人
日本電気株式会社
代理人
個人
,
個人
主分類
G01B
11/24 20060101AFI20251006BHJP(測定;試験)
要約
【課題】三次元スキャナによる測定の精度を高めることを、より効率的に行う。
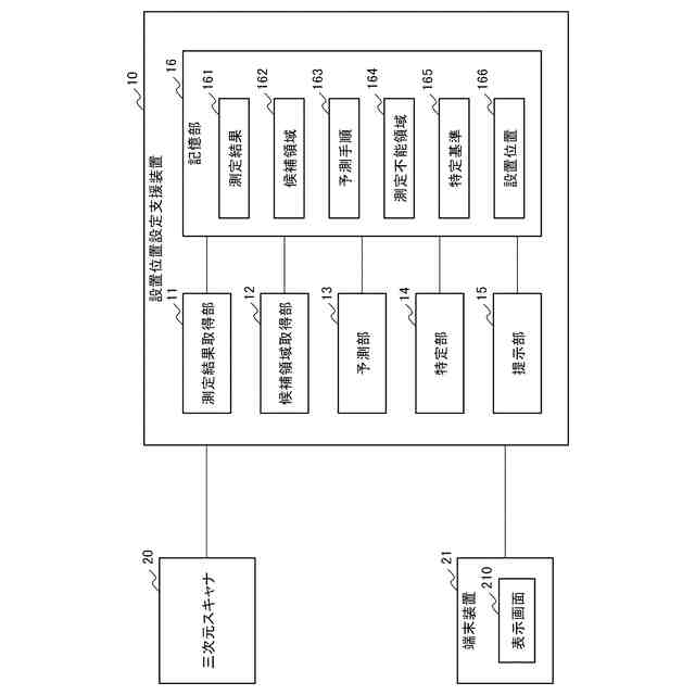
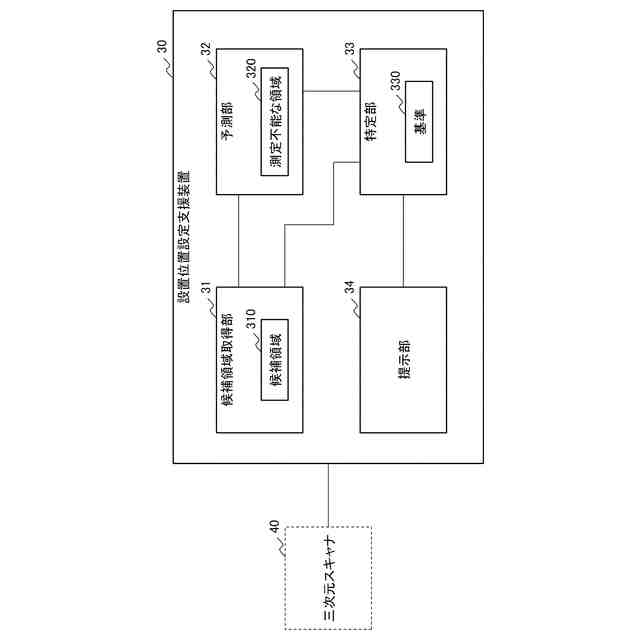
【解決手段】設置位置設定支援装置30は、三次元スキャナ40による測定対象空間に対する過去の測定結果と関連し、三次元スキャナ40を次に設置する位置の候補となる候補領域310を表す情報を取得する候補領域取得部31と、候補領域310に含まれる複数の位置のいずれかに三次元スキャナ40を設置した場合において、障害物によって生じる三次元スキャナ40による測定不能な領域320を、当該複数の位置の個々に関して予測する予測部32と、予測された測定不能な領域320の大きさが基準330を満たす位置を、当該複数の位置のなかから特定する特定部33と、特定された位置を利用者に提示する提示部34と、を備える。
【選択図】 図7
特許請求の範囲
【請求項1】
三次元スキャナによる測定対象空間に対する過去の測定結果と関連し、前記三次元スキャナを次に設置する位置の候補となる候補領域を表す情報を取得する候補領域取得手段と、
前記候補領域に含まれる複数の位置のいずれかに前記三次元スキャナを設置した場合において、障害物によって生じる前記三次元スキャナによる測定不能な領域を、前記複数の位置の個々に関して予測する予測手段と、
予測された前記測定不能な領域の大きさが基準を満たす位置を、前記複数の位置のなかから特定する特定手段と、
特定された位置を利用者に提示する提示手段と、
を備える三次元スキャナの設置位置設定支援装置。
続きを表示(約 1,700 文字)
【請求項2】
前記三次元スキャナによる前記測定対象空間の前記測定結果を取得する測定結果取得手段をさらに備え、
前記提示手段は、前記測定結果を利用者に提示し、
前記候補領域取得手段は、前記測定結果を提示された利用者により入力された、前記三次元スキャナによる次回の測定における前記候補領域を表す情報を取得する、
請求項1に記載の三次元スキャナの設置位置設定支援装置。
【請求項3】
前記三次元スキャナによる前記測定対象空間の前記測定結果を取得する測定結果取得手段をさらに備え、
前記候補領域取得手段は、前記測定結果に応じて前記三次元スキャナによる次回の測定における前記候補領域を設定するための設定基準と、取得された前記測定結果とに基づいて、前記三次元スキャナによる次回の測定における前記候補領域を表す情報を生成する、
請求項1に記載の三次元スキャナの設置位置設定支援装置。
【請求項4】
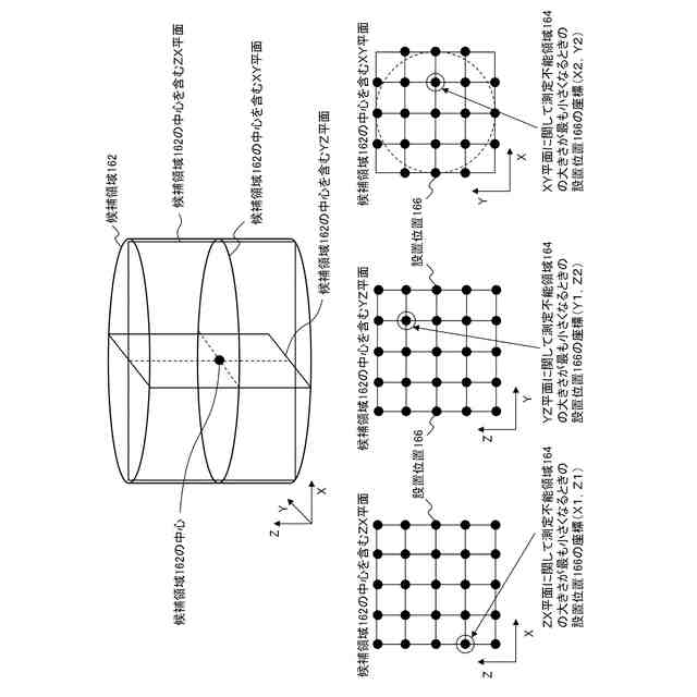
前記予測手段は、前記測定対象空間に含まれる1以上の平面の個々に投影された前記測定不能な領域を予測し、
前記特定手段は、前記1以上の平面の個々に投影された前記測定不能な領域の面積の合計が前記基準を満たす位置を、前記複数の位置のなかから特定する、
請求項1または請求項2に記載の三次元スキャナの設置位置設定支援装置。
【請求項5】
前記測定対象空間は、X軸、Y軸、及びZ軸により表され、
前記1以上の平面は、XY平面、YZ平面、及びZX平面である、
請求項4に記載の三次元スキャナの設置位置設定支援装置。
【請求項6】
前記複数の位置は、前記候補領域に含まれる前記XY平面、前記YZ平面、及び前記ZX平面の個々の上に格子状に配置されている
請求項5に記載の三次元スキャナの設置位置設定支援装置。
【請求項7】
前記特定手段は、前記XY平面及び前記ZX平面にそれぞれ投影された前記測定不能な領域の面積の合計が前記基準を満たす位置のX座標の値と、前記XY平面及び前記YZ平面にそれぞれ投影された前記測定不能な領域の面積の合計が前記基準を満たす位置のY座標の値と、前記YZ平面及び前記ZX平面にそれぞれ投影された前記測定不能な領域の面積の合計が前記基準を満たす位置のZ座標の値とを特定する、
請求項6に記載の三次元スキャナの設置位置設定支援装置。
【請求項8】
前記候補領域の形状は、円柱、角柱、球の何れかである、
請求項1または請求項2に記載の三次元スキャナの設置位置設定支援装置。
【請求項9】
情報処理装置によって、
三次元スキャナによる測定対象空間に対する過去の測定結果と関連し、前記三次元スキャナを次に設置する位置の候補となる候補領域を表す情報を取得し、
前記候補領域に含まれる複数の位置のいずれかに前記三次元スキャナを設置した場合において、障害物によって生じる前記三次元スキャナによる測定不能な領域を、前記複数の位置の個々に関して予測し、
予測された前記測定不能な領域の大きさが基準を満たす位置を、前記複数の位置のなかから特定し、
特定された位置を利用者に提示する、
三次元スキャナの設置位置設定支援方法。
【請求項10】
三次元スキャナによる測定対象空間に対する過去の測定結果と関連し、前記三次元スキャナを次に設置する位置の候補となる候補領域を表す情報を取得する候補領域取得処理と、
前記候補領域に含まれる複数の位置のいずれかに前記三次元スキャナを設置した場合において、障害物によって生じる前記三次元スキャナによる測定不能な領域を、前記複数の位置の個々に関して予測する予測処理と、
予測された前記測定不能な領域の大きさが基準を満たす位置を、前記複数の位置のなかから特定する特定処理と、
特定された位置を利用者に提示する提示処理と、
をコンピュータに実行させるための三次元スキャナの設置位置設定支援プログラム。
発明の詳細な説明
【技術分野】
【0001】
本発明は、三次元スキャナの設置位置設定支援装置、三次元スキャナの設置位置設定支援方法、及び、三次元スキャナの設置位置設定支援プログラムに関する。
続きを表示(約 2,100 文字)
【背景技術】
【0002】
三次元レーザスキャナ(本願では以降、三次元スキャナと称する)を用いて、測定対象の空間における物体の存在状況や測定対象の空間の形状等を測定することが行われている。そして、このような測定を高い精度で行う技術が期待されている。
【0003】
上述の技術に関連して、特許文献1には、外側の計測対象物内に、内側の計測対象物が外側の計測対象物と隙間をあけて存在する場所のスキャニングを、三次元スキャナを用いて行う三次元スキャナのスキャニング方法が開示されている。この方法では、三次元スキャナの設置位置を原点として、計測対象物をスキャニングして複数の反射ポイントのそれぞれについて三次元座標を収集する。この方法では、複数の反射ポイントのうちの一つの反射ポイントとこれに隣接する他の反射ポイントとの点間距離が、外側の計測対象物の表面において隣接する反射ポイント同士の点間距離の数値範囲を外れた部分を、外側の計測対象物と前記内側の計測対象物との境界部分と判定する。この方法では、隣り合う境界部分の間を内側の計測対象物によって陰となった外側の計測対象物のデータ未収集部分として割り出し、原点とデータ未収集部分との間で、陰を及ぼす内側の計測対象物よりもデータ未収集部分側を、三次元スキャナの次の設置位置と設定する。
【先行技術文献】
【特許文献】
【0004】
特許第5204955号公報
【発明の概要】
【発明が解決しようとする課題】
【0005】
例えば、測定対象のフロアが使用中の時にスキャンを行う場合などでは、そのフロアで行われている作業を一時的に停止する、あるいは作業している人の合間を縫ってスキャンを行う必要などがあることから、スキャンを実施可能な時間や回数が制限されることが多い。上述した特許文献1が示す三次元スキャナのスキャニング方法では、障害物の存在等によってデータが収集できていない部分に対して、網羅的なスキャンを行うことによって測定の精度を高めているが、測定に時間を要するおそれがある。したがって、三次元スキャナによる測定の精度を高めることを、より効率的に行うことが課題である。
【0006】
本発明の主たる目的は、三次元スキャナによる測定の精度を高めることを、より効率的に行うことである。
【課題を解決するための手段】
【0007】
本発明の一態様に係る三次元スキャナの設置位置設定支援装置は、三次元スキャナによる測定対象空間に対する過去の測定結果と関連し、前記三次元スキャナを次に設置する位置の候補となる候補領域を表す情報を取得する候補領域取得手段と、前記候補領域に含まれる複数の位置のいずれかに前記三次元スキャナを設置した場合において、障害物によって生じる前記三次元スキャナによる測定不能な領域を、前記複数の位置の個々に関して予測する予測手段と、予測された前記測定不能な領域の大きさが基準を満たす位置を、前記複数の位置のなかから特定する特定手段と、特定された位置を利用者に提示する提示手段と、を備える。
【0008】
上記目的を達成する他の見地において、本発明の一態様に係る三次元スキャナの設置位置設定支援方法は、情報処理装置によって、三次元スキャナによる測定対象空間に対する過去の測定結果と関連し、前記三次元スキャナを次に設置する位置の候補となる候補領域を表す情報を取得し、前記候補領域に含まれる複数の位置のいずれかに前記三次元スキャナを設置した場合において、障害物によって生じる前記三次元スキャナによる測定不能な領域を、前記複数の位置の個々に関して予測し、予測された前記測定不能な領域の大きさが基準を満たす位置を、前記複数の位置のなかから特定し、特定された位置を利用者に提示する。
【0009】
また、上記目的を達成する更なる見地において、本発明の一態様に係る三次元スキャナの設置位置設定支援プログラムは、三次元スキャナによる測定対象空間に対する過去の測定結果と関連し、前記三次元スキャナを次に設置する位置の候補となる候補領域を表す情報を取得する候補領域取得処理と、前記候補領域に含まれる複数の位置のいずれかに前記三次元スキャナを設置した場合において、障害物によって生じる前記三次元スキャナによる測定不能な領域を、前記複数の位置の個々に関して予測する予測処理と、予測された前記測定不能な領域の大きさが基準を満たす位置を、前記複数の位置のなかから特定する特定処理と、特定された位置を利用者に提示する提示処理と、をコンピュータに実行させる。
【0010】
更に、本発明は、係る三次元スキャナの設置位置設定支援プログラム(コンピュータプログラム)が格納された、コンピュータ読み取り可能な、不揮発性の記録媒体によっても実現可能である。
【発明の効果】
(【0011】以降は省略されています)
この特許をJ-PlatPat(特許庁公式サイト)で参照する
関連特許
日本電気株式会社
監視装置
今日
日本電気株式会社
管理装置
今日
日本電気株式会社
監視装置
今日
日本電気株式会社
分析装置
16日前
日本電気株式会社
海底分岐装置
1日前
日本電気株式会社
光集積回路素子
5日前
日本電気株式会社
レーザモジュール
6日前
日本電気株式会社
超伝導量子回路装置
6日前
日本電気株式会社
マルチバンドバラン
1か月前
日本電気株式会社
受信器および通信装置
7日前
日本電気株式会社
送信装置および通信装置
12日前
日本電気株式会社
検知装置および検知方法
16日前
日本電気株式会社
通信装置および通信方法
12日前
日本電気株式会社
量子回路装置と制御方法
16日前
日本電気株式会社
システム、装置及び方法
6日前
日本電気株式会社
量子回路装置と制御方法
16日前
日本電気株式会社
光伝送システムおよび方法
8日前
日本電気株式会社
端末装置および無線通信方法
27日前
日本電気株式会社
分析方法および分析システム
13日前
日本電気株式会社
機器冷却装置及びその冷却方法
28日前
日本電気株式会社
制御装置、プログラム及び方法
6日前
日本電気株式会社
演算処理装置および演算処理方法
8日前
日本電気株式会社
兆候検知装置および兆候検知方法
8日前
日本電気株式会社
プログラム、算出装置、及び方法
28日前
日本電気株式会社
共振器及びそれを備えた導波回路
14日前
日本電気株式会社
推定装置、推定方法及びプログラム
6日前
日本電気株式会社
ピーク抑圧装置及びピーク抑圧方法
26日前
日本電気株式会社
推定装置、推定方法及びプログラム
19日前
日本電気株式会社
推定装置、推定方法及びプログラム
19日前
日本電気株式会社
システム及びマイグレーション方法
16日前
日本電気株式会社
放送用システムおよび字幕作成方法
8日前
日本電気株式会社
ソーナー装置、通信方法、プログラム
8日前
日本電気株式会社
波長可変レーザ装置及びその構成方法
12日前
日本電気株式会社
推定装置、推定方法、及び、記録媒体
13日前
日本電気株式会社
画像管理システムおよび画像管理方法
14日前
日本電気株式会社
情報処理装置、制御方法及び記憶媒体
6日前
続きを見る
他の特許を見る