TOP
|
特許
|
意匠
|
商標
特許ウォッチ
Twitter
他の特許を見る
10個以上の画像は省略されています。
公開番号
2025159043
公報種別
公開特許公報(A)
公開日
2025-10-17
出願番号
2025131848,2022188396
出願日
2025-08-06,2022-11-25
発明の名称
フライトストリップ処理システム
出願人
日本電気株式会社
代理人
個人
,
個人
主分類
G06Q
50/40 20240101AFI20251009BHJP(計算;計数)
要約
【課題】主任管制官や訓練監督官が、電子ストリップ端末に表示された情報のみで、管制官(訓練生含む)の管制状態を瞬時に把握することができるフライトストリップ処理システムを提供する。
【解決手段】フライトストリップ処理システムは、電子ストリップ端末におけるフライトストリップの表示に紐づけて当該フライトストリップが示す飛行計画情報に対する直前操作に関する情報であって、フライトストリップの飛行計画情報に関し電子ストリップ端末を用いて直前操作した人と、直前操作した操作内容と、直前操作したタイミングから現在時刻までの経過時間を示す情報と、を含むラストオペレーションの表示をフライトストリップの横の当該フライトストリップの表示枠外に表示する。
【選択図】図1
特許請求の範囲
【請求項1】
所定の航空機の飛行計画情報を示すフライトストリップを共有して表示する複数の電子ストリップ端末及び、前記フライトストリップのデータと操作内容と操作記録を収集し処理する処理装置により構成され、
前記電子ストリップ端末における前記フライトストリップの表示に紐づけて当該フライトストリップが示す前記飛行計画情報に対する直前操作に関する情報であって、前記フライトストリップの前記飛行計画情報に関し前記電子ストリップ端末を用いて前記直前操作した人と、前記直前操作した前記操作内容と、前記直前操作したタイミングから現在時刻までの経過時間を示す情報と、を含むラストオペレーションの情報を前記フライトストリップの横の当該フライトストリップの表示枠外に表示することにより管制官が直前に行った操作を失念することが無いようにすることを特徴とする、
フライトストリップ処理システム。
続きを表示(約 1,100 文字)
【請求項2】
操作が前記飛行計画情報を共有する端末の利用者間で競合した場合、先に操作した内容を処理し、直前操作を表示することに加え、複数の電子ストリップ端末のアラート画面に競合したことを注意喚起として表示する
請求項1に記載のフライトストリップ処理システム。
【請求項3】
競合や誤操作の問題が発生したときは、関連する全ての前記電子ストリップ端末のアラート画面に前記注意喚起を表示し、問題が解決するまで表示し続ける
請求項2に記載のフライトストリップ処理システム。
【請求項4】
前記アラート画面の前記注意喚起はマーク、色、記号による表示またはその表示の点滅、音の出力、外部のランプの点灯又は点滅、コントローラの振動の動作の少なくとも一つにより行う
請求項2または請求項3に記載のフライトストリップ処理システム。
【請求項5】
前記フライトストリップの直前操作の操作履歴であって操作内容と操作者と操作時刻を含む前記操作履歴及び、操作によるアラート画面の表示内容を前記フライトストリップに紐づけてログ情報として蓄積し、
蓄積した情報を検索して表示または印字する
請求項1に記載のフライトストリップ処理システム。
【請求項6】
前記フライトストリップに対する操作によるアラート画面の表示情報を蓄積し、前記操作と前記航空機の位置情報とをAIで学習・解析し、当該解析の結果と前記アラート画面に関するアラートの情報との表示を行う
請求項1に記載のフライトストリップ処理システム。
【請求項7】
前記電子ストリップ端末の利用者の操作とAIの学習結果に基づく予測及びアドバイスと競合する場合は複数の前記電子ストリップ端末のアラート画面に競合したことを注意喚起として表示する
請求項1に記載のフライトストリップ処理システム。
【請求項8】
緊急時に白紙のフライトストリップの作成及び当該フライトストリップの前記電子ストリップ端末への表示を行う
請求項1に記載のフライトストリップ処理システム。
【請求項9】
航空機の緊急発進時に作成した前記白紙のフライトストリップの上記電子ストリップ端末への表示に紐づけて、直前操作に関する情報であって前記白紙のフライトストリップを作成した人と作成したことと操作した時刻とを示す前記直前操作に関する情報を、前記電子ストリップ端末に表示することで、前記白紙のフライトストリップと前記直前操作に関する情報を、他の管制官と共有する
請求項8に記載のフライトストリップ処理システム。
発明の詳細な説明
【技術分野】
【0001】
本発明は、フライトストリップ処理システム、フライトストリップ処理方法、処理装置、電子ストリップ端末、プログラムに関する。
続きを表示(約 1,600 文字)
【背景技術】
【0002】
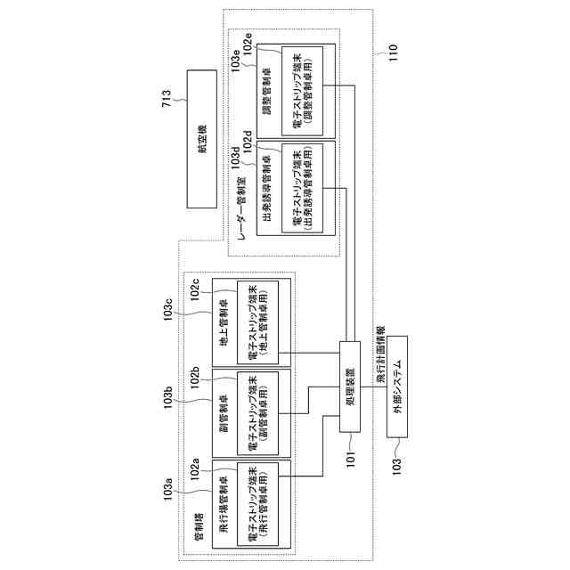
航空機の飛行管理を行う管制官はそれぞれ管轄する管制空域が異なる。管制官は管制業務において管制対象の航空機の飛行計画の情報が記載されたフライトストリップを保持する。このフライトストリップは管制官が利用する端末(電子ストリップ端末)に表示される。また管制官は紙のフライトストリップ(以下、紙ストリップ)を管制移管により手渡される。管制官は、管制対象の航空機が管制空域を離れると、紙ストリップにおいては手渡し、電子ストリップにおいては引継ぎ操作により引継ぎ先(管制移管先)の管制官にフライトストリップを引き継いでいる。
【0003】
関連する技術として、管制指示を発出するに際し、各航空機の機種の特性を考慮した上で航空機の飛行状況を表示する技術が特許文献1に開示されている。
【先行技術文献】
【特許文献】
【0004】
特開2007-04252号公報
【発明の概要】
【発明が解決しようとする課題】
【0005】
ここで、上述のような、フライトストリップの運用において、主任管制官や訓練監督官が管制官(訓練生含む)の管制状態を電子ストリップ端末に表示された情報のみで瞬時に把握できるフライトストリップ処理システムを提供する必要がある。
【0006】
そこでこの発明は、上述の課題を解決するフライトストリップ処理システム、フライトストリップ処理方法、処理装置、電子ストリップ端末、プログラムを目的としている。
【課題を解決するための手段】
【0007】
本発明の第一の態様によれば、フライトストリップ処理システムは、所定の航空機の飛行計画情報を示すフライトストリップを共有して表示する複数の電子ストリップ端末及び、前記フライトストリップのデータと操作内容と操作記録を収集し処理する処理装置により構成され、前記電子ストリップ端末における前記フライトストリップの表示に紐づけて当該フライトストリップに対する直前操作に関する情報を当該電子ストリップ端末に表示する。
【0008】
本発明の第二の態様によれば、フライトストリップ処理システムは、所定の航空機の飛行計画情報を示すフライトストリップを共有して表示する複数の電子ストリップ端末及び前記フライトストリップのデータと操作内容と操作記録を収集し処理する処理装置により構成され、操作が前記飛行計画情報を共有する端末の利用者間で競合した場合、先に操作した内容を処理し、直前操作を表示することに加え、複数の電子ストリップ端末のアラート画面に競合したことを注意喚起として表示する。
【0009】
本発明の第三の態様によれば、フライトストリップ処理システムは、所定の航空機の飛行計画情報を示すフライトストリップを共有して表示する複数の電子ストリップ端末及び前記フライトストリップのデータと操作内容と操作記録を収集し処理する処理装置により構成され、前記フライトストリップの直前操作の操作履歴であって操作内容と操作者と操作時刻を含む前記操作履歴及び、操作によるアラート画面の表示内容を前記フライトストリップに紐づけてログ情報として蓄積し、蓄積した情報を検索して表示または印字する。
【0010】
本発明の第四の態様によれば、フライトストリップ処理システムは、所定の航空機の飛行計画情報を示すフライトストリップを共有して表示する複数の電子ストリップ端末及び前記フライトストリップのデータと操作内容と操作記録を収集し処理する処理装置により構成され、前記フライトストリップに対する操作によるアラート画面の表示情報を蓄積し、前記操作と前記航空機の位置情報とをAIで学習・解析し、当該解析の結果と前記アラート画面に関するアラートの情報との表示を行う。
(【0011】以降は省略されています)
この特許をJ-PlatPat(特許庁公式サイト)で参照する
関連特許
日本電気株式会社
管理装置
4日前
日本電気株式会社
監視装置
4日前
日本電気株式会社
監視装置
4日前
日本電気株式会社
海底分岐装置
5日前
日本電気株式会社
光集積回路素子
9日前
日本電気株式会社
レーザモジュール
10日前
日本電気株式会社
超伝導量子回路装置
10日前
日本電気株式会社
受信器および通信装置
11日前
日本電気株式会社
システム、装置及び方法
10日前
日本電気株式会社
送信装置および通信装置
16日前
日本電気株式会社
量子回路装置と制御方法
20日前
日本電気株式会社
通信装置および通信方法
16日前
日本電気株式会社
量子回路装置と制御方法
20日前
日本電気株式会社
光伝送システムおよび方法
12日前
日本電気株式会社
ラインカード及びイジェクタ
2日前
日本電気株式会社
分析方法および分析システム
17日前
日本電気株式会社
制御装置、プログラム及び方法
10日前
日本電気株式会社
演算処理装置および演算処理方法
12日前
日本電気株式会社
兆候検知装置および兆候検知方法
12日前
日本電気株式会社
共振器及びそれを備えた導波回路
18日前
日本電気株式会社
放送用システムおよび字幕作成方法
12日前
日本電気株式会社
推定装置、推定方法及びプログラム
10日前
日本電気株式会社
推定装置、推定方法、及び、記録媒体
17日前
日本電気株式会社
画像管理システムおよび画像管理方法
18日前
日本電気株式会社
ソーナー装置、通信方法、プログラム
12日前
日本電気株式会社
情報処理装置、制御方法及び記憶媒体
10日前
日本電気株式会社
波長可変レーザ装置及びその構成方法
16日前
日本電気株式会社
端末、端末の制御方法及びプログラム
2日前
日本電気株式会社
通信装置、通信方法及び通信プログラム
17日前
日本電気株式会社
判別装置、判別方法、およびプログラム
12日前
日本電気株式会社
注文端末、注文受付方法及びプログラム
16日前
日本電気株式会社
学習装置、学習方法及び学習プログラム
10日前
日本電気株式会社
安否確認支援装置、方法及びプログラム
5日前
日本電気株式会社
性能監視装置、性能監視方法、プログラム
16日前
日本電気株式会社
管理装置、管理方法および管理プログラム
18日前
日本電気株式会社
情報処理装置、情報処理方法、プログラム
18日前
続きを見る
他の特許を見る