TOP
|
特許
|
意匠
|
商標
特許ウォッチ
Twitter
他の特許を見る
10個以上の画像は省略されています。
公開番号
2025143083
公報種別
公開特許公報(A)
公開日
2025-10-01
出願番号
2024042811
出願日
2024-03-18
発明の名称
情報処理装置、情報処理方法、プログラム
出願人
日本電気株式会社
代理人
個人
,
個人
,
個人
,
個人
主分類
G06Q
10/06 20230101AFI20250924BHJP(計算;計数)
要約
【課題】構築するコンピュータシステムの信頼性の向上を図ることができないこと。
【解決手段】本開示の情報処理装置100は、コンピュータシステムに組み込み可能なコンポーネントの予め設定された性能を表す性能情報に基づいて、ユーザが希望するコンピュータシステムの性能を満たすコンポーネントの組み合わせからなるコンピュータシステムの構成を導出する導出部121と、性能情報に基づいて、導出した構成によるコンピュータシステムの性能が、ユーザが希望するコンピュータシステムの用途に応じて予め設定されたコンピュータシステムの性能要件を満たすか否かを判定する判定部122と、性能要件を満たすコンピュータシステムの構成を、コンポーネントを組み合わせて構築する構築部123と、を備える。
【選択図】図9
特許請求の範囲
【請求項1】
コンピュータシステムに組み込み可能なコンポーネントの予め設定された性能を表す性能情報に基づいて、ユーザが希望するコンピュータシステムの性能を満たすコンポーネントの組み合わせからなるコンピュータシステムの構成を導出する導出部と、
前記性能情報に基づいて、導出した構成によるコンピュータシステムの性能が、ユーザが希望するコンピュータシステムの用途に応じて予め設定されたコンピュータシステムの性能要件を満たすか否かを判定する判定部と、
前記性能要件を満たすコンピュータシステムの構成を、コンポーネントを組み合わせて構築する構築部と、
を備えた情報処理装置。
続きを表示(約 1,600 文字)
【請求項2】
請求項1に記載の情報処理装置であって、
導出した構成によるコンピュータシステムの性能が前記性能要件を満たしていない場合に、前記性能要件を満たしていない性能に基づいてコンポーネントを特定し、導出したコンピュータシステムの構成において特定したコンポーネントを変更する構成変更部、
を備えた情報処理装置。
【請求項3】
請求項2に記載の情報処理装置であって、
前記構成変更部は、前記性能要件を満たしていない性能と前記性能情報とに基づいてコンポーネントを特定する、
情報処理装置。
【請求項4】
請求項3に記載の情報処理装置であって、
前記構成変更部は、前記性能要件を満たしていない性能における前記性能要件の値と前記性能情報の値との比較に基づいてコンポーネントを特定する、
情報処理装置。
【請求項5】
請求項2に記載の情報処理装置であって、
前記構成変更部は、前記性能要件を満たしていない性能と特定したコンポーネントとに応じて予め設定された構成の変更内容を表す構成変更情報に基づいて、導出したコンピュータシステムの構成において特定したコンポーネントを変更する、
情報処理装置。
【請求項6】
請求項1に記載の情報処理装置であって、
前記導出部は、コンポーネントの使用期間に関する情報を含む前記性能情報に基づいて、ユーザが希望するコンピュータシステムの稼働期間を満たすコンポーネントの組み合わせからなるコンピュータシステムの構成を導出する、
情報処理装置。
【請求項7】
コンピュータシステムに組み込み可能なコンポーネントの予め設定された性能を表す性能情報に基づいて、ユーザが希望するコンピュータシステムの性能を満たすコンポーネントの組み合わせからなるコンピュータシステムの構成を導出し、
前記性能情報に基づいて、導出した構成によるコンピュータシステムの性能が、ユーザが希望するコンピュータシステムの用途に応じて予め設定されたコンピュータシステムの性能要件を満たすか否かを判定し、
前記性能要件を満たすコンピュータシステムの構成を、コンポーネントを組み合わせて構築する、
情報処理方法。
【請求項8】
請求項7に記載の情報処理方法であって、
導出した構成によるコンピュータシステムの性能が前記性能要件を満たしていない場合に、前記性能要件を満たしていない性能に基づいてコンポーネントを特定し、導出したコンピュータシステムの構成において特定したコンポーネントを変更する、
情報処理方法。
【請求項9】
請求項8に記載の情報処理方法であって、
前記性能要件を満たしていない性能と特定したコンポーネントとに応じて予め設定された構成の変更内容を表す構成変更情報に基づいて、導出したコンピュータシステムの構成において特定したコンポーネントを変更する、
情報処理方法。
【請求項10】
コンピュータシステムに組み込み可能なコンポーネントの予め設定された性能を表す性能情報に基づいて、ユーザが希望するコンピュータシステムの性能を満たすコンポーネントの組み合わせからなるコンピュータシステムの構成を導出し、
前記性能情報に基づいて、導出した構成によるコンピュータシステムの性能が、ユーザが希望するコンピュータシステムの用途に応じて予め設定されたコンピュータシステムの性能要件を満たすか否かを判定し、
前記性能要件を満たすコンピュータシステムの構成を、コンポーネントを組み合わせて構築する、
処理をコンピュータに実行させるプログラム。
発明の詳細な説明
【技術分野】
【0001】
本開示は、情報処理装置、情報処理方法、プログラムに関する。
続きを表示(約 2,300 文字)
【背景技術】
【0002】
コンピュータシステムを構築する際に、CPU(Central Processing Unit)やメモリ、GPU(Graphics Processing Unit)などの各コンポーネントを、一つの筐体内や近傍に設置するよう、構成することが行われている。しかしながら、このような場合、筐体単位や近傍の範囲でコンポーネント管理を行うため、コンポーネント割り当ての自由度が低く、性能・電力上の効率が悪いという問題があった。
【0003】
一方で、近年では、コンポーネントを筐体から分離し、利用者の要求等に基づいて結合することでコンピューティングリソースを動的に構成するComposable Disaggregated Infrastructure(CDI)が注目されている。CDIの仕組みを用いたコンポーネント分散型システムにおいては、多種多様なコンポーネントを筐体の枠を超え、遠距離に設置されたものを利用してコンピューティングリソースを構成することが可能であるため、構成の自由度は増す。関連する技術として、特許文献1に記載のものがある。
【先行技術文献】
【特許文献】
【0004】
特開2021-33733号公報
【発明の概要】
【発明が解決しようとする課題】
【0005】
しかしながら、上述した方法では、コンポーネントの性能を基にコンピュータシステムを構築しているものの、コンピュータシステムとしての信頼性については不明である。このため、構築するコンピュータシステムの信頼性の向上を図ることができない、という問題が生じる。
【0006】
このため、本開示の目的は、上述した課題である、構築するコンピュータシステムの信頼性の向上を図ることができない、ことを解決することにある。
【課題を解決するための手段】
【0007】
本開示の一形態である情報処理装置は、
コンピュータシステムに組み込み可能なコンポーネントの予め設定された性能を表す性能情報に基づいて、ユーザが希望するコンピュータシステムの性能を満たすコンポーネントの組み合わせからなるコンピュータシステムの構成を導出する導出部と、
前記性能情報に基づいて、導出した構成によるコンピュータシステムの性能が、ユーザが希望するコンピュータシステムの用途に応じて予め設定されたコンピュータシステムの性能要件を満たすか否かを判定する判定部と、
前記性能要件を満たすコンピュータシステムの構成を、コンポーネントを組み合わせて構築する構築部と、
を備えた、
という構成をとる。
また、本開示の一形態である情報処理方法は、
コンピュータシステムに組み込み可能なコンポーネントの予め設定された性能を表す性能情報に基づいて、ユーザが希望するコンピュータシステムの性能を満たすコンポーネントの組み合わせからなるコンピュータシステムの構成を導出し、
前記性能情報に基づいて、導出した構成によるコンピュータシステムの性能が、ユーザが希望するコンピュータシステムの用途に応じて予め設定されたコンピュータシステムの性能要件を満たすか否かを判定し、
前記性能要件を満たすコンピュータシステムの構成を、コンポーネントを組み合わせて構築する、
という構成をとる。
また、本開示の一形態であるプログラムは、
コンピュータシステムに組み込み可能なコンポーネントの予め設定された性能を表す性能情報に基づいて、ユーザが希望するコンピュータシステムの性能を満たすコンポーネントの組み合わせからなるコンピュータシステムの構成を導出し、
前記性能情報に基づいて、導出した構成によるコンピュータシステムの性能が、ユーザが希望するコンピュータシステムの用途に応じて予め設定されたコンピュータシステムの性能要件を満たすか否かを判定し、
前記性能要件を満たすコンピュータシステムの構成を、コンポーネントを組み合わせて構築する、
処理をコンピュータに実行させる、
という構成をとる。
【発明の効果】
【0008】
本開示は、以上のように構成されることにより、信頼性の高いコンピュータシステムを構築することができる。
【図面の簡単な説明】
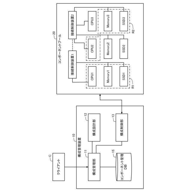
【0009】
本開示にかかる構成管理装置の構成を示すブロック図である。
本開示にかかる構成管理装置で利用される情報の一例を示す図である。
本開示にかかる構成管理装置で利用される情報の一例を示す図である。
本開示にかかる構成管理装置で利用される情報の一例を示す図である。
本開示にかかる構成管理装置の処理動作を示すフローチャートである。
本開示にかかる構成管理装置の処理動作を示すフローチャートである。
本開示にかかる構成管理装置の処理動作を示すフローチャートである。
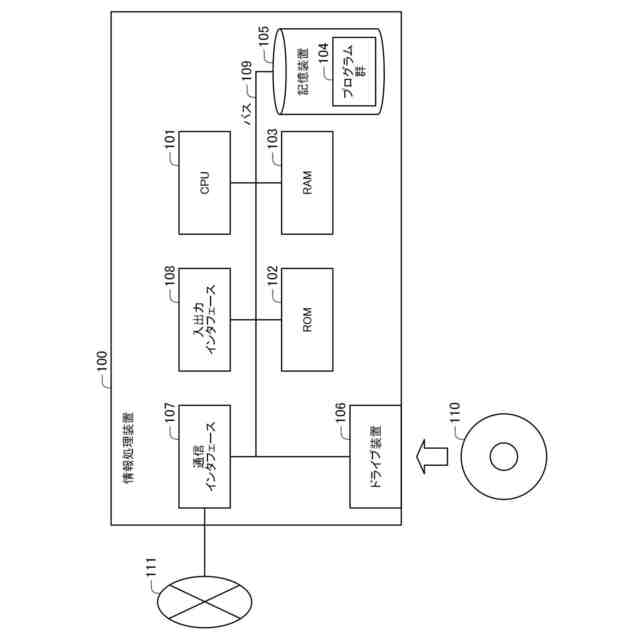
本開示にかかる情報処理装置のハードウェア構成を示すブロック図である。
本開示にかかる情報処理装置の構成を示すブロック図である。
【発明を実施するための形態】
【0010】
<第1の実施形態>
本開示の第1の実施形態について、図面を参照して説明する。なお、図面はいずれの実施形態においても関連しうる。
(【0011】以降は省略されています)
この特許をJ-PlatPat(特許庁公式サイト)で参照する
関連特許
日本電気株式会社
分析装置
4日前
日本電気株式会社
送信装置および通信装置
今日
日本電気株式会社
通信装置および通信方法
今日
日本電気株式会社
検知装置および検知方法
4日前
日本電気株式会社
量子回路装置と制御方法
4日前
日本電気株式会社
量子回路装置と制御方法
4日前
日本電気株式会社
端末装置および無線通信方法
15日前
日本電気株式会社
分析方法および分析システム
1日前
日本電気株式会社
共振器及びそれを備えた導波回路
2日前
日本電気株式会社
推定装置、推定方法及びプログラム
7日前
日本電気株式会社
推定装置、推定方法及びプログラム
7日前
日本電気株式会社
ピーク抑圧装置及びピーク抑圧方法
14日前
日本電気株式会社
システム及びマイグレーション方法
4日前
日本電気株式会社
画像管理システムおよび画像管理方法
2日前
日本電気株式会社
推定装置、推定方法、及び、記録媒体
1日前
日本電気株式会社
波長可変レーザ装置及びその構成方法
今日
日本電気株式会社
処理装置、処理方法、及びプログラム
4日前
日本電気株式会社
通信装置、通信方法及び通信プログラム
1日前
日本電気株式会社
通信システム及びパケット順序補正方法
15日前
日本電気株式会社
管理システム、管理方法及びプログラム
14日前
日本電気株式会社
予測システム、予測方法及びプログラム
7日前
日本電気株式会社
注文端末、注文受付方法及びプログラム
今日
日本電気株式会社
映像伝送装置、映像伝送方法、プログラム
4日前
日本電気株式会社
画像選択装置、画像選択方法及び記憶媒体
2日前
日本電気株式会社
性能監視装置、性能監視方法、プログラム
今日
日本電気株式会社
情報処理システム、処理方法、プログラム
4日前
日本電気株式会社
管理装置、管理方法および管理プログラム
2日前
日本電気株式会社
情報処理装置、情報処理方法、プログラム
2日前
日本電気株式会社
処理システム、処理方法およびプログラム
7日前
日本電気株式会社
通信システム、通信方法及び、プログラム
今日
日本電気株式会社
映像処理装置、映像処理方法、プログラム
4日前
日本電気株式会社
処理システム、処理方法、およびプログラム
2日前
日本電気株式会社
人数計数装置、人数計数方法及びプログラム
14日前
日本電気株式会社
処理システム、処理方法、およびプログラム
4日前
日本電気株式会社
情報表示装置、情報表示方法及びプログラム
今日
日本電気株式会社
処理システム、処理方法、およびプログラム
2日前
続きを見る
他の特許を見る