TOP
|
特許
|
意匠
|
商標
特許ウォッチ
Twitter
他の特許を見る
公開番号
2025155233
公報種別
公開特許公報(A)
公開日
2025-10-14
出願番号
2024058930
出願日
2024-04-01
発明の名称
見直し提案装置、見直し提案方法およびコンピュータプログラム
出願人
日本電気株式会社
代理人
個人
,
個人
主分類
G06Q
50/20 20120101AFI20251006BHJP(計算;計数)
要約
【課題】 相談者が相談したいアドバイザがいないというマッチングの不成立の低減を図る。
【解決手段】 取得部は、相談相手候補である複数のアドバイザの中から相談相手として選択したいアドバイザがいなかった相談者から、選択したいアドバイザがいなかった理由を不成立理由情報として取得する。検知部は、互いに異なる複数の相談者のそれぞれから取得した不成立理由情報を用いて、アドバイザの見直しを推奨する予め定められた見直し条件が満たされたと判断した場合に、見直しタイミングであると検知する。出力部は、見直しタイミングである場合に、見直しを推奨する見直し提案通知を出力する。
【選択図】 図7
特許請求の範囲
【請求項1】
相談相手候補である複数のアドバイザの中から相談相手として選択したいアドバイザがいなかった相談者から、選択したいアドバイザがいなかった理由を不成立理由情報として取得する取得部と、
互いに異なる複数の相談者のそれぞれから取得した不成立理由情報を用いて、アドバイザの見直しを推奨する予め定められた見直し条件が満たされたと判断した場合に、見直しタイミングであると検知する検知部と、
見直しタイミングである場合に、見直しを推奨する見直し提案通知を出力する出力部と
を備える見直し提案装置。
続きを表示(約 1,500 文字)
【請求項2】
前記取得部により取得された不成立理由情報による理由を予め定められた複数の項目に分類する分類部をさらに備え、
前記検知部が用いる見直し条件は、前記分類部により分類された項目別の理由の数を用いる条件を含む
請求項1に記載の見直し提案装置。
【請求項3】
前記検知部が用いる見直し条件の変更を受け付け、受け付けた内容に見直し条件を変更する条件変更部をさらに備える
請求項1に記載の見直し提案装置。
【請求項4】
前記出力部が出力する見直し提案通知には、相談相手候補である複数のアドバイザのメンバ構成を表す情報が含まれている
請求項1に記載の見直し提案装置。
【請求項5】
前記取得部が取得する不成立理由情報は、アドバイザに関係ない理由をもその他の理由として含み、
前記検知部は、さらに、前記取得部が取得した不成立理由情報に含まれるその他の理由を用いて、その他の理由の解消を促す予め定められた改善通知条件が満たされたと判断した場合に、その他の理由の解消を促す改善通知タイミングであると検知し、
前記出力部は、さらに、改善通知タイミングであることが検知された場合に、改善を促す通知を出力する
請求項1に記載の見直し提案装置。
【請求項6】
前記取得部は、相談相手候補である複数のアドバイザの中から相談相手としてのアドバイザを選択するときに、選択したいアドバイザがいなかったことによりアドバイザを選択しなかった相談者から、選択したいアドバイザがいなかった理由を不成立理由情報として取得する
請求項1に記載の見直し提案装置。
【請求項7】
その他の理由は、相談相手候補である複数のアドバイザの中から相談相手としてのアドバイザを相談者が選択する場合における相談者の操作に関係する理由を含む
請求項5に記載の見直し提案装置。
【請求項8】
相談者は高校生であり、アドバイザは社会人であり、相談者の相談は進路相談であり、
前記検知部が用いる見直し条件は、アドバイザの職業が関係する条件を含む
請求項1に記載の見直し提案装置。
【請求項9】
コンピュータによって、
相談相手候補である複数のアドバイザの中から相談相手として選択したいアドバイザがいなかった相談者から、選択したいアドバイザがいなかった理由を不成立理由情報として取得し、
互いに異なる複数の相談者のそれぞれから取得した不成立理由情報を用いて、アドバイザの見直しを推奨する予め定められた見直し条件が満たされたと判断した場合に、見直しタイミングであると検知し、
見直しタイミングである場合に、見直しを推奨する見直し提案通知を出力する
見直し提案方法。
【請求項10】
相談相手候補である複数のアドバイザの中から相談相手として選択したいアドバイザがいなかった相談者から、選択したいアドバイザがいなかった理由を不成立理由情報として取得する処理と、
互いに異なる複数の相談者のそれぞれから取得した不成立理由情報を用いて、アドバイザの見直しを推奨する予め定められた見直し条件が満たされたと判断した場合に、見直しタイミングであると検知する処理と、
見直しタイミングである場合に、見直しを推奨する見直し提案通知を出力する処理と
をコンピュータに実行させるコンピュータプログラム。
発明の詳細な説明
【技術分野】
【0001】
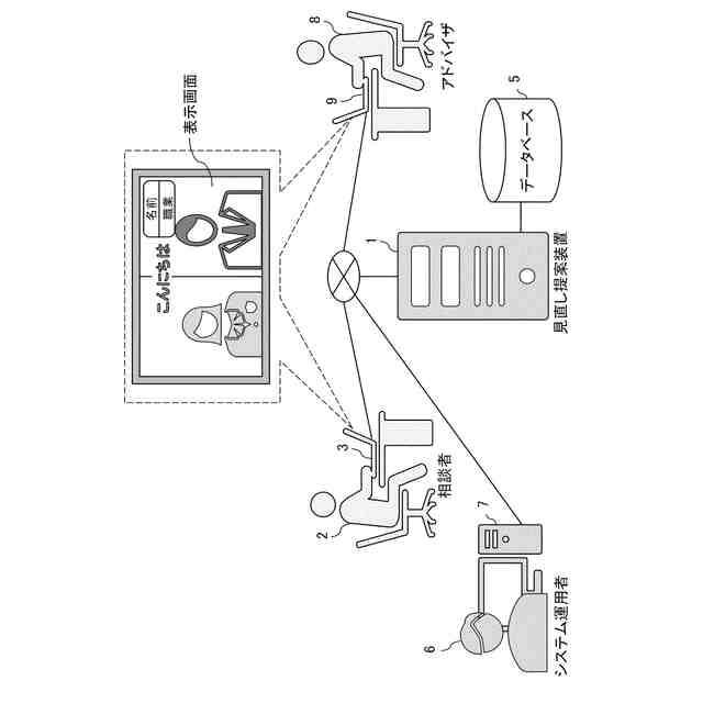
本開示は、相談員として登録されている複数のアドバイザのメンバを見直す見直し提案装置、見直し提案方法およびコンピュータプログラムに関する。
続きを表示(約 1,900 文字)
【背景技術】
【0002】
学校から社会・職業への円滑な移行を促すために、社会に出る前の高校などの学校においてキャリア教育が推進されている。これにより、高校生などが将来のキャリアについて考える場合があるが、情報不足により行き詰ってしまうことがある。このようなことを踏まえて、高校生が社会人にキャリアについて相談できる進路相談のサービスの提供が試みられている。
【0003】
なお、特許文献1(特開2021-33683号公報)には、ユーザからの相談を解決するためのアドバイザをマッチングする手法が示されている。特許文献1に示されている手法では、ユーザの入力した問いとアドバイザの属性とに基づきアドバイザのスコアが計算され、計算されたスコアに基づきアドバイザが選定される。さらに、特許文献1では、選定されたアドバイザに質問し、当該質問についての返答に基づきアドバイザの候補リストが生成される。ユーザは、その候補リストの中から選択したアドバイザと相談する。
【先行技術文献】
【特許文献】
【0004】
特開2021-33683号公報
【発明の概要】
【発明が解決しようとする課題】
【0005】
相談サービスの形式の一つとして、相談員として登録されている複数のアドバイザの中から相談者が相談相手となるアドバイザを選択し、選択したアドバイザと相談者が相談のための面談を行う形式のものがある。このような形式の相談サービスにおいて、次のような問題がある。すなわち、相談者が何らかの相談をしたいと思っても、登録されている複数のアドバイザの中に、相談したいと思うアドバイザがいないために相談相手としてのアドバイザを相談者が選択できないことがある。このような場合には、相談者は、相談したいアドバイザがいないことに因り、相談サービスを利用できないという事態となってしまう。
【0006】
本開示は上記課題を解決するために考え出された。すなわち、本開示の主な目的は、相談者が相談したいアドバイザがいないという事態を低減する技術を提供することにある。
【課題を解決するための手段】
【0007】
上記目的を達成するために、本開示に係る見直し提案装置は、その一態様として、
相談相手候補である複数のアドバイザの中から相談相手として選択したいアドバイザがいなかった相談者から、選択したいアドバイザがいなかった理由を不成立理由情報として取得する取得部と、
互いに異なる複数の相談者のそれぞれから取得した不成立理由情報を用いて、アドバイザの見直しを推奨する予め定められた見直し条件が満たされたと判断した場合に、見直しタイミングであると検知する検知部と、
見直しタイミングである場合に、見直しを推奨する見直し提案通知を出力する出力部と
を備える。
【0008】
また、本開示に係る見直し提案方法は、その一態様として、
コンピュータによって、
相談相手候補である複数のアドバイザの中から相談相手として選択したいアドバイザがいなかった相談者から、選択したいアドバイザがいなかった理由を不成立理由情報として取得し、
互いに異なる複数の相談者のそれぞれから取得した不成立理由情報を用いて、アドバイザの見直しを推奨する予め定められた見直し条件が満たされたと判断した場合に、見直しタイミングであると検知し、
見直しタイミングである場合に、見直しを推奨する見直し提案通知を出力する。
【0009】
さらに、本開示に係るコンピュータプログラムは、その一態様として、
相談相手候補である複数のアドバイザの中から相談相手として選択したいアドバイザがいなかった相談者から、選択したいアドバイザがいなかった理由を不成立理由情報として取得する処理と、
互いに異なる複数の相談者のそれぞれから取得した不成立理由情報を用いて、アドバイザの見直しを推奨する予め定められた見直し条件が満たされたと判断した場合に、見直しタイミングであると検知する処理と、
見直しタイミングである場合に、見直しを推奨する見直し提案通知を出力する処理と
をコンピュータに実行させる。
【発明の効果】
【0010】
本開示によれば、相談者が相談したいアドバイザがいないという事態を低減できる。
【図面の簡単な説明】
(【0011】以降は省略されています)
この特許をJ-PlatPat(特許庁公式サイト)で参照する
関連特許
日本電気株式会社
監視装置
今日
日本電気株式会社
監視装置
今日
日本電気株式会社
管理装置
今日
日本電気株式会社
海底分岐装置
1日前
日本電気株式会社
光集積回路素子
5日前
日本電気株式会社
レーザモジュール
6日前
日本電気株式会社
超伝導量子回路装置
6日前
日本電気株式会社
受信器および通信装置
7日前
日本電気株式会社
システム、装置及び方法
6日前
日本電気株式会社
送信装置および通信装置
12日前
日本電気株式会社
通信装置および通信方法
12日前
日本電気株式会社
光伝送システムおよび方法
8日前
日本電気株式会社
分析方法および分析システム
13日前
日本電気株式会社
制御装置、プログラム及び方法
6日前
日本電気株式会社
共振器及びそれを備えた導波回路
14日前
日本電気株式会社
演算処理装置および演算処理方法
8日前
日本電気株式会社
兆候検知装置および兆候検知方法
8日前
日本電気株式会社
放送用システムおよび字幕作成方法
8日前
日本電気株式会社
推定装置、推定方法及びプログラム
6日前
日本電気株式会社
情報処理装置、制御方法及び記憶媒体
6日前
日本電気株式会社
波長可変レーザ装置及びその構成方法
12日前
日本電気株式会社
画像管理システムおよび画像管理方法
14日前
日本電気株式会社
ソーナー装置、通信方法、プログラム
8日前
日本電気株式会社
推定装置、推定方法、及び、記録媒体
13日前
日本電気株式会社
通信装置、通信方法及び通信プログラム
13日前
日本電気株式会社
判別装置、判別方法、およびプログラム
8日前
日本電気株式会社
学習装置、学習方法及び学習プログラム
6日前
日本電気株式会社
注文端末、注文受付方法及びプログラム
12日前
日本電気株式会社
安否確認支援装置、方法及びプログラム
1日前
日本電気株式会社
通信システム、通信方法及び、プログラム
12日前
日本電気株式会社
性能監視装置、性能監視方法、プログラム
12日前
日本電気株式会社
動作認識装置、動作認識方法、プログラム
8日前
日本電気株式会社
情報処理装置、情報処理方法、プログラム
14日前
日本電気株式会社
情報処理装置、情報処理方法及びプログラム
6日前
日本電気株式会社
情報表示装置、情報表示方法及びプログラム
12日前
日本電気株式会社
制御装置、車両、制御方法およびプログラム
13日前
続きを見る
他の特許を見る