TOP
|
特許
|
意匠
|
商標
特許ウォッチ
Twitter
他の特許を見る
10個以上の画像は省略されています。
公開番号
2025145225
公報種別
公開特許公報(A)
公開日
2025-10-03
出願番号
2024045301
出願日
2024-03-21
発明の名称
通信システム、通信方法及び、プログラム
出願人
日本電気株式会社
代理人
個人
,
個人
主分類
H04B
1/7143 20110101AFI20250926BHJP(電気通信技術)
要約
【課題】複数の周波数帯をまたがる周波数ホッピングにおいて、妨害波の影響を受けることなく周波数ホッピングを使用して通信する通信システムを提供する。
【解決手段】第1の通信装置100と第2の通信装置200を含み、複数の周波数帯をまたいで周波数ホッピングを行って電波1000により通信を行う通信システム10において、第1の通信装置は、妨害波検出ブロックと、周波数ホッピングパターン選択ブロックを含み、妨害波検出ブロックは、妨害波が存在する周波数帯を特定し、周波数ホッピングパターン選択ブロックは、妨害波が存在する周波数帯を除外した周波数帯の組合せに対応する第1の周波数ホッピングパターンを決定し、かつ、第1の周波数ホッピングパターンを用いて通信を行う第1の指示を生成し、第2の通信装置へ第1の指示を送信する。
【選択図】図1
特許請求の範囲
【請求項1】
第1の通信装置と第2の通信装置を含み、複数の周波数帯をまたいで周波数ホッピングを行って通信を行う通信システムであって、
前記第1の通信装置は、妨害波検出ブロックと、周波数ホッピングパターン選択ブロックを含み、
前記第1の通信装置の前記妨害波検出ブロックは、妨害波が存在する周波数帯を特定し、
前記第1の通信装置の前記周波数ホッピングパターン選択ブロックは、前記妨害波が存在する周波数帯を除外した周波数帯の組合せに対応する第1の周波数ホッピングパターンを決定し、
前記第1の通信装置の前記周波数ホッピングパターン選択ブロックは、前記第1の周波数ホッピングパターンを用いて通信を行う第1の指示を生成し、
前記第1の通信装置は、前記第2の通信装置へ前記第1の指示を送信する、通信システム。
続きを表示(約 2,000 文字)
【請求項2】
前記第2の通信装置は、さらに、周波数ホッピングパターン選択ブロックを含み、
前記第2の通信装置の前記周波数ホッピングパターン選択ブロックは、前記第1の指示を受信すると、前記第1の周波数ホッピングパターンを用いて通信を開始する第1のタイミングを決定し、
前記第2の通信装置は、前記第1のタイミングを、前記第1の通信装置へ送信し、
前記第1の通信装置の前記周波数ホッピングパターン選択ブロックは、前記第2の通信装置から送信された前記第1のタイミングに基づいて、周波数ホッピングパターンを前記第1の周波数ホッピングパターンに変更し、
前記第1の通信装置と前記第2の通信装置は、前記第1の周波数ホッピングパターンを使用して通信を開始する、請求項1に記載の通信システム。
【請求項3】
前記第1の通信装置の前記妨害波検出ブロックは、周波数帯内の規定値の数以上の周波数において、所定値以上のレベルの妨害波が存在する場合に、前記周波数帯は、前記妨害波が存在する周波数帯であると特定する、請求項1又は2に記載の通信システム。
【請求項4】
前記複数の周波数帯は、短波(HF、High Frequency)帯、超短波(VHF、Very High Frequency)帯、極超短波(UHF、Ultra High Frequency)帯を含む、請求項1又は2に記載の通信システム。
【請求項5】
前記第1の通信装置の前記妨害波検出ブロックが、前記妨害波が消失したことを検出した場合には、前記第1の通信装置の前記周波数ホッピングパターン選択ブロックは、第2の周波数ホッピングパターンを決定し、
前記第1の通信装置の前記周波数ホッピングパターン選択ブロックは、前記第2の周波数ホッピングパターンを用いて通信を行う第2の指示を生成し、
前記第1の通信装置は、前記第2の通信装置へ前記第2の指示を送信する、請求項2に記載の通信システム。
【請求項6】
前記第2の通信装置の前記周波数ホッピングパターン選択ブロックは、前記第2の指示を受信すると、前記第2の周波数ホッピングパターンを用いて通信を開始する第2のタイミングを決定し、
前記第2の通信装置は、前記第2のタイミングを、前記第1の通信装置へ送信し、
前記第1の通信装置の前記周波数ホッピングパターン選択ブロックは、前記第2の通信装置から送信された前記第2のタイミングに基づいて、前記第1の周波数ホッピングパターンを前記第2の周波数ホッピングパターンに変更し、
前記第1の通信装置と前記第2の通信装置は、前記第2の周波数ホッピングパターンを使用して通信を開始する、請求項5に記載の通信システム。
【請求項7】
前記第2の周波数ホッピングパターンは、前記妨害波が存在する周波数帯を除外した周波数帯のうち使用する周波数帯の数が、最も多くなるように決定される、請求項5に記載の通信システム。
【請求項8】
前記第1のタイミングは、前記第1の周波数ホッピングパターンによる通信を開始する時刻を通知し、
前記第1の通信装置は、
前記時刻から、又は、
前記時刻の後に、前記第1の通信装置に割り当てられた最初の送信の開始時点から、前記第1の周波数ホッピングパターンによる通信を開始する、請求項2に記載の通信システム。
【請求項9】
第1の通信装置と第2の通信装置を含み、複数の周波数帯をまたいで周波数ホッピングを行って通信を行う通信システムにおいて、
前記第1の通信装置に含まれるコンピュータは、妨害波が存在する周波数帯を特定し、
前記第1の通信装置の前記コンピュータは、前記妨害波が存在する周波数帯を除外した周波数帯の組合せに対応する第1の周波数ホッピングパターンを決定し、
前記第1の通信装置の前記コンピュータは、前記第1の周波数ホッピングパターンを用いて通信を行う第1の指示を生成し、
前記第1の通信装置は、前記第2の通信装置へ前記第1の指示を送信する、通信方法。
【請求項10】
第1の通信装置と第2の通信装置を含み、複数の周波数帯をまたいで周波数ホッピングを行って通信を行う通信システムの前記第1の通信装置に含まれるコンピュータに、
妨害波が存在する周波数帯を特定する処理と、
前記妨害波が存在する周波数帯を除外した周波数帯の組合せに対応する第1の周波数ホッピングパターンを決定する処理と、
前記第1の周波数ホッピングパターンを用いて通信を行う第1の指示を生成する処理と、
前記第1の通信装置から前記第2の通信装置へ前記第1の指示を送信する処理を実行させる、プログラム。
発明の詳細な説明
【技術分野】
【0001】
本発明は、通信システム、通信方法及び、プログラムに関する。
続きを表示(約 1,500 文字)
【背景技術】
【0002】
妨害波が存在する場合の周波数ホッピングに関しては、以下のような文献が挙げられる。
【0003】
特許文献1は、使用可能なチャンネルを用いてホッピングパターンを作成し、当該チャンネルに妨害波があれば当該搬送チャンネルの使用を制限し、当該チャンネルに妨害波が存在しなければ、当該チャンネルの使用の制限を解除する、適応型周波数ホッピング方式を採用する無線通信制御方法に関するものである。
【0004】
特許文献2は、特許文献1と同様な内容に関するものである。
【先行技術文献】
【特許文献】
【0005】
特開2005-303379号公報
特開2023-155973号公報
【発明の概要】
【発明が解決しようとする課題】
【0006】
以下の分析は、本発明者によって与えられたものである。
【0007】
複数の周波数帯をまたがる周波数ホッピング(FH、Frequency Hopping)を使用して通信することにより、通信周波数帯域内に妨害波が存在した場合でも通信の継続性の向上が期待できる。しかし、周波数ホッピングの際に妨害波がある周波数帯を使い続けることは、通達性が低下した状態で通信を継続することになり、また、電波解析をされるリスクも伴うことになる。
【0008】
本発明は、複数の周波数帯をまたがる周波数ホッピングにおいて、妨害波の影響を受けることなく周波数ホッピングを使用して通信することに貢献する、通信システム、通信方法及び、プログラムを提供することを目的とする。
【課題を解決するための手段】
【0009】
本発明の第1の視点によれば、第1の通信装置と第2の通信装置を含み、複数の周波数帯をまたいで周波数ホッピングを行って通信を行う通信システムであって、
前記第1の通信装置は、妨害波検出ブロックと、周波数ホッピングパターン選択ブロックを含み、
前記第1の通信装置の前記妨害波検出ブロックは、妨害波が存在する周波数帯を特定し、
前記第1の通信装置の前記周波数ホッピングパターン選択ブロックは、前記妨害波が存在する周波数帯を除外した周波数帯の組合せに対応する第1の周波数ホッピングパターンを決定し、
前記第1の通信装置の前記周波数ホッピングパターン選択ブロックは、前記第1の周波数ホッピングパターンを用いて通信を行う第1の指示を生成し、
前記第1の通信装置は、前記第2の通信装置へ前記第1の指示を送信する、通信システムを、提供できる。
【0010】
本発明の第2の視点によれば、第1の通信装置と第2の通信装置を含み、複数の周波数帯をまたいで周波数ホッピングを行って通信を行う通信システムにおいて、
前記第1の通信装置に含まれるコンピュータは、妨害波が存在する周波数帯を特定し、
前記第1の通信装置の前記コンピュータは、前記妨害波が存在する周波数帯を除外した周波数帯の組合せに対応する第1の周波数ホッピングパターンを決定し、
前記第1の通信装置の前記コンピュータは、前記第1の周波数ホッピングパターンを用いて通信を行う第1の指示を生成し、
前記第1の通信装置は、前記第2の通信装置へ前記第1の指示を送信する、通信方法を、提供できる。本方法は、上記の方法を実行するコンピュータという、特定の機械に結びつけられている。
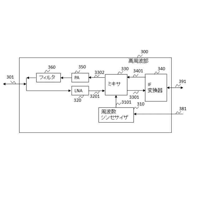
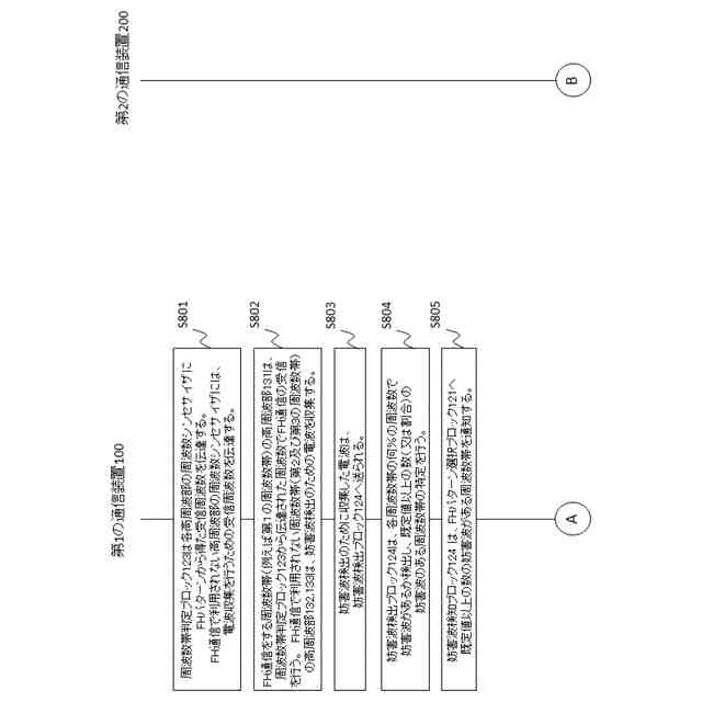
(【0011】以降は省略されています)
この特許をJ-PlatPat(特許庁公式サイト)で参照する
関連特許
日本電気株式会社
監視装置
6日前
日本電気株式会社
監視装置
6日前
日本電気株式会社
管理装置
6日前
日本電気株式会社
海底分岐装置
7日前
日本電気株式会社
光集積回路素子
11日前
日本電気株式会社
レーザモジュール
12日前
日本電気株式会社
超伝導量子回路装置
12日前
日本電気株式会社
受信器および通信装置
13日前
日本電気株式会社
通信装置および通信方法
18日前
日本電気株式会社
システム、装置及び方法
12日前
日本電気株式会社
光伝送システムおよび方法
14日前
日本電気株式会社
ラインカード及びイジェクタ
4日前
日本電気株式会社
制御装置、プログラム及び方法
12日前
日本電気株式会社
兆候検知装置および兆候検知方法
14日前
日本電気株式会社
演算処理装置および演算処理方法
14日前
日本電気株式会社
放送用システムおよび字幕作成方法
14日前
日本電気株式会社
推定装置、推定方法及びプログラム
12日前
日本電気株式会社
レコメンド装置およびレコメンド方法
今日
日本電気株式会社
情報処理装置、制御方法及び記憶媒体
12日前
日本電気株式会社
端末、端末の制御方法及びプログラム
4日前
日本電気株式会社
ソーナー装置、通信方法、プログラム
14日前
日本電気株式会社
判別装置、判別方法、およびプログラム
14日前
日本電気株式会社
学習装置、学習方法及び学習プログラム
12日前
日本電気株式会社
安否確認支援装置、方法及びプログラム
7日前
日本電気株式会社
動作認識装置、動作認識方法、プログラム
14日前
日本電気株式会社
情報処理装置、計算方法、およびプログラム
12日前
日本電気株式会社
追跡支援装置、追跡支援方法及びプログラム
11日前
日本電気株式会社
情報処理装置、情報処理方法及びプログラム
12日前
日本電気株式会社
情報処理装置、提示方法、およびプログラム
12日前
日本電気株式会社
追跡支援装置、追跡支援方法及びプログラム
11日前
日本電気株式会社
認証支援装置、システム、方法及びプログラム
12日前
日本電気株式会社
情報処理装置、情報処理方法、及びプログラム
14日前
日本電気株式会社
道路監視装置、道路監視方法、及びプログラム
13日前
日本電気株式会社
原子発振器、制御方法、制御装置、プログラム
12日前
日本電気株式会社
情報処理装置、情報処理方法、及び、プログラム
14日前
日本電気株式会社
情報処理装置、情報処理方法、及び、プログラム
12日前
続きを見る
他の特許を見る