TOP
|
特許
|
意匠
|
商標
特許ウォッチ
Twitter
他の特許を見る
10個以上の画像は省略されています。
公開番号
2025151350
公報種別
公開特許公報(A)
公開日
2025-10-09
出願番号
2024052726
出願日
2024-03-28
発明の名称
認証支援装置、システム、方法及びプログラム
出願人
日本電気株式会社
,
個人
代理人
個人
主分類
G16H
40/20 20180101AFI20251002BHJP(特定の用途分野に特に適合した情報通信技術)
要約
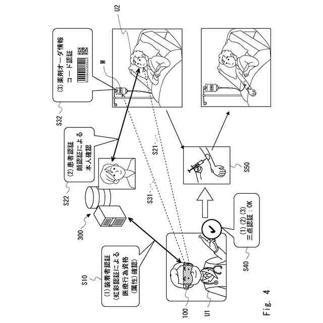
【課題】患者への薬剤の投与前の三点認証の煩雑さを軽減すること。
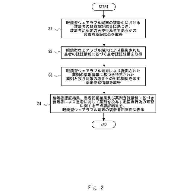
【解決手段】認証支援装置は、眼鏡型ウェアラブル端末の装着中における装着者の虹彩認証結果に基づき、当該装着者が所定の医療行為者であるかの装着者認証結果を取得する第1の取得手段と、眼鏡型ウェアラブル端末により撮影された患者の認証情報に基づく患者認証結果を取得する第2の取得手段と、眼鏡型ウェアラブル端末により撮影された薬剤の薬剤情報に基づき特定された当該薬剤と投与対象の患者との対応関係を示す薬剤登録情報を取得する第3の取得手段と、装着者認証結果、患者認証結果、及び、薬剤登録情報に基づき、装着者により患者に対して薬剤を投与する医療行為の可否に関する三点認証結果を、眼鏡型ウェアラブル端末の装着者用画面に表示させる出力制御手段と、を備える。
【選択図】図1
特許請求の範囲
【請求項1】
眼鏡型ウェアラブル端末の装着中における装着者の虹彩認証結果に基づき、当該装着者が所定の医療行為者であるかの装着者認証結果を取得する第1の取得手段と、
前記眼鏡型ウェアラブル端末により撮影された患者の認証情報に基づく患者認証結果を取得する第2の取得手段と、
前記眼鏡型ウェアラブル端末により撮影された薬剤の薬剤情報に基づき特定された当該薬剤と投与対象の患者との対応関係を示す薬剤登録情報を取得する第3の取得手段と、
前記装着者認証結果、前記患者認証結果、及び、前記薬剤登録情報に基づき、前記装着者により前記患者に対して前記薬剤を投与する医療行為の可否に関する三点認証結果を、前記眼鏡型ウェアラブル端末の装着者用画面に表示させる出力制御手段と、
を備える認証支援装置。
続きを表示(約 1,900 文字)
【請求項2】
前記眼鏡型ウェアラブル端末を介した前記装着者による所定の動作を検出した場合に、当該眼鏡型ウェアラブル端末の動作状態を、少なくとも前記認証情報及び前記薬剤情報を取得可能とする三点認証実行状態へ遷移させる状態遷移手段をさらに備える
請求項1に記載の認証支援装置。
【請求項3】
前記状態遷移手段は、前記装着者が所定の医療行為者であることを前記装着者認証結果が示し、かつ、前記装着者による所定の動作を検出した場合に、前記三点認証実行状態へ遷移させる
請求項2に記載の認証支援装置。
【請求項4】
前記出力制御手段は、
前記三点認証実行状態への遷移後に、前記眼鏡型ウェアラブル端末により前記患者又は前記薬剤に関する画像が撮影された場合、その旨を前記装着者用画面に表示させる
請求項2又は3に記載の認証支援装置。
【請求項5】
前記出力制御手段は、前記三点認証結果が前記医療行為の否を示す場合、前記医療行為の否の理由を説明する表示情報を含めて前記眼鏡型ウェアラブル端末の装着者用画面に表示させる
請求項1又は2に記載の認証支援装置。
【請求項6】
前記出力制御手段は、前記三点認証結果が前記医療行為の否を示す場合、前記装着者がその旨を知覚可能に、前記眼鏡型ウェアラブル端末を動作させる
請求項1又は2に記載の認証支援装置。
【請求項7】
前記認証支援装置は、前記眼鏡型ウェアラブル端末に内蔵されたものである
請求項1又は2に記載の認証支援装置。
【請求項8】
眼鏡型ウェアラブル端末と、
認証支援装置と、を備え、
前記眼鏡型ウェアラブル端末は、
装着中における装着者の虹彩画像、撮影した患者の認証情報、及び、撮影した薬剤の薬剤情報を前記認証支援装置へ送信し、
前記認証支援装置は、
前記眼鏡型ウェアラブル端末から受信した前記虹彩画像に対する虹彩認証結果に基づき、前記装着者が所定の医療行為者であるかの装着者認証結果を取得し、
前記眼鏡型ウェアラブル端末から受信した前記認証情報に基づく患者認証結果を取得し、
前記眼鏡型ウェアラブル端末から受信した前記薬剤情報に基づき特定された前記薬剤と投与対象の患者との対応関係を示す薬剤登録情報を取得し、
前記装着者認証結果、前記患者認証結果、及び、前記薬剤登録情報に基づき、前記装着者により前記患者に対して前記薬剤を投与する医療行為の可否に関する三点認証結果を、前記眼鏡型ウェアラブル端末へ送信し、
前記眼鏡型ウェアラブル端末は、
前記認証支援装置から受信した前記三点認証結果を装着者用画面に表示する
認証支援システム。
【請求項9】
コンピュータが、
眼鏡型ウェアラブル端末の装着中における装着者の虹彩認証結果に基づき、当該装着者が所定の医療行為者であるかの装着者認証結果を取得し、
前記眼鏡型ウェアラブル端末により撮影された患者の認証情報に基づく患者認証結果を取得し、
前記眼鏡型ウェアラブル端末により撮影された薬剤の薬剤情報に基づき特定された当該薬剤と投与対象の患者との対応関係を示す薬剤登録情報を取得し、
前記装着者認証結果、前記患者認証結果、及び、前記薬剤登録情報に基づき、前記装着者により前記患者に対して前記薬剤を投与する医療行為の可否に関する三点認証結果を、前記眼鏡型ウェアラブル端末の装着者用画面に表示させる
認証支援方法。
【請求項10】
眼鏡型ウェアラブル端末の装着中における装着者の虹彩認証結果に基づき、当該装着者が所定の医療行為者であるかの装着者認証結果を取得する第1の取得処理と、
前記眼鏡型ウェアラブル端末により撮影された患者の認証情報に基づく患者認証結果を取得する第2の取得処理と、
前記眼鏡型ウェアラブル端末により撮影された薬剤の薬剤情報に基づき特定された当該薬剤と投与対象の患者との対応関係を示す薬剤登録情報を取得する第3の取得処理と、
前記装着者認証結果、前記患者認証結果、及び、前記薬剤登録情報に基づき、前記装着者により前記患者に対して前記薬剤を投与する医療行為の可否に関する三点認証結果を、前記眼鏡型ウェアラブル端末の装着者用画面に表示させる出力制御処理と、
をコンピュータに実行させる認証支援プログラム。
発明の詳細な説明
【技術分野】
【0001】
本開示は、認証支援装置、システム、方法及びプログラムに関する。
続きを表示(約 2,400 文字)
【背景技術】
【0002】
患者へ薬剤を投与する医療行為の場合、医療行為を行おうとする者(医療行為予定者)は、薬剤の投与前に次の(1)から(3)のいわゆる「三点認証」を行う。ここで、「三点認証」は、(1)医療行為予定者が医療行為の有資格者であることの認証、(2)患者の個人の認証、及び、(3)(2)で認証された患者が当該薬剤(薬剤の種類、投与量、薬剤識別情報等)の投与対象者であることの認証の三点を認証することである。そして、医療行為予定者は、三点認証が確認できた後に患者へ薬剤を投与することとなっている。また、医療行為予定者は、三点認証の結果を記録することとなっている。
【0003】
特許文献1には、医療行為判定システムに関する技術が開示されている。特許文献1にかかるシステムは、カメラで看護師を撮影して顔認証を行い、顔認証結果と患者側判定装置と薬品側判定装置を用いて、看護師、患者及び薬品の対応関係が正しいか否かを総合判定する。
【先行技術文献】
【特許文献】
【0004】
特開2005-062994号公報
【発明の概要】
【発明が解決しようとする課題】
【0005】
しかしながら、医療行為予定者が患者への薬剤の投与前に三点認証を行うことが煩雑であるという問題点がある。特に、緊急時等の場合には、三点認証の煩雑さが医療事故のリスクを高めてしまうおそれがある。
【0006】
本開示の目的は、上述した課題を鑑み、患者への薬剤の投与前の三点認証の煩雑さを軽減するための認証支援装置、システム、方法及びプログラムを提供することにある。
【課題を解決するための手段】
【0007】
本開示にかかる認証支援装置は、
眼鏡型ウェアラブル端末の装着中における装着者の虹彩認証結果に基づき、当該装着者が所定の医療行為者であるかの装着者認証結果を取得する第1の取得手段と、
前記眼鏡型ウェアラブル端末により撮影された患者の認証情報に基づく患者認証結果を取得する第2の取得手段と、
前記眼鏡型ウェアラブル端末により撮影された薬剤の薬剤情報に基づき特定された当該薬剤と投与対象の患者との対応関係を示す薬剤登録情報を取得する第3の取得手段と、
前記装着者認証結果、前記患者認証結果、及び、前記薬剤登録情報に基づき、前記装着者により前記患者に対して前記薬剤を投与する医療行為の可否に関する三点認証結果を、前記眼鏡型ウェアラブル端末の装着者用画面に表示させる出力制御手段と、
を備える。
【0008】
本開示にかかる認証支援システムは、
眼鏡型ウェアラブル端末と、
認証支援装置と、を備え、
前記眼鏡型ウェアラブル端末は、
装着中における装着者の虹彩画像、撮影した患者の認証情報、及び、撮影した薬剤の薬剤情報を前記認証支援装置へ送信し、
前記認証支援装置は、
前記眼鏡型ウェアラブル端末から受信した前記虹彩画像に対する虹彩認証結果に基づき、前記装着者が所定の医療行為者であるかの装着者認証結果を取得し、
前記眼鏡型ウェアラブル端末から受信した前記認証情報に基づく患者認証結果を取得し、
前記眼鏡型ウェアラブル端末から受信した前記薬剤情報に基づき特定された前記薬剤と投与対象の患者との対応関係を示す薬剤登録情報を取得し、
前記装着者認証結果、前記患者認証結果、及び、前記薬剤登録情報に基づき、前記装着者により前記患者に対して前記薬剤を投与する医療行為の可否に関する三点認証結果を、前記眼鏡型ウェアラブル端末へ送信し、
前記眼鏡型ウェアラブル端末は、
前記認証支援装置から受信した前記三点認証結果を装着者用画面に表示する。
【0009】
本開示にかかる認証支援方法は、
コンピュータが、
眼鏡型ウェアラブル端末の装着中における装着者の虹彩認証結果に基づき、当該装着者が所定の医療行為者であるかの装着者認証結果を取得し、
前記眼鏡型ウェアラブル端末により撮影された患者の認証情報に基づく患者認証結果を取得し、
前記眼鏡型ウェアラブル端末により撮影された薬剤の薬剤情報に基づき特定された当該薬剤と投与対象の患者との対応関係を示す薬剤登録情報を取得し、
前記装着者認証結果、前記患者認証結果、及び、前記薬剤登録情報に基づき、前記装着者により前記患者に対して前記薬剤を投与する医療行為の可否に関する三点認証結果を、前記眼鏡型ウェアラブル端末の装着者用画面に表示させる。
【0010】
本開示にかかる認証支援プログラムは、
眼鏡型ウェアラブル端末の装着中における装着者の虹彩認証結果に基づき、当該装着者が所定の医療行為者であるかの装着者認証結果を取得する第1の取得処理と、
前記眼鏡型ウェアラブル端末により撮影された患者の認証情報に基づく患者認証結果を取得する第2の取得処理と、
前記眼鏡型ウェアラブル端末により撮影された薬剤の薬剤情報に基づき特定された当該薬剤と投与対象の患者との対応関係を示す薬剤登録情報を取得する第3の取得処理と、
前記装着者認証結果、前記患者認証結果、及び、前記薬剤登録情報に基づき、前記装着者により前記患者に対して前記薬剤を投与する医療行為の可否に関する三点認証結果を、前記眼鏡型ウェアラブル端末の装着者用画面に表示させる出力制御処理と、
をコンピュータに実行させる。
【発明の効果】
(【0011】以降は省略されています)
この特許をJ-PlatPat(特許庁公式サイト)で参照する
関連特許
日本電気株式会社
分析装置
12日前
日本電気株式会社
光集積回路素子
1日前
日本電気株式会社
レーザモジュール
2日前
日本電気株式会社
超伝導量子回路装置
2日前
日本電気株式会社
受信器および通信装置
3日前
日本電気株式会社
量子回路装置と制御方法
12日前
日本電気株式会社
量子回路装置と制御方法
12日前
日本電気株式会社
通信装置および通信方法
8日前
日本電気株式会社
検知装置および検知方法
12日前
日本電気株式会社
システム、装置及び方法
2日前
日本電気株式会社
送信装置および通信装置
8日前
日本電気株式会社
光伝送システムおよび方法
4日前
日本電気株式会社
端末装置および無線通信方法
23日前
日本電気株式会社
分析方法および分析システム
9日前
日本電気株式会社
制御装置、プログラム及び方法
2日前
日本電気株式会社
演算処理装置および演算処理方法
4日前
日本電気株式会社
共振器及びそれを備えた導波回路
10日前
日本電気株式会社
プログラム、算出装置、及び方法
24日前
日本電気株式会社
兆候検知装置および兆候検知方法
4日前
日本電気株式会社
ピーク抑圧装置及びピーク抑圧方法
22日前
日本電気株式会社
システム及びマイグレーション方法
12日前
日本電気株式会社
推定装置、推定方法及びプログラム
15日前
日本電気株式会社
放送用システムおよび字幕作成方法
4日前
日本電気株式会社
推定装置、推定方法及びプログラム
2日前
日本電気株式会社
推定装置、推定方法及びプログラム
15日前
日本電気株式会社
処理装置、処理方法、及びプログラム
12日前
日本電気株式会社
推定装置、推定方法、及び、記録媒体
9日前
日本電気株式会社
情報処理装置、制御方法及び記憶媒体
2日前
日本電気株式会社
波長可変レーザ装置及びその構成方法
8日前
日本電気株式会社
画像管理システムおよび画像管理方法
10日前
日本電気株式会社
ソーナー装置、通信方法、プログラム
4日前
日本電気株式会社
注文端末、注文受付方法及びプログラム
8日前
日本電気株式会社
通信システム及びパケット順序補正方法
23日前
日本電気株式会社
通信装置、通信方法及び通信プログラム
9日前
日本電気株式会社
判別装置、判別方法、およびプログラム
4日前
日本電気株式会社
学習装置、学習方法及び学習プログラム
2日前
続きを見る
他の特許を見る