TOP
|
特許
|
意匠
|
商標
特許ウォッチ
Twitter
他の特許を見る
10個以上の画像は省略されています。
公開番号
2025158618
公報種別
公開特許公報(A)
公開日
2025-10-17
出願番号
2024061335
出願日
2024-04-05
発明の名称
補聴支援装置、補聴支援方法、及び、プログラム
出願人
日本電気株式会社
代理人
個人
,
個人
,
個人
主分類
H04R
25/00 20060101AFI20251009BHJP(電気通信技術)
要約
【課題】聴覚に問題がある対象人物の聞き取りを支援する。
【解決手段】補聴支援装置は、聴覚に問題がある対象人物の映像をもとに、対象人物と発話人物との対話を監視し、前記発話人物が発した音声に対する前記対象人物の聞き取り可否を、前記対象人物の外見行動および前記対象人物の応答発話内容のいずれか1つ以上から判定する。そして、補聴支援装置は、前記聞き取り可又は聞き取り否と判定された音声の音声信号特徴を抽出する。
【選択図】図4
特許請求の範囲
【請求項1】
聴覚に問題がある対象人物の映像をもとに、対象人物と発話人物との対話を監視し、前記発話人物が発した音声に対する前記対象人物の聞き取り可否を、前記対象人物の外見行動および前記対象人物の応答発話内容のいずれか1つ以上から判定する判定手段と、
前記聞き取り可又は聞き取り否と判定された音声の音声信号特徴を抽出する抽出手段と、
を備える補聴支援装置。
続きを表示(約 1,200 文字)
【請求項2】
前記補聴支援装置は、音声再生装置と通信可能に接続されており、
前記抽出手段により抽出された音声信号特徴をもとに、前記音声再生装置の調整パラメータの値を導出する導出手段と、
前記値を、前記音声再生装置に送信する出力手段と、
を備える請求項1に記載の補聴支援装置。
【請求項3】
前記音声再生装置は、前記対象人物が装着する補聴器である請求項2に記載の補聴支援装置。
【請求項4】
前記抽出手段により抽出された音声信号特徴を用いて、音声を変換して出力する変換手段を備える請求項1に記載の補聴支援装置。
【請求項5】
前記対象人物の音声信号特徴を、当該対象人物の識別情報と対応付けて管理する管理手段をさらに備え、
前記変換手段は、音声伝達エリアに存在する対象人物を特定し、特定した対象人物の識別情報に対応する音声信号特徴を用いて音声を変換する請求項4に記載の補聴支援装置。
【請求項6】
前記変換手段は、前記音声伝達エリアに存在する複数の対象人物それぞれに対応する音声信号特徴をもとに、複数の対象人物が共通して聞き取りやすくなるような音声信号特徴を生成し、生成した音声信号特徴を用いて、前記音声を変換する請求項5に記載の補聴支援装置。
【請求項7】
前記対象人物には優先度が設定されており、
前記変換手段は、前記音声伝達エリアに存在する複数の対象人物の中で、前記優先度の高い対象人物の音声信号特徴を用いて、前記音声を変換する請求項5に記載の補聴支援装置。
【請求項8】
前記対象人物の周辺映像から前記対象人物が存在する環境を検知する環境検知手段を備え、
前記変換手段は、前記対象人物に対応する音声信号特徴と、前記環境に関する情報とを用いて、前記音声を変換する請求項4に記載の補聴支援装置。
【請求項9】
補聴支援装置により実行される補聴支援方法であって、
聴覚に問題がある対象人物の映像をもとに、対象人物と発話人物との対話を監視し、前記発話人物が発した音声に対する前記対象人物の聞き取り可否を、前記対象人物の外見行動および前記対象人物の応答発話内容のいずれか1つ以上から判定し、
前記聞き取り可又は聞き取り否と判定された音声の音声信号特徴を抽出する補聴支援方法。
【請求項10】
聴覚に問題がある対象人物の映像をもとに、対象人物と発話人物との対話を監視し、前記発話人物が発した音声に対する前記対象人物の聞き取り可否を、前記対象人物の外見行動および前記対象人物の応答発話内容のいずれか1つ以上から判定し、
前記聞き取り可又は聞き取り否と判定された音声の音声信号特徴を抽出する処理をコンピュータに実行させるプログラム。
発明の詳細な説明
【技術分野】
【0001】
本開示は、対象人物の聞き取りを支援する技術に関する。
続きを表示(約 1,600 文字)
【背景技術】
【0002】
高齢者は聴力が低下し、会話時の聞き取りが難しいことが多い。従来、高齢者など、聞き取りに問題がある者は、はっきりと聞くための医療機器である補聴器を装着することが多い。補聴器は、使用者の聴力に合わせて聞こえやすい音にするため、定期的な調整が必要である。特許文献1には、対象人物が聞き取り可能な音量や周波数の検出に要する時間を短く抑えつつ、検出の精度を高め、適切な調整を行う聴覚特性検出装置が記載されている。
【先行技術文献】
【特許文献】
【0003】
特開2020-080509号公報
【発明の概要】
【発明が解決しようとする課題】
【0004】
聞き取りやすい音量や周波数領域には、個人差がある。補聴器はそうした個人差を調整した上で使用されるが、使用者が認知症やその他病気を患う高齢者の場合、自らの補聴器の設定が合わないことを認識したり、会話により第三者に伝えたりすることが困難である。そのため、個々人の具体的な聞き取り難さを補聴器の調整により解消することが難しいという問題があった。
【0005】
本開示の目的の1つは、聴覚に問題がある対象人物の聞き取りを支援することにある。
【課題を解決するための手段】
【0006】
上記の課題を解決するため、本発明の一つの観点では、補聴支援装置は、
聴覚に問題がある対象人物の映像をもとに、対象人物と発話人物との対話を監視し、前記発話人物が発した音声に対する前記対象人物の聞き取り可否を、前記対象人物の外見行動および前記対象人物の応答発話内容のいずれか1つ以上から判定する判定手段と、
前記聞き取り可又は聞き取り否と判定された音声の音声信号特徴を抽出する抽出手段と、を備える。
【0007】
本発明の他の観点では、補聴支援装置により実行される補聴支援方法は、
聴覚に問題がある対象人物の映像をもとに、対象人物と発話人物との対話を監視し、前記発話人物が発した音声に対する前記対象人物の聞き取り可否を、前記対象人物の外見行動および前記対象人物の応答発話内容のいずれか1つ以上から判定し、
前記聞き取り可又は聞き取り否と判定された音声の音声信号特徴を抽出する。
【0008】
本発明のさらに他の観点では、プログラムは、
聴覚に問題がある対象人物の映像をもとに、対象人物と発話人物との対話を監視し、前記発話人物が発した音声に対する前記対象人物の聞き取り可否を、前記対象人物の外見行動および前記対象人物の応答発話内容のいずれか1つ以上から判定し、
前記聞き取り可又は聞き取り否と判定された音声の音声信号特徴を抽出する処理をコンピュータに実行させる。
【発明の効果】
【0009】
本開示によれば、聴覚に問題がある対象人物の聞き取りを支援することができる。
【図面の簡単な説明】
【0010】
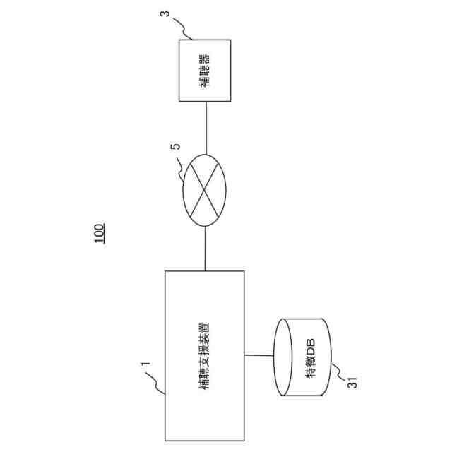
補聴支援システムの概略構成の一例を示す。
発話人物と対象人物の対話を模式的に表した図である。
補聴支援装置のハードウェア構成の一例を示す。
補聴支援装置及び補聴器の機能構成の一例を示すブロック図である。
特徴抽出処理のフローチャートである。
値導出処理のフローチャートである。
第2実施形態における補聴支援システムの概略構成の一例を示す。
複数の対象人物が音声放送を聞いている状況を模式的に表した図である。
第2実施形態の補聴支援装置の機能構成の一例を示すブロック図である。
音声出力処理のフローチャートである。
屋外を歩行する対象人物を模式的に表した図である。
【発明を実施するための形態】
(【0011】以降は省略されています)
この特許をJ-PlatPat(特許庁公式サイト)で参照する
関連特許
日本電気株式会社
分析装置
21日前
日本電気株式会社
監視装置
5日前
日本電気株式会社
管理装置
5日前
日本電気株式会社
監視装置
5日前
日本電気株式会社
海底分岐装置
6日前
日本電気株式会社
光集積回路素子
10日前
日本電気株式会社
レーザモジュール
11日前
日本電気株式会社
超伝導量子回路装置
11日前
日本電気株式会社
受信器および通信装置
12日前
日本電気株式会社
送信装置および通信装置
17日前
日本電気株式会社
システム、装置及び方法
11日前
日本電気株式会社
通信装置および通信方法
17日前
日本電気株式会社
量子回路装置と制御方法
21日前
日本電気株式会社
量子回路装置と制御方法
21日前
日本電気株式会社
光伝送システムおよび方法
13日前
日本電気株式会社
分析方法および分析システム
18日前
日本電気株式会社
ラインカード及びイジェクタ
3日前
日本電気株式会社
制御装置、プログラム及び方法
11日前
日本電気株式会社
共振器及びそれを備えた導波回路
19日前
日本電気株式会社
演算処理装置および演算処理方法
13日前
日本電気株式会社
兆候検知装置および兆候検知方法
13日前
日本電気株式会社
放送用システムおよび字幕作成方法
13日前
日本電気株式会社
推定装置、推定方法及びプログラム
11日前
日本電気株式会社
システム及びマイグレーション方法
21日前
日本電気株式会社
画像管理システムおよび画像管理方法
19日前
日本電気株式会社
端末、端末の制御方法及びプログラム
3日前
日本電気株式会社
情報処理装置、制御方法及び記憶媒体
11日前
日本電気株式会社
推定装置、推定方法、及び、記録媒体
18日前
日本電気株式会社
ソーナー装置、通信方法、プログラム
13日前
日本電気株式会社
波長可変レーザ装置及びその構成方法
17日前
日本電気株式会社
注文端末、注文受付方法及びプログラム
17日前
日本電気株式会社
安否確認支援装置、方法及びプログラム
6日前
日本電気株式会社
通信装置、通信方法及び通信プログラム
18日前
日本電気株式会社
学習装置、学習方法及び学習プログラム
11日前
日本電気株式会社
判別装置、判別方法、およびプログラム
13日前
日本電気株式会社
情報処理装置、情報処理方法、プログラム
19日前
続きを見る
他の特許を見る