TOP
|
特許
|
意匠
|
商標
特許ウォッチ
Twitter
他の特許を見る
公開番号
2025139173
公報種別
公開特許公報(A)
公開日
2025-09-26
出願番号
2024037974
出願日
2024-03-12
発明の名称
予測システム、予測方法及びプログラム
出願人
日本電気株式会社
代理人
個人
,
個人
主分類
G06F
11/34 20060101AFI20250918BHJP(計算;計数)
要約
【課題】時系列のS.M.A.R.Tデータを用いて高精度に記憶装置の寿命や故障を予測する方法を提供する。
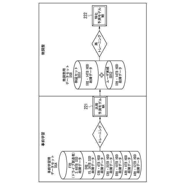
【解決手段】予測システムは、複数種類の記憶装置で収集された時系列のS.M.A.R.T.データである第1訓練データを用いて、前記第1訓練データに含まれる値の推移と前記記憶装置の残存耐用期間との関係を学習して構築された汎用予測モデルと、記憶装置の種類別の時系列のS.M.A.R.T.データである第2訓練データを用いて前記第2訓練データに含まれる値の推移と前記第2訓練データに係る種類の記憶装置の残存耐用期間との関係を学習して構築された特化予測モデルと、を記憶する手段と、予測対象の記憶装置で収集された時系列のS.M.A.R.T.データと、前記予測対象の記憶装置と同じ種類の記憶装置に係る前記特化予測モデルと、に基づいて、前記予測対象の記憶装置の残存耐用期間を予測する手段と、を備える。
【選択図】図6
特許請求の範囲
【請求項1】
複数種類の記憶装置で収集された時系列のS.M.A.R.T.データである第1訓練データを用いて、前記第1訓練データに含まれる値の推移と記憶装置の残存耐用期間との関係を学習して構築された汎用予測モデルと、記憶装置の種類別の時系列のS.M.A.R.T.データである第2訓練データを用いて前記第2訓練データに含まれる値の推移と前記第2訓練データに係る種類の記憶装置の残存耐用期間との関係を学習して構築された特化予測モデルと、を記憶する手段と、
予測対象の記憶装置で収集された時系列のS.M.A.R.T.データと、前記予測対象の記憶装置と同じ種類の記憶装置に係る前記特化予測モデルと、に基づいて、前記予測対象の記憶装置の残存耐用期間を予測する手段と、
を備える予測システム。
続きを表示(約 1,500 文字)
【請求項2】
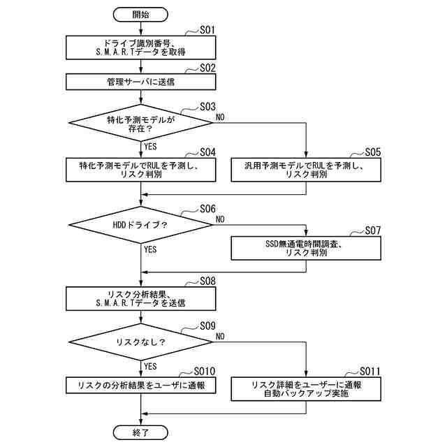
前記記憶する手段が、前記予測対象の記憶装置と同じ種類の記憶装置に係る前記特化予測モデルを記憶していない場合、
前記予測する手段は、前記予測対象の記憶装置で収集された時系列のS.M.A.R.T.データと、前記汎用予測モデルと、に基づいて、前記予測対象の記憶装置の残存耐用期間を予測する、
請求項1に記載の予測システム。
【請求項3】
前記特化予測モデルは、前記汎用予測モデルを基に、前記第2訓練データを用いて追加学習して構築されたモデルである、
請求項1又は請求項2に記載の予測システム。
【請求項4】
前記予測対象の記憶装置の残存耐用期間が所定の閾値以下となると、前記予測対象の記憶装置の自動バックアップを実行する手段、
をさらに備える請求項1又は請求項2に予測システム。
【請求項5】
前記予測対象の記憶装置がSSDの場合、当該記憶装置の無通電時間が所定の閾値以上となると、データ消失の可能性を通知する手段、
をさらに備える請求項1又は請求項2に予測システム。
【請求項6】
前記汎用予測モデルおよび前記特化予測モデルを構築する手段、
をさらに備える請求項1又は請求項2に予測システム。
【請求項7】
前記第1訓練データには、公開されている記憶装置の故障に関する時系列のS.M.A.R.Tデータが含まれる、
請求項1又は請求項2に予測システム。
【請求項8】
前記第2訓練データには、記憶装置が故障に至るまで定期的に収集されたS.M.A.R.Tデータおよび/または前記予測対象の記憶装置の稼働中に収集されたS.M.A.R.Tデータが含まれる、
請求項1又は請求項2に予測システム。
【請求項9】
複数種類の記憶装置で収集された時系列のS.M.A.R.T.データである第1訓練データを用いて、前記第1訓練データに含まれる値の推移と記憶装置の残存耐用期間との関係を学習して構築された汎用予測モデルと、記憶装置の種類別の時系列のS.M.A.R.T.データである第2訓練データを用いて前記第2訓練データに含まれる値の推移と前記第2訓練データに係る種類の記憶装置の残存耐用期間との関係を学習して構築された特化予測モデルと、を記憶する手段から、予測対象の記憶装置と同じ種類の記憶装置に係る前記特化予測モデルを取得し、
取得した前記特化予測モデルと、前記予測対象の記憶装置で収集された時系列のS.M.A.R.T.データと、に基づいて、前記予測対象の記憶装置の残存耐用期間を予測する、
予測方法。
【請求項10】
コンピュータに、
複数種類の記憶装置で収集された時系列のS.M.A.R.T.データである第1訓練データを用いて、前記第1訓練データに含まれる値の推移と記憶装置の残存耐用期間との関係を学習して構築された汎用予測モデルと、記憶装置の種類別の時系列のS.M.A.R.T.データである第2訓練データを用いて前記第2訓練データに含まれる値の推移と前記第2訓練データに係る種類の記憶装置の残存耐用期間との関係を学習して構築された特化予測モデルと、を記憶する手段から、予測対象の記憶装置と同じ種類のドライブに係る前記特化予測モデルを取得し、
取得した前記特化予測モデルと、前記予測対象の記憶装置で収集された時系列のS.M.A.R.T.データと、に基づいて、前記予測対象の記憶装置の残存耐用期間を予測する処理、
を実行させるプログラム。
発明の詳細な説明
【技術分野】
【0001】
本開示は、予測システム、予測方法及びプログラムに関する。
続きを表示(約 2,500 文字)
【背景技術】
【0002】
HDD(Hard Disk Drive)やSSD(Solid State Drive)などの記憶装置(以下、ドライブと称する場合がある。)は、一般的に所定期間(例えば5年間)の動作が保証されている。しかし、ドライブの使用環境や使用条件により、保証期間中であっても故障する可能性がある。そのため、故障することを前提に運用、保守の体制がとられていることが多い。ドライブの故障時期や寿命の予測精度が向上することができれば、突然のドライブ故障による予期しない保守機会を低減することができる。すなわち、RUL(Remaining Useful Life:ドライブの残存耐用期間)の予測精度の向上は、ドライブに最も期待されることの一つである稼働安定性の向上に貢献する。
【0003】
ドライブの稼働状態の監視や故障原因の分析に用いられるデータとして、S.M.A.R.T(Self-Monitoring, Analysis and Reporting Technology)データが知られている。S.M.A.R.T.とはHDDやSSDなどのドライブ製品に内蔵される自己診断機能である。S.M.A.R.T.機能により、ドライブは各種の検査項目をリアルタイムに自己診断し、自身の状態を数値化する。そして、その結果はS.M.A.R.Tデータとして記録される。S.M.A.R.Tデータには、スピンアップ時間、稼働時間、モーターの回転/停止回数、代替処理された不良セクタの数、総書き込みデータ量などの情報が含まれている。S.M.A.R.Tデータは、定期的に収集された時系列データであり、時間の経過とともに変化する現象を捉えるためにも用いることができる。例えば、ドライブの故障時期や寿命の予測に活用することができる。特許文献1には、S.M.A.R.Tデータに含まれる複数のパラメータと各パラメータについて設定された閾値とを比較して、ドライブの健康状態の評価や故障予測を行う技術が開示されている。
【0004】
S.M.A.R.Tデータを活用する場合、公開された汎用的なS.M.A.R.Tデータを用いることが一般的である。汎用的なS.M.A.R.Tデータには、様々な種類のドライブのデータや様々なベンダーのデータが含まれる。S.M.A.R.Tデータの内容、定義、指標は、ドライブの種類やベンダーによって異なることが一般的である。したがって、汎用的なS.M.A.R.Tデータを用いて、故障原因の特定、健康状態の評価、故障予測などを行っても十分な精度が得られない可能性が高い。特許文献1にもこの課題に対する解決手段は開示されていない。
【先行技術文献】
【特許文献】
【0005】
特許第7281854号公報
【発明の概要】
【発明が解決しようとする課題】
【0006】
S.M.A.R.Tデータを用いて高精度に記憶装置の寿命や故障を予測する方法を提供することを目的の一つとする。
【課題を解決するための手段】
【0007】
本開示の一態様によれば、予測システムは、複数種類の記憶装置で収集された時系列のS.M.A.R.T.データである第1訓練データを用いて、前記第1訓練データに含まれる値の推移と記憶装置の残存耐用期間との関係を学習して構築された汎用予測モデルと、記憶装置の種類別の時系列のS.M.A.R.T.データである第2訓練データを用いて前記第2訓練データに含まれる値の推移と前記第2訓練データに係る種類の記憶装置の残存耐用期間との関係を学習して構築された特化予測モデルと、を記憶する手段と、予測対象の記憶装置で収集された時系列のS.M.A.R.T.データと、前記予測対象の記憶装置と同じ種類の記憶装置に係る前記特化予測モデルと、に基づいて、前記予測対象の記憶装置の残存耐用期間を予測する手段と、を備える。
【0008】
本開示の一態様によれば、予測方法は、複数種類の記憶装置で収集された時系列のS.M.A.R.T.データである第1訓練データを用いて、前記第1訓練データに含まれる値の推移と記憶装置の残存耐用期間との関係を学習して構築された汎用予測モデルと、記憶装置の種類別の時系列のS.M.A.R.T.データである第2訓練データを用いて前記第2訓練データに含まれる値の推移と前記第2訓練データに係る種類の記憶装置の残存耐用期間との関係を学習して構築された特化予測モデルと、を記憶する手段から、予測対象の記憶装置と同じ種類の記憶装置に係る前記特化予測モデルを取得し、取得した前記特化予測モデルと、前記予測対象の記憶装置で収集された時系列のS.M.A.R.T.データと、に基づいて、前記予測対象の記憶装置の残存耐用期間を予測する。
【0009】
本開示の一態様によれば、コンピュータに、複数種類の記憶装置で収集された時系列のS.M.A.R.T.データである第1訓練データを用いて、前記第1訓練データに含まれる値の推移と記憶装置の残存耐用期間との関係を学習して構築された汎用予測モデルと、記憶装置の種類別の時系列のS.M.A.R.T.データである第2訓練データを用いて前記第2訓練データに含まれる値の推移と前記第2訓練データに係る種類の記憶装置の残存耐用期間との関係を学習して構築された特化予測モデルと、を記憶する手段から、予測対象の記憶装置と同じ種類のドライブに係る前記特化予測モデルを取得し、取得した前記特化予測モデルと、前記予測対象の記憶装置で収集された時系列のS.M.A.R.T.データと、に基づいて、前記予測対象の記憶装置の残存耐用期間を予測する処理、を実行させる。
【発明の効果】
【0010】
本開示によれば、S.M.A.R.Tデータを用いて高精度に記憶装置の寿命や故障を予測することができる。
【図面の簡単な説明】
(【0011】以降は省略されています)
この特許をJ-PlatPat(特許庁公式サイト)で参照する
関連特許
日本電気株式会社
分析装置
7日前
日本電気株式会社
量子回路装置と制御方法
7日前
日本電気株式会社
送信装置および通信装置
3日前
日本電気株式会社
量子回路装置と制御方法
7日前
日本電気株式会社
通信装置および通信方法
3日前
日本電気株式会社
検知装置および検知方法
7日前
日本電気株式会社
端末装置および無線通信方法
18日前
日本電気株式会社
分析方法および分析システム
4日前
日本電気株式会社
共振器及びそれを備えた導波回路
5日前
日本電気株式会社
プログラム、算出装置、及び方法
19日前
日本電気株式会社
ピーク抑圧装置及びピーク抑圧方法
17日前
日本電気株式会社
推定装置、推定方法及びプログラム
10日前
日本電気株式会社
推定装置、推定方法及びプログラム
10日前
日本電気株式会社
システム及びマイグレーション方法
7日前
日本電気株式会社
波長可変レーザ装置及びその構成方法
3日前
日本電気株式会社
画像管理システムおよび画像管理方法
5日前
日本電気株式会社
推定装置、推定方法、及び、記録媒体
4日前
日本電気株式会社
処理装置、処理方法、及びプログラム
7日前
日本電気株式会社
通信システム及びパケット順序補正方法
18日前
日本電気株式会社
通信装置、通信方法及び通信プログラム
4日前
日本電気株式会社
管理システム、管理方法及びプログラム
17日前
日本電気株式会社
予測システム、予測方法及びプログラム
10日前
日本電気株式会社
注文端末、注文受付方法及びプログラム
3日前
日本電気株式会社
情報処理装置、情報処理方法、プログラム
5日前
日本電気株式会社
映像処理装置、映像処理方法、プログラム
7日前
日本電気株式会社
処理システム、処理方法およびプログラム
10日前
日本電気株式会社
通信システム、通信方法及び、プログラム
3日前
日本電気株式会社
映像伝送装置、映像伝送方法、プログラム
7日前
日本電気株式会社
情報処理システム、処理方法、プログラム
7日前
日本電気株式会社
性能監視装置、性能監視方法、プログラム
3日前
日本電気株式会社
画像選択装置、画像選択方法及び記憶媒体
5日前
日本電気株式会社
管理装置、管理方法および管理プログラム
5日前
日本電気株式会社
処理システム、処理方法、およびプログラム
7日前
日本電気株式会社
画像生成装置、画像生成方法及びプログラム
5日前
日本電気株式会社
処理システム、処理方法、およびプログラム
5日前
日本電気株式会社
情報処理装置、情報処理方法及びプログラム
10日前
続きを見る
他の特許を見る