TOP
|
特許
|
意匠
|
商標
特許ウォッチ
Twitter
他の特許を見る
10個以上の画像は省略されています。
公開番号
2025172779
公報種別
公開特許公報(A)
公開日
2025-11-26
出願番号
2025135406,2020084991
出願日
2025-08-15,2020-05-14
発明の名称
内燃機関の吸気効率を推定し制御する方法
出願人
マレッリ・ユーロプ・ソチエタ・ペル・アツィオーニ
,
MARELLI EUROPE S.P.A.
代理人
個人
,
個人
主分類
F02D
45/00 20060101AFI20251118BHJP(燃焼機関;熱ガスまたは燃焼生成物を利用する機関設備)
要約
【課題】内燃機関の各シリンダ内に閉じ込められた空気の質量を求める。
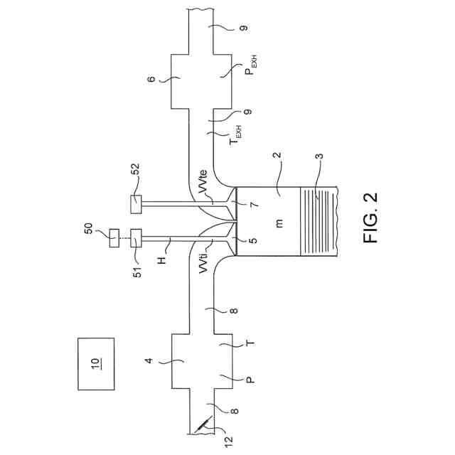
【解決手段】少なくとも一つの吸気バルブ5は、制御して吸気バルブ5のリフトを変化させるように駆動される。測定および/または推定物理量を使用する充填モデルに基づいて、吸気マニホールド4内で測定された吸気圧Pと、エンジン回転速度と、リフトHおよび前記リフトHに基づく吸気バルブの閉鎖遅角の関数として推定された、前の動作サイクルにて燃焼によって生成され、シリンダ2内に存在するガスの質量(OFF)と、を少なくとも含む第1群の基準量の各量の値を求める。前記充填モデルに基づいて、エンジン回転速度、吸気バルブのリフトH、および吸気バルブの閉鎖遅角の関数として、各シリンダ2の実内容積を求める。前述の量に基づいて、第1群の基準量、および各シリンダ2内の実容積の関数として各シリンダ2内に閉じ込められた空気の質量mを求める。
【選択図】図2
特許請求の範囲
【請求項1】
複数のシリンダ(2)を備える内燃機関(1)の各シリンダ(2)内に閉じ込められた空気の質量(m)を求める方法であって、前記シリンダ(2)のそれぞれは、吸気マニホールド(4)および排気マニホールド(6)に接続され、少なくとも一つのそれぞれの吸気バルブ(5)によって前記吸気マニホールド(4)から新鮮な空気を受け、燃焼によって生成された排気ガスを少なくとも一つのそれぞれの排気バルブ(7)によって前記排気マニホールド(6)へと導入し、
前記少なくとも一つの吸気バルブ(5)は、制御して前記吸気バルブ(5)のリフト(H)を変化させるように駆動され、
前記方法は、
測定物理量および/または推定物理量を用いる充填モデルに基づいて、前記吸気マニホールド(4)内で測定された吸気圧(P)と、エンジン回転速度(n)と、前記リフト(H)および前記リフト(H)に基づく前記吸気バルブの閉鎖遅角(IVC)の関数として推定された、前の動作サイクルにて燃焼によって生成され、前記シリンダ(3)内に存在するガスの質量(OFF)と、を含む第1群の基準量の各量の値を求めるステップと、
前記充填モデルに基づいて、前記エンジン回転速度(n)、前記吸気バルブの前記リフト(H)、および前記吸気バルブの前記閉鎖遅角(IVC)の関数として、各シリンダ(2)の実効内容積(V)を求めるステップと、
前記第1群の基準量、および各シリンダ内(2)の前記実容積(V)の関数として、各シリンダ(2)内に閉じ込められた空気の前記質量(m)を、関係:
m=(P*V)-OFF
を通じて、求めるステップと、を含む方法。
続きを表示(約 3,200 文字)
【請求項2】
前記少なくとも一つの吸気バルブ(5)はまた、制御して吸気バルブ角変位(VVTi)を変化させるように駆動され、および/または前記少なくとも一つの排気バルブ(7)は、制御して排気バルブ角変位(VVTe)を変化させるように駆動され、
第1群の基準量の値を求める前記ステップは、前記吸気バルブの前記リフト(H)と前記吸気バルブ角変位(VVTi)との両方に基づいて、前記吸気バルブの前記閉鎖遅角(IVC)を求めることを含む、請求項1に記載の方法。
【請求項3】
各シリンダの前記実内容積(V)を求める前記ステップは、
第1マップ(f
v
(IVC,n))、第2マップ(f
h
(H,n))、第3マップ(f
p
(P,n))によって各シリンダ(2)の前記実内容積(V)を計算するステップを含み、
前記第1マップ(f
v
(IVC,n))は、前記吸気バルブ閉鎖遅角(IVC)および前記エンジン回転速度(n)の関数であり、前記第2マップ(f
h
(H,n))は、前記吸気バルブリフト(H)および前記内燃機関回転速度(n)の関数であり、前記第3マップ(f
p
(P,n))は、前記吸気圧(P)および前記エンジン回転速度(n)の関数である、請求項1または請求項2に記載の方法。
【請求項4】
各シリンダ(2)の前記実内容積(V)は、関係:
V=f
v
(IVC,n)*f
h
(H,n)*f
p
(P,n)
によって計算される、請求項3に記載の方法。
【請求項5】
前記第1群の基準量はさらに、前記吸気マニホールド(4)内で検出された温度(T)、および前記エンジンの冷却液の温度(T
H2O
)を含み、
各シリンダ(2)内に閉じ込められた空気の前記質量(m)を求める前記ステップは、前記第1群の基準量、および各シリンダ(2)内の前記実容積(V)の関数として、各シリンダ(2)内に閉じ込められた空気の前記質量(m)を、関係:
m=[(P*V)-OFF]*f
1
(T,P)*f
2
(T
H2O
,P)
を通じて、計算するステップを含み、
f
1
(T,P)およびf
2
(T
H2O
,P)は、前記充填モデルに属する既知の関数である、請求項1から請求項4のいずれか一項に記載の方法。
【請求項6】
単一の自由度(γ)により前記リフト(H)と吸気バルブ開放進角(IVO)および前記吸気バルブ閉鎖遅角(IVC)との両方を定めるように、制御して前記吸気バルブのリフト則を変化させることで吸気バルブリフト調整器(50)によって前記吸気バルブ(5)を駆動するステップをさらに含む、請求項1から請求項5のいずれか一項に記載の方法。
【請求項7】
駆動する前記ステップは、
関係:
IVO(H)=IVO
hmax
-Δivo(H)
によって前記吸気バルブ開放進角(IVO)を求めるステップと、
関係:
IVC(H)=IVC
hmax
-Δivc(H)
によって前記吸気バルブ閉鎖遅角(IVC)を求めるステップと、を含み、
IVO
hmax
は、最大リフトに対応する前記吸気バルブ開放進角であり、Δivo(H)は、制御されたリフト(H)に基づく吸気バルブ開放進角の変動であり、
IVC
hmax
は、前記最大リフトに対応する前記吸気バルブ閉鎖遅角であり、Δivc(H)は、前記制御されたリフト(H)に基づく吸気バルブ閉鎖遅角の変動である、請求項6に記載の方法。
【請求項8】
前記吸気バルブ開放進角(IVO)と前記吸気バルブ閉鎖遅角(IVC)の両方が、前記リフト(H)だけでなく前記吸気バルブ角変位(VVTi)にも基づくように、制御して前記吸気バルブ角変位(VVTi)を変化させることで吸気バルブ位相調整器(51)によって前記吸気バルブ(5)をさらに駆動するステップと、
排気バルブ開放進角(EVO)と排気バルブ閉鎖遅角(EVC)の両方が、前記排気バルブ角変位(VVTe)に基づくように、制御して前記排気バルブ角変位(VVTe)を変化させることで排気バルブ位相調整器(52)によって前記排気バルブ(7)を駆動するステップと、をさらに含む、請求項2に従属する請求項6に記載の方法。
【請求項9】
駆動するステップは、
前記開放進角(IVO)を、関係:
IVO(H)=IVO
ref
-Δivo(H)-VVTi
によって求めるステップと、
前記吸気バルブ閉鎖遅角(IVC)を、関係:
IVC(H)=IVC
ref
-Δivc(H)+VVTi
によって求めるステップと、
前記排気バルブ開放進角(EVO)を、関係:
EVO=EVO
ref
-VVTe
によって求めるステップと、
前記排気バルブ閉鎖遅角(EVC)を、関係:
EVC=EVC
ref
+VVTe
によって求めるステップと、を含み、
IVO
ref
は、位相調整がない場合の前記吸気バルブ開放進角の基準値であり、VVTiは、前記基準値IVO
ref
に対応するそれぞれの基準位置に対する前記吸気バルブ位相調整器(51)の変位角であり、
IVC
ref
は、位相調整がない場合の前記吸気バルブ閉鎖遅角の基準値であり、
EVO
ref
は、位相調整がない場合の前記排気バルブ開放進角の基準値であり、VVTeは、前記基準値EVO
ref
によって示されたそれぞれの基準位置に対する前記排気バルブ位相調整器(52)の変位角であり、
EVC
ref
は、位相調整がない場合の前記排気バルブ閉鎖遅角の基準値である、請求項7および請求項8に記載の方法。
【請求項10】
前記エンジン(1)が排気ガス内部再循環(EGRi)の状態下で動作する場合、
第1パラメータ(TVC)および前記エンジン回転速度(n)の関数である第4マップf
e
(TVC,n)、第2パラメータ(OVL)および前記エンジン回転速度(n)の関数である第5マップg
e
(OVL,n)、並びに前記リフト(H)および前記エンジン回転速度(n)の関数である第6マップh
e
(H,n)に基づいて前記シリンダ(2)の燃焼室容積(Vcc)を計算するステップをさらに含み、
前記第1パラメータ(TVC)は、前記排気バルブ(7)の前記排気バルブ閉鎖遅角(EVC)に、またはゼロと、前記排気バルブ(7)の前記閉鎖遅角(EVC)と前記吸気バルブ(5)の前記開放進角(IVO)に-1を乗算した値との中の最小値と、の間の最大値に代替的に等しく、
前記第2パラメータ(OVL)は、吸気曲線と排気曲線との間のオーバラップするステップの持続時間の典型であり、前記排気バルブ閉鎖遅角(EVC)と前記吸気バルブ開放進角(IVO)の合計として定められる、請求項1から請求項9に記載の方法。
(【請求項11】以降は省略されています)
発明の詳細な説明
【技術分野】
【0001】
本発明は、電気処理によって実行される、内燃機関の吸気効率を推定し、制御する方法に関する。
続きを表示(約 1,100 文字)
【0002】
特に、本発明は、内燃機関の各シリンダ内に閉じ込められた空気の質量を求める方法、および内燃機関の少なくとも一つのシリンダの動作を制御し、実行する方法に関する。
【背景技術】
【0003】
周知のように、ターボチャージャ過給システムを通じて過給される内燃機関は、燃料をそれぞれのシリンダに噴射する複数の燃料噴射装置を備える。シリンダのそれぞれは、少なくとも一つの対応する吸気バルブを通じて吸気マニホールド、および少なくとも一つの対応する排気バルブを通じて排気マニホールドに結合される。
【0004】
吸気マニホールドは、排気ガスと新鮮な空気、すなわち、新鮮な空気を流すエアクリーナを設けられ、スロットルバルブによって調整された、吸気ダクトを通じた外部環境からの空気、の両方を含むガス混合気を受ける。また、エアフローメータが、吸気ダクトに沿って、好ましくはエアクリーナの下流に配置される。
【0005】
エアフローメータは、電子制御ユニットに接続され、内燃機関に吸入される新鮮な空気の流量を検出するように設計されているセンサである。内燃機関に吸入される新鮮な空気の流量は、特に、排気マニホールドの排気ダクト下流で所定の空気燃料比を得るためにシリンダへ噴射される燃料の量を決定するために、エンジンの制御に極めて重要なパラメータである。
【0006】
しかしながら、一般的には、エアフローメータは、非常に高く、また、繊細な部品であり、オイル蒸気および粉塵が付着し得るため、内燃機関に吸入される新鮮な空気の流量の値の測定値が変化する。
【0007】
したがって、できる限りエアフローメータを使用せず、しかし当該技術部門の性能要求に合致する高い正確性を維持して、内燃機関に吸入される新鮮な空気の流量(すなわち、各シリンダ内に閉じ込められる量)を求める必要性が高まっている。
【0008】
周知の解決策は、これに関して、特に、VVH(可変バルブ高さ)制御技術が利用される、またはVVHとVVT(可変バルブタイミング)技術の両方が利用される内燃機関の分野において、上述の要求を満足しない。
【発明の概要】
【0009】
本発明の目的は、内燃機関の各シリンダ内に閉じ込められる空気量を求める方法を提供することであり、これにより、先行技術に関して上述された欠点を少なくとも部分的に解決することができ、また、考慮されている技術部門で特に感じられている前述の要求に対応することができる。
【0010】
そのような目的は、請求項1に記載の方法を通じて実現される。
(【0011】以降は省略されています)
この特許をJ-PlatPat(特許庁公式サイト)で参照する
関連特許
個人
擬似オイル発電装置
25日前
個人
ガバナー
12日前
スズキ株式会社
車両の制御装置
1か月前
ダイハツ工業株式会社
発電装置
20日前
株式会社クボタ
作業車
1か月前
株式会社ミクニ
二次空気供給システム
5日前
トヨタ自動車株式会社
制御装置
4日前
株式会社ミクニ
インテークマニホールド
4日前
株式会社ミクニ
インテークマニホールド
4日前
トヨタ自動車株式会社
制御装置
19日前
国立大学法人 名古屋工業大学
小型化無振動機構機器
11日前
トヨタ自動車株式会社
燃料噴射制御装置
13日前
トヨタ自動車株式会社
エンジン制御装置
1か月前
トヨタ自動車株式会社
内燃機関の制御装置
19日前
Astemo株式会社
内燃機関の制御装置
19日前
トヨタ自動車株式会社
フレックス燃料車両
1か月前
日産自動車株式会社
吸気装置
13日前
トヨタ自動車株式会社
内燃機関の制御装置
1か月前
川崎重工業株式会社
ガスタービンエンジン
1か月前
ダイハツ工業株式会社
副燃焼室付きエンジン
11日前
富士電機株式会社
駆動回路
1か月前
トヨタ自動車株式会社
水素エンジンの制御装置
1か月前
ローム株式会社
イグナイタおよび内燃機関点火システム
今日
ヤンマーホールディングス株式会社
エンジン装置
12日前
トヨタ自動車株式会社
車両制御装置
6日前
株式会社SUBARU
弁装置
4日前
愛三工業株式会社
燃料ポンプ
4日前
スズキ株式会社
多気筒エンジンの制御装置
1か月前
三菱重工業株式会社
ガスタービン起動方法
1か月前
株式会社デンソー
燃料噴射装置
12日前
株式会社豊田自動織機
内燃機関
19日前
スズキ株式会社
車両用制御装置
4日前
トヨタ自動車株式会社
車両の制御装置
11日前
株式会社豊田自動織機
ターボチャージャ
27日前
トヨタ自動車株式会社
車両駆動装置
27日前
スズキ株式会社
バイフューエル車両
4日前
続きを見る
他の特許を見る