TOP
|
特許
|
意匠
|
商標
特許ウォッチ
Twitter
他の特許を見る
公開番号
2025172021
公報種別
公開特許公報(A)
公開日
2025-11-20
出願番号
2025077692
出願日
2025-05-08
発明の名称
薄膜延伸装置用空気供給装置
出願人
ブリュックナー・マシーネンバウ・ゲーエムベーハー
代理人
個人
,
個人
主分類
B29C
55/08 20060101AFI20251113BHJP(プラスチックの加工;可塑状態の物質の加工一般)
要約
【課題】本発明は、薄膜延伸装置用空気供給装置及び空気供給装置を備える薄膜延伸装置に関連する。
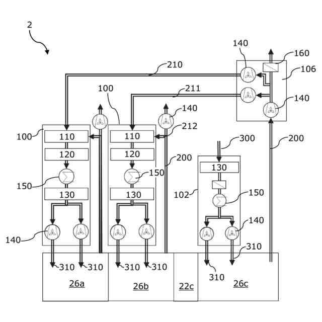
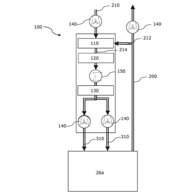
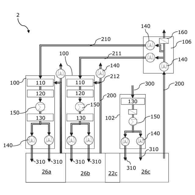
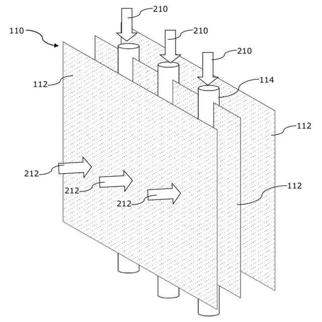
【解決手段】延伸装置の空気供給装置2は、少なくとも1つの給気装置100と、少なくとも1つの外気供給装置102と、少なくとも1つの排気帰還装置106とを備える。排気帰還装置と外気供給装置は、第1の処理領域26cに相互に割り当てられ、外気供給装置は、給気310として第1の処理領域に新鮮空気300を供給する。排気帰還装置106は、第1の処理領域26cから排気200を吸引して、排気の少なくとも帰還比例排気210を少なくとも1つの給気装置に供給する。給気装置は、第1の処理領域26cの上流に設けられる第2の処理領域に割り当てられる。給気装置は、排気帰還装置から帰還する排気の帰還比例排気210,211を給気310として第2の処理領域26a,26bに供給する。
【選択図】図2
特許請求の範囲
【請求項1】
空気供給装置(2)、特に薄膜延伸装置等の延伸装置(1)用空気供給装置(2)において、
少なくとも1つの給気装置(100)と、
少なくとも1つの外気供給装置(102)と、
少なくとも1つの排気帰還装置(106)とを備え、
排気帰還装置(106)と外気供給装置(102)とは、第1の処理領域(26c)に相互に割り当てられ、
外気供給装置(102)は、第1の処理領域(26c)に給気(310)として新鮮な空気(300)を供給し、
排気帰還装置(106)は、第1の処理領域(26c)からの排気(200)を吸引して、排気(200)の少なくとも帰還比例排気(210, 211)を少なくとも1つの給気装置(100)に供給し、
給気装置(100)からの帰還比例排気(210, 211)は、第1の処理領域(26c)の上流に設けられる第2の処理領域(26a, 26b)に割り当てられ、
帰還比例排気(210, 211)が供給される給気装置(100)は、排気帰還装置(106)からの給気(310)を第2の処理領域(26a, 26b)に供給することを特徴とする延伸装置(1)用空気供給装置(2)。
続きを表示(約 1,600 文字)
【請求項2】
供給装置(100)は、第2の処理領域(26a, 26b)から排気(200)を吸引し、
給気装置(100)は、第2の処理領域(26b)から吸引する排気(200)の少なくとも一部を、排気帰還装置(106)により給気装置(100)に供給される排気の少なくとも帰還比例排気(210, 211)に混合して、混合空気流(214)を発生し、第2の処理領域(26a, 26b)に混合空気流(214)を給気(310)として供給する請求項1に記載の延伸装置(1)用空気供給装置(2)。
【請求項3】
空気供給装置(2)は、給気(310)として第1の処理領域(26c)に専ら新鮮空気(300)を供給する請求項1又は2に記載の延伸装置(1)用空気供給装置(2)。
【請求項4】
排気の帰還比例排気(210, 211)は、排気帰還装置(106)により給気装置(100)に専ら供給され、
混合空気流(214)は、新鮮空気を含まない給気(310)を第2の処理領域(26a, 26b)に供給する請求項1~3の何れか1項に記載の延伸装置(1)用空気供給装置(2)。
【請求項5】
排気帰還装置(106)は、第1の処理領域(26c)から全排気(200)を吸引する請求項1~4の何れか1項に記載の延伸装置(1)用空気供給装置(2)。
【請求項6】
空気供給装置(2)は、
第1の処理領域(26c)の給気流量を制御し、
第2の処理領域(26a, 26b)の給気流量を制御し、
第1の処理領域(26c)の排気流量を制御し、
第2の処理領域(26a, 26b)の排気流量を制御し、又は
排気帰還装置(106)により少なくとも1つの給気装置(100)に供給される空気流量を制御する請求項1~5の何れか1項に記載の延伸装置(1)用空気供給装置(2)。
【請求項7】
空気供給装置(2)は、少なくとも1つの加熱装置(150)を備え、
少なくとも1つの加熱装置(150)は、
第1の処理領域(26c)の給気流の温度を制御し、又は
第2の処理領域(26a, 26b)の給気流の温度を制御する請求項1~6の何れか1項に記載の延伸装置(1)用空気供給装置(2)。
【請求項8】
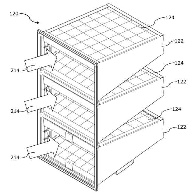
給気装置(100)は、少なくとも1つの凝縮器(112)を有する凝縮捕捉装置(110)を備え、
凝縮捕捉装置(110)を通過する排気流の帰還比例排気(210, 211)は、排気帰還装置(106)により給気装置(100)に供給されかつ凝縮器(112)で温度管理される第1の温度(T1)を有し、
凝縮捕捉装置(110)は、第2の処理領域(26b)から吸引されて凝縮捕捉装置(110)を通過しかつ第2の温度(T2)を有する排気(200)の一部(212)を有し、第2の温度(T2)は、第1の温度(T1)より高く、
第1の温度(T1)に温度制御される少なくとも1つの凝縮器(112)は、第2の処理領域(26b)から吸引される排気(200)に混入される汚染物質を、少なくとも1つの凝縮器(112)で少なくとも部分的に凝縮する請求項1~7の何れか1項に記載の延伸装置(1)用空気供給装置(2)。
【請求項9】
凝縮捕捉装置(110)は、凝縮捕捉装置(110)を流れる帰還比例排気(210, 211, 212)を混合して、混合空気流を生成する請求項8に記載の延伸装置(1)用空気供給装置(2)。
【請求項10】
凝縮器(112)は、有孔板又は蜂の巣構造を有する請求項8又は9の何れか1項に記載の延伸装置(1)用空気供給装置(2)。
(【請求項11】以降は省略されています)
発明の詳細な説明
【技術分野】
【0001】
本発明は、薄膜延伸装置用空気供給装置及び空気供給装置を備える薄膜延伸装置に関連する。
続きを表示(約 2,000 文字)
【背景技術】
【0002】
樹脂薄膜の製造には、特に延伸装置が使用されている。横方向と機械方向とに同時に樹脂薄膜を延伸する装置は、同時延伸装置として公知である。また、例えば、まず機械方向に樹脂薄膜を延伸し、次に横方向に延伸する(逆順も可)二段階で薄膜を延伸する順次延伸装置も公知である。最後に、機械方向にのみ延伸するか横方向にのみ延伸する一方向延伸装置も公知である。通常の延伸装置では、延伸する帯状材料(例えば、樹脂薄膜)の両側縁は、把持装置により把持される。把持装置は、環状の案内レールに沿って移動可能に配置され、帯状材料は、一対の案内レール間で案内される。
【0003】
把持装置と把持装置に両側縁が把持される帯状材料は、入口領域(帯状材料の側縁は、把持装置により把持されかつ延伸される)から、任意の予熱領域(帯状材料の温度が制御される)、延伸領域(帯状材料の両側縁を把持する把持装置は、横方向成分により案内レール部の搬送方向に対し発散方向に離間しながら)出口領域まで、継続的に移動される。出口領域では、把持装置は、帯状材料から取り外されて、入口領域に戻される。延伸領域は、少なくとも1つの処理領域の下流に設けられる。通常、延伸領域は、既に延伸した帯状材料に熱処理を施す少なくとも1つのアニール領域に隣接する。特に、延伸の結果、帯状材料に熱処理が施されて、帯状材料に残留する内部応力が低減される。単一又は複数の冷却領域は、少なくとも1つのアニール領域の後に隣接する。更に、処理領域を設けることも可能である。
【0004】
実際の延伸工程の前、間及び/又は後に、所定の方法で樹脂薄膜の温度を管理(加熱又は冷却)しなければならない。この目的で、各処理領域(延伸領域と潜在的な処理領域)での各温度は、管理可能である。また、各処理領域の内部に給気(供給空気)を供給しかつ汚染され又は汚染物質を含む空気(排気)を排出する空気供給装置に各領域が通常接続される。完全に冷却できない単量体、低重合体、助剤、添加物(可塑化剤等)の汚染物質を樹脂薄膜から除去する必要があるが、汚染物質は、対応する領域に堆積し、沈降するため、装置の汚染又は薄膜品質の欠陥を招来することがある。
【0005】
しかしながら、複数の処理領域の換気には、周囲環境から外気(外部空気、新鮮空気)を吸引して、原則的に予備加熱しなければならないため、外気の給気には極めて集中的なエネルギが必要である。低エネルギで作動する換気装置を備える薄膜延伸装置は、例えば、下記特許文献1に開示される。尤も、この換気装置の構造は、極めて複雑なうえ、制御する各空気流の制御工数も極めて多い難点がある。
【先行技術文献】
【特許文献】
【0006】
欧州特許第3650199号公報
【発明の概要】
【発明が解決しようとする課題】
【0007】
本発明の目的は、少なくとも従来の欠陥を部分的に解消する延伸装置用空気供給装置及び空気供給装置を備える延伸装置を提供することにある。また、本発明は、従属請求項に記載する空気供給装置及び延伸装置により目的を解決することにある。また、本発明の別の観点は、従属請求項及び下記の説明から明らかとなろう。
【課題を解決するための手段】
【0008】
延伸装置、特に薄膜延伸装置の空気供給装置により本発明の目的が解決される。空気供給装置は、少なくとも1つの給気装置と、少なくとも1つの外気供給装置と、少なくとも1つの排気帰還装置とを備える。排気帰還装置と外気供給装置は、第1の処理領域に相互に割り当てられる。
【0009】
外気供給装置は、給気として外気(新鮮空気)を第1の処理領域に供給する。本明細書では、用語「外気(新鮮空気)」は、最初に処理領域に供給される給気空気流を意味する。単純な場合、外気(新鮮空気)は、装置周辺の環境外気から吸引される。同様に、新鮮空気として処理工程の気体を供給しかつ/又は処理工程の気体と周辺空気(外気)との混合気体の供給も可能である。排気帰還装置は、第1の処理領域から排気を吸引する。排気帰還装置と外気供給装置により、第1の処理領域に外気を供給すると同時に、排気を吸引することができる。
【0010】
また、排気帰還装置は、排気の少なくとも一部を空気供給装置に供給する。排気の別の一部は、更に空気供給装置に供給されかつ/又は(外気に)吸引される。環境に排気を消散する前に、排気は、濾過されて、実質的に汚染物質が除去される。空気供給装置は、第1の処理領域の上流の第2の処理領域に割り当てられる。
(【0011】以降は省略されています)
この特許をJ-PlatPat(特許庁公式サイト)で参照する
関連特許
個人
気泡緩衝材減容装置
2か月前
東レ株式会社
吹出しノズル
12か月前
豊田鉄工株式会社
金型
3か月前
CKD株式会社
型用台車
11か月前
シーメット株式会社
光造形装置
11か月前
東レ株式会社
フィルムの製造方法
8か月前
グンゼ株式会社
ピン
11か月前
東レ株式会社
フィルムの製造方法
4か月前
株式会社 型善
射出成形型
5日前
東レ株式会社
フィルムの製造方法
4か月前
東レ株式会社
複合成形体の製造方法
1か月前
株式会社カワタ
計量混合装置
6か月前
株式会社エフピコ
賦形シート
19日前
個人
樹脂可塑化方法及び装置
10か月前
東レ株式会社
フィルムの製造方法。
4か月前
株式会社FTS
ロッド
10か月前
日機装株式会社
加圧システム
7か月前
株式会社漆原
シートの成形方法
6か月前
東レ株式会社
樹脂フィルムの製造方法
6か月前
株式会社FTS
成形装置
11か月前
NOK株式会社
樹脂ゴム複合体
2か月前
トヨタ自動車株式会社
射出装置
8か月前
東レ株式会社
炭素繊維シートの製造方法
7か月前
株式会社コスメック
射出成形装置
5か月前
株式会社不二越
射出成形機
2か月前
株式会社不二越
射出成形機
7か月前
株式会社神戸製鋼所
混練機
9か月前
株式会社不二越
射出成形機
7か月前
株式会社不二越
射出成形機
5か月前
株式会社不二越
射出成形機
7か月前
株式会社FTS
セパレータ
9か月前
株式会社リコー
画像形成システム
11か月前
三和合板株式会社
化粧板の製造装置
3か月前
東レ株式会社
繊維強化プラスチック構造体
3か月前
トヨタ自動車株式会社
真空成形装置
6か月前
ダイハツ工業株式会社
3Dプリンタ
1か月前
続きを見る
他の特許を見る