TOP
|
特許
|
意匠
|
商標
特許ウォッチ
Twitter
他の特許を見る
公開番号
2025171795
公報種別
公開特許公報(A)
公開日
2025-11-20
出願番号
2024077472
出願日
2024-05-10
発明の名称
ポンプディスペンサ及び吐出容器
出願人
大和製罐株式会社
代理人
弁理士法人鈴榮特許綜合事務所
主分類
B65D
47/34 20060101AFI20251113BHJP(運搬;包装;貯蔵;薄板状または線条材料の取扱い)
要約
【課題】液状体に固体粒子を添加できるポンプディスペンサ及び吐出容器を提供すること。
【解決手段】ポンプディスペンサ3は、液シリンダ54と、液シリンダ54内を往復動する液ピストン104と、液ピストン104により供給された液状体400を吐出するノズル24と、ノズル24の流路24a又はノズル24の先端において固体粒子500を液状体400に供給する供給装置25と、を備える。
【選択図】 図1
特許請求の範囲
【請求項1】
液シリンダと、
前記液シリンダ内を往復動する液ピストンと、
前記液ピストンにより供給された液状体を吐出するノズルと、
前記ノズルの流路又は前記ノズルの先端よりも外側において固体粒子を前記液状体に供給する供給装置と、
を備えるポンプディスペンサ。
続きを表示(約 340 文字)
【請求項2】
空気シリンダと、
前記空気シリンダ内を往復動する空気ピストンと、
前記液ピストンで供給した前記液状体及び前記空気ピストンで供給した空気を混合する混合室と、
前記混合室で前記空気と混合した前記液状体が通過するメッシュと、
を備え、
前記供給装置は、前記メッシュよりも二次側で前記固体粒子を前記液状体に供給する、請求項1に記載のポンプディスペンサ。
【請求項3】
請求項1又は請求項2に記載のポンプディスペンサと、
前記ポンプディスペンサが固定される容器本体と、
を備える吐出容器。
【請求項4】
前記容器本体内に収容された前記液状体を備える、請求項3に記載の吐出容器。
発明の詳細な説明
【技術分野】
【0001】
本発明は、ポンプディスペンサ及び吐出容器に関する。
続きを表示(約 1,400 文字)
【背景技術】
【0002】
従前から、使用者の操作によって流体を吐出するポンプディスペンサ等の吐出容器が知られている。また、例えば、特許文献1及び特許文献2には、2種の流体を混合して吐出する吐出容器が開示されている。また、液状体に気体を混合して泡状の液状体を吐出する吐出容器も知られている。
【0003】
また、洗顔料等において、スクラブと呼ばれる固体粒子が添加された洗顔料が流通している。スクラブが添加されることにより毛穴の奥の皮脂や古い角質を取り除くことができ、洗浄力が高められる。
【先行技術文献】
【特許文献】
【0004】
特表2001-519235号公報
特許第4037909号号公報
【発明の概要】
【発明が解決しようとする課題】
【0005】
吐出容器に充填されている洗顔料にスクラブを添加するとスクラブが洗顔料に沈殿してしまう。また、液状体を泡状として吐出するポンプディスペンサは、液状体がきめ細かい泡状とするためのメッシュを通過する際に、スクラブがメッシュに目詰まりする問題があった。このため、泡状として液状体を吐出するポンプディスペンサにおいては、吐出時にスクラブ等の固体粒子を泡状の液状体に添加して吐出することができなかった。
【0006】
そこで、本発明は、液状体に固体粒子を添加できるポンプディスペンサ及び吐出容器を提供することを目的とする。
【課題を解決するための手段】
【0007】
本発明の一態様によれば、ポンプディスペンサは、液シリンダと、前記液シリンダ内を往復動する液ピストンと、前記液ピストンにより供給された液状体を吐出するノズルと、前記ノズルの流路又は前記ノズルの先端よりも外側において固体粒子を前記液状体に供給する供給装置と、を備える。
【発明の効果】
【0008】
本発明は、液状体に固体粒子を添加できるポンプディスペンサ及び吐出容器を提供することができる。
【図面の簡単な説明】
【0009】
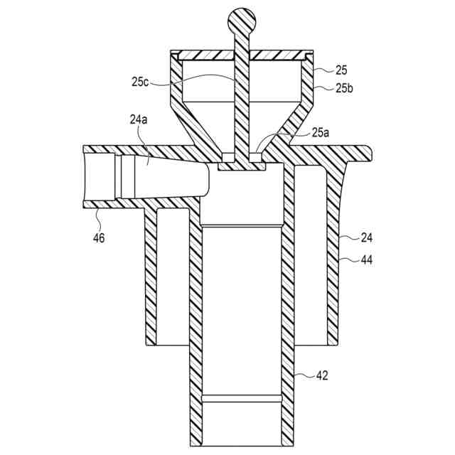
本発明の一実施形態に係る吐出容器の構成を示す断面図。
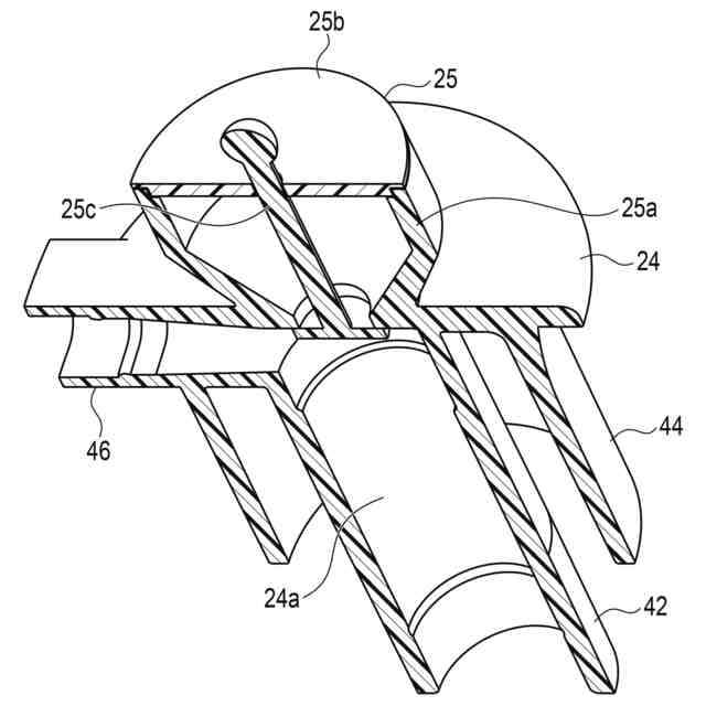
同吐出容器のノズル及び供給装置の構成を示す斜視図。
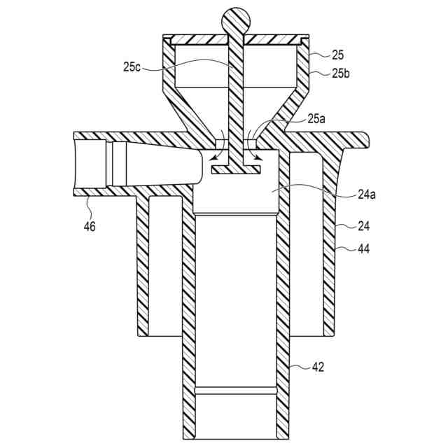
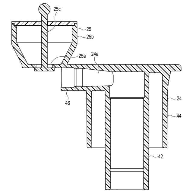
同ノズル及び供給装置の構成を示す断面図。
同ノズル及び供給装置の構成を示す断面図。
本発明の他の実施形態に係る吐出容器のノズル及び供給装置の構成を示す斜視図。
同ノズル及び供給装置の構成を示す断面図。
同ノズル及び供給装置の構成を示す断面図。
【発明を実施するための形態】
【0010】
一実施形態に係る吐出容器1について、図1乃至図4を用いて説明する。
図1は一実施形態に係る吐出容器1の構成を示す断面図である。本実施形態において、上下方向は、図1に示すように、吐出容器1の容器2側を下方、ポンプ体3のノズル24側を上方とする。図2は、吐出容器1のノズル24及び供給装置25の構成を示す斜視図、図3は、ノズル24及び供給装置25の構成を示す断面図、図4は、ノズル24及び供給装置25の構成を示す断面図である。また、図5は、他の実施形態に係る吐出容器1のノズル24及び供給装置25の構成を示す斜視図、図6は、ノズル24及び供給装置25の構成を示す断面図、図7は、ノズル24及び供給装置25の構成を示す断面図である。
(【0011】以降は省略されています)
特許ウォッチbot のツイートを見る
この特許をJ-PlatPat(特許庁公式サイト)で参照する
関連特許
大和製罐株式会社
吐出容器入り薬液
1か月前
大和製罐株式会社
角型紙容器及び内容物入り容器
1か月前
大和製罐株式会社
ポンプディスペンサ及び吐出容器
4日前
大和製罐株式会社
滑落膜、及び、水性乳濁液入り容器
25日前
大和製罐株式会社
原反ロール、フィルム、蓋及び内容物入り包装体
1か月前
大和製罐株式会社
フィルム、蓋、内容物入り容器及び蓋の製造方法
1か月前
大和製罐株式会社
ポンプディスペンサ、吐出容器、及び、内容物入り吐出容器物品
1か月前
大和製罐株式会社
ポンプディスペンサ、吐出容器、及び、内容物入り吐出容器物品
1か月前
大和製罐株式会社
ポンプディスペンサ、吐出容器、及び、内容物入り吐出容器物品
1か月前
大和製罐株式会社
フィルム、包装容器、内容物入り包装容器及びフィルムの製造方法
2か月前
個人
収容箱
4か月前
個人
束ね具
13日前
個人
コンベア
6か月前
個人
段ボール箱
7か月前
個人
段ボール箱
8か月前
個人
容器
10か月前
個人
ゴミ収集器
7か月前
個人
土嚢運搬器具
9か月前
個人
楽ちんハンド
5か月前
個人
宅配システム
7か月前
個人
角筒状構造体
6か月前
個人
バンド
3か月前
個人
テープ引出機
13日前
個人
お薬の締結装置
6か月前
個人
閉塞装置
11か月前
個人
コード類収納具
9か月前
個人
廃棄物収容容器
3か月前
個人
包装容器
2か月前
個人
棒状体収容容器
17日前
個人
積み重ね用補助具
3か月前
株式会社和気
包装用箱
27日前
個人
貯蔵サイロ
8か月前
個人
把手付米袋
5か月前
個人
蓋閉止構造
4か月前
株式会社和気
包装用箱
9か月前
個人
蓋閉止構造
4か月前
続きを見る
他の特許を見る