TOP
|
特許
|
意匠
|
商標
特許ウォッチ
Twitter
他の特許を見る
公開番号
2025158391
公報種別
公開特許公報(A)
公開日
2025-10-17
出願番号
2024060893
出願日
2024-04-04
発明の名称
原反ロール、フィルム、蓋及び内容物入り包装体
出願人
大和製罐株式会社
代理人
弁理士法人鈴榮特許綜合事務所
主分類
B65D
81/34 20060101AFI20251009BHJP(運搬;包装;貯蔵;薄板状または線条材料の取扱い)
要約
【課題】加工部を設けても巻回したときに盛り上がりを抑制できる原反ロール、フィルム、蓋及び内容物入り包装体を提供することを提供すること。
【解決手段】電子レンジで加熱される内容物入り包装体1の少なくとも一部を形成するフィルム3をトリミング可能な原反ロール200は、中芯201と、中芯201に巻回される、二軸延伸配向フィルム31及び前記二軸延伸配向フィルムに積層されるシール層33によって形成されたシート202と、包装体2、2Aの一部に形成され、二軸延伸配向フィルム31に形成された複数の対向する配向緩和部31aを含み、複数の配向緩和部31aの間に、包装体2、2Aの内圧の上昇によって破断して開口する破断部3bを含む、シート202のMDに対して0°より大きい角度で傾斜する複数の加工部3aと、を備える。
【選択図】 図5
特許請求の範囲
【請求項1】
電子レンジで加熱される内容物入り包装体の少なくとも一部を形成するフィルムをトリミング可能な原反ロールであって、
中芯と、
前記中芯に巻回される、二軸延伸配向フィルム及び前記二軸延伸配向フィルムに積層されるシール層を含むシートと、
前記包装体の一部に形成され、前記二軸延伸配向フィルムに形成された複数の対向する配向緩和部を含み、前記複数の配向緩和部の間に、前記包装体の内圧の上昇によって破断して開口する破断部を含む、前記シートのMDに対して0°より大きい角度で傾斜する、複数の加工部と、
を備える原反ロール。
続きを表示(約 270 文字)
【請求項2】
前記加工部の前記MDに対する傾斜角度は、90°以下である、請求項1に記載の原反ロール。
【請求項3】
請求項1又は請求項2の原反ロールの一部を、前記加工部を含む領域でトリミングして形成されたフィルム。
【請求項4】
請求項3に形成されたフィルムで形成され、内容物を収容する容器本体に溶着される蓋。
【請求項5】
容器本体と
前記容器本体に収容される内容物と、
前記容器本体に溶着される、請求項4に記載された蓋と、
を備える内容物入り包装体。
発明の詳細な説明
【技術分野】
【0001】
本発明は、レンジ加熱用の容器に用いられる原反ロール、フィルム、蓋及び内容物入り包装体に関する。
続きを表示(約 2,300 文字)
【背景技術】
【0002】
従前から内容物を収容し密封した状態で内容物を電子レンジで加熱する包装体が知られている。しかしながら、このような包装体は、電子レンジによって内容物を加熱すると、内圧が増加し、包装体の強度を超えると破裂する。このため、水蒸気を包装体の外部へ排出し、破裂を防止できる水蒸気排出手段が包装体には必要となる。一方、包装体は、加熱により発生した水蒸気による「加圧調理」や「蒸し調理」を内容物に行うことが必要となる場合がある。加圧調理することにより、加熱時間の短縮や加熱に要するエネルギーの節約が可能となる。また、蒸し調理が可能となることにより、調理可能な食材やレシピのバリエーションを増やすことが可能となる。
【0003】
このような用途に対応した包装体として、積層フィルムから構成された包装体があり、内圧が高まると、積層フィルムの一部が破断して、水蒸気を逃がすことにより包装体の破裂を防止する。また、電子レンジによる加熱時に蒸し調理も可能な包装体としては、例えば、外層フィルムの内側にポリオレフィン系樹脂の内層フィルムを積層した積層フィルムから蓋材を構成し、その蓋材に、外層フィルムの内部に達し、かつ、内層フィルムを貫通しない深さの蒸気抜き用脆弱加工線を、レーザ加工によって形成したものも知られている(例えば、特許文献1参照)。また、積層フィルムに加工部として配向部及び配向緩和部をレーザ加工等によって形成し、内圧上昇時の伸びの差によって、部分的に破断させる技術も知られている。
【先行技術文献】
【特許文献】
【0004】
国際公開第2014/061651号
【発明の概要】
【発明が解決しようとする課題】
【0005】
しかしながら、フィルムに加工部を加工すると、フィルムの厚さが部分的に厚くなる。このため、原反ロールの状態においては、巻回数が増える毎に加工部が形成された部位を中心として軸方向の一部が盛り上がる。このため、原反ロールの径は加工部が形成された領域において部分的に大きくなり、これは、巻数が多くなるにつれて顕著となる。そして、原反ロールは、部分的に大きくなった状態でシートが巻きつけられることから、加工部を中心として巻方向に癖が付き、皺や凹凸が生じることになる。このため、原反ロールを所望形状にトリミングし、包装容器やトレイ容器等のフランジに溶着する蓋として用いると、見栄えが悪くなる。また、フランジに蓋を溶着するときに、蓋とフランジとの間に隙間が生じ、シール不良となる虞もある。また、原反ロールは、軸方向において部分的に径が異なると、保管や搬送時にスペースを要することになる。このため、加工部を設けた原反ロールにおいて、盛り上がりを抑制できる技術が求められている。
【0006】
そこで、本発明は、加工部を設けても巻回したときに盛り上がりを抑制できる原反ロール、フィルム、蓋及び内容物入り包装体を提供することを目的とする。
【課題を解決するための手段】
【0007】
本発明の一態様に係る原反ロールは、電子レンジで加熱される内容物入り包装体の少なくとも一部を形成するフィルムをトリミング可能な原反ロールであって、中芯と、前記中芯に巻回される、二軸延伸配向フィルム及び前記二軸延伸配向フィルムに積層されるシール層を含むシートと、前記包装体の一部に形成され、前記二軸延伸配向フィルムに形成された複数の対向する配向緩和部を含み、前記複数の配向緩和部の間に、前記包装体の内圧の上昇によって破断して開口する破断部を含む、前記シートのMDに対して0°より大きい角度で傾斜する、複数の加工部と、を備える。
【発明の効果】
【0008】
本発明によれば、加工部を設けても巻回したときに盛り上がりを抑制できる原反ロール、フィルム、蓋及び内容物入り包装体を提供することができる。
【図面の簡単な説明】
【0009】
本発明の実施形態に係る内容物入り包装体の構成を示す平面図。
同内容物入り包装体に用いられる包装容器の他の例の構成を概略的に示す斜視図。
同包装体に用いられるフィルムの層構成の一例を示す断面図。
同包装体に用いられるフィルムの層構成の他の例を示す断面図。
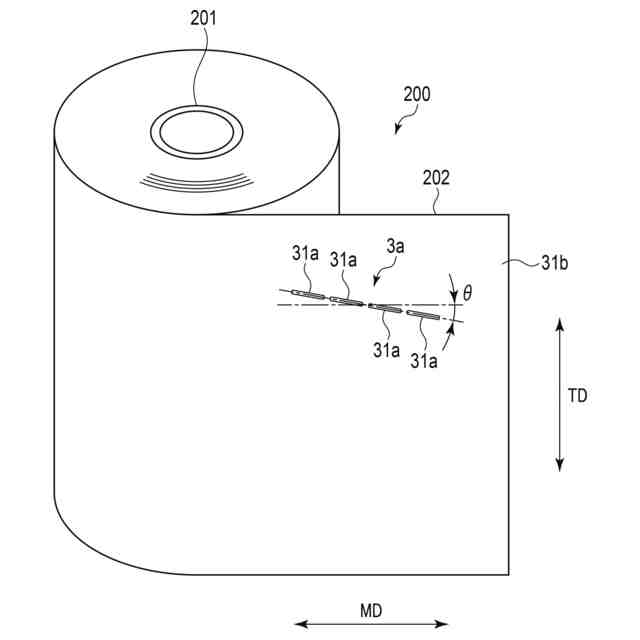
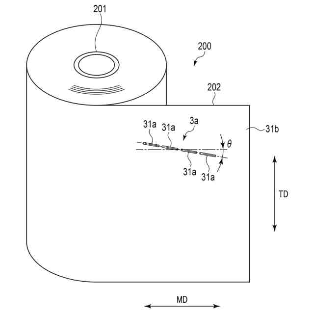
同包装体に用いられる原反ロールの構成を概略的に示す斜視図。
同原反ロールに形成される加工部の製造方法の一例を示す説明図。
同加工部の構成を示す説明図。
評価試験の結果を示す説明図。
【発明を実施するための形態】
【0010】
本発明の実施形態に係る原反ロール200、フィルム3、包装容器2、2A及び内容物入り包装体1を、図1乃至図13を用いて説明する。
図1は、本発明の実施形態に係る内容物入り包装体1の構成を示す平面図である。図2は、他の例として、内容物入り包装体1に用いられる包装容器2Aの構成を概略的に示す斜視図である。図3は、包装容器2、2Aに用いられるフィルム3の層構成の一例を示す断面図であり、図4は、包装容器2、2Aに用いられるフィルム3の層構成の他の例を示す断面図である。図5は、包装体2、2Aに用いられる原反ロール200の構成を概略的に示す斜視図であり、図6は、原反ロール200の製造方法の一例を示す説明図である。図7は、加工部3aの構成を概略的に示す説明図である。図8は、評価試験の結果を示す説明図である。
(【0011】以降は省略されています)
この特許をJ-PlatPat(特許庁公式サイト)で参照する
関連特許
大和製罐株式会社
吐出容器入り薬液
1か月前
大和製罐株式会社
角型紙容器及び内容物入り容器
1か月前
大和製罐株式会社
ポンプディスペンサ及び吐出容器
4日前
大和製罐株式会社
滑落膜、及び、水性乳濁液入り容器
25日前
大和製罐株式会社
原反ロール、フィルム、蓋及び内容物入り包装体
1か月前
大和製罐株式会社
フィルム、蓋、内容物入り容器及び蓋の製造方法
1か月前
大和製罐株式会社
ポンプディスペンサ、吐出容器、及び、内容物入り吐出容器物品
1か月前
大和製罐株式会社
ポンプディスペンサ、吐出容器、及び、内容物入り吐出容器物品
1か月前
大和製罐株式会社
ポンプディスペンサ、吐出容器、及び、内容物入り吐出容器物品
1か月前
大和製罐株式会社
フィルム、包装容器、内容物入り包装容器及びフィルムの製造方法
2か月前
個人
収容箱
4か月前
個人
束ね具
13日前
個人
コンベア
6か月前
個人
容器
10か月前
個人
段ボール箱
7か月前
個人
段ボール箱
8か月前
個人
ゴミ収集器
7か月前
個人
バンド
3か月前
個人
土嚢運搬器具
9か月前
個人
テープ引出機
13日前
個人
宅配システム
7か月前
個人
楽ちんハンド
5か月前
個人
角筒状構造体
6か月前
個人
お薬の締結装置
6か月前
個人
閉塞装置
11か月前
個人
廃棄物収容容器
3か月前
個人
棒状体収容容器
17日前
個人
コード類収納具
9か月前
個人
包装容器
2か月前
個人
蓋閉止構造
4か月前
個人
積み重ね用補助具
3か月前
個人
蓋閉止構造
4か月前
株式会社コロナ
梱包材
6か月前
株式会社和気
包装用箱
27日前
株式会社和気
包装用箱
9か月前
個人
把手付米袋
5か月前
続きを見る
他の特許を見る