TOP
|
特許
|
意匠
|
商標
特許ウォッチ
Twitter
他の特許を見る
10個以上の画像は省略されています。
公開番号
2025153881
公報種別
公開特許公報(A)
公開日
2025-10-10
出願番号
2024056574
出願日
2024-03-29
発明の名称
ポンプディスペンサ、吐出容器、及び、内容物入り吐出容器物品
出願人
大和製罐株式会社
代理人
弁理士法人鈴榮特許綜合事務所
主分類
B65D
47/34 20060101AFI20251002BHJP(運搬;包装;貯蔵;薄板状または線条材料の取扱い)
要約
【課題】例えば液体状の内容物の吐出後に毎回生じる、吐出ヘッド内に残った内容物を受け入れ可能な、内容物を吐出させるポンプディスペンサを提供すること。
【解決手段】ポンプディスペンサは、内容物が貯められる容器本体と密封嵌合されるベースキャップと、前記ベースキャップに支持されるシリンダと、前記シリンダとともに空気室を形成するピストンと、前記内容物が流通する吐出流路及び前記内容物を吐出する吐出口が形成された吐出ヘッドと、前記ピストンと当接し前記ピストンを下方に移動させるための押下部と、前記押下部と嵌合された棒状弁と、前記押下部、及び、前記棒状弁により形成され、前記吐出ヘッドの押下時に、前記内容物と前記空気室の空気とを混合する混合室と、前記押下部、前記棒状弁、及び、前記ピストンにより、前記吐出ヘッドの押下後に、前記吐出流路及び前記混合室に残った前記内容物を貯留する空間とを備える。
【選択図】図4
特許請求の範囲
【請求項1】
内容物が貯められる容器本体と密封嵌合されるベースキャップと、
前記ベースキャップに支持されるシリンダと、
前記シリンダ内を一方向に往復動し、前記シリンダとともに空気室を形成するピストンと、
前記ピストンの上側に設けられ、前記内容物が流通する吐出流路及び前記内容物を吐出する吐出口が形成された吐出ヘッドと、
前記ベースキャップに対する前記吐出ヘッドの押下時に、前記ピストンと当接し前記ピストンを下方に移動させるための押下部と、
前記押下部と嵌合された棒状弁と、
前記押下部、及び、前記棒状弁により形成され、前記吐出ヘッドの押下時に、前記内容物と前記空気室の空気とを混合する混合室と、
前記押下部、前記棒状弁、及び、前記ピストンにより、前記吐出ヘッドの押下後に、前記吐出流路及び前記混合室に残った前記内容物を貯留する空間と、
を備える、
ポンプディスペンサ。
続きを表示(約 1,100 文字)
【請求項2】
前記内容物を貯留する空間の空間体積は、
前記吐出流路及び前記混合室に残った前記内容物の体積以上の空間体積を有している、
請求項1に記載のポンプディスペンサ。
【請求項3】
前記ピストンは、前記吐出ヘッドが上死点にあるときに前記棒状弁とともに前記内容物の流通を遮断し、前記吐出ヘッドの前記上死点からの押下時に前記内容物を流通させる弁体を備え、
前記押下部と前記ピストンとの間に設けられ、外部より前記空気室に空気を吸引する通気路と、
前記ピストンに設けられ、前記空気室に連通し、前記押下部による押下により前記通気路と前記空気室との連通が遮断される貫通孔と、
を備え、
前記空間は、
前記押下部と前記棒状弁との間に設けられ、前記吐出ヘッドの押下時に、前記内容物が前記混合室へ流通する内部通路と、
前記押下部と前記ピストンとの間に設けられ、前記吐出ヘッドの押下時に、前記空気室内の空気が圧送され前記混合室へ流通する空気通路と、
を備える、
請求項1に記載のポンプディスペンサ。
【請求項4】
前記内部通路に面する前記押下部の壁面には、突起部が設けられている、
請求項3に記載のポンプディスペンサ。
【請求項5】
前記空気通路は、
前記ピストンの内筒の外周面と前記押下部との間に形成される外方側通路と、
前記ピストンの前記内筒の内周面と前記押下部との間に形成される内方側通路と、
前記ピストンの前記内筒の上側と前記押下部との間に形成され、前記外方側通路及び前記内方側通路を繋ぐ連通路と、
を備える、
請求項3に記載のポンプディスペンサ。
【請求項6】
前記外方側通路および前記内方側通路の少なくとも一方に面する、前記押下部の壁面には突起部が設けられている、
請求項5に記載のポンプディスペンサ。
【請求項7】
前記押下部を備え、前記ベースキャップに設けられ、前記吐出ヘッドの下端を係合し固定する係合部材を備える、
請求項1に記載のポンプディスペンサ。
【請求項8】
請求項1乃至請求項7のいずれか1項に記載のポンプディスペンサと、
前記ポンプディスペンサが取り付けられる有底の容器本体と、
を有する、吐出容器。
【請求項9】
請求項8に記載の吐出容器と、
前記容器本体に貯められ、前記ポンプディスペンサから外部に吐出される前記内容物と
を有する、内容物入り吐出容器物品。
発明の詳細な説明
【技術分野】
【0001】
本発明は、例えば液体状の内容物を吐出させるポンプディスペンサ、そのポンプディスペンサを有する吐出容器、及び、その吐出容器の容器本体に貯められた内容物を有する内容物入り吐出容器物品に関する。
続きを表示(約 1,700 文字)
【背景技術】
【0002】
例えば特許文献1には、空気用シリンダ内への内容物の逆流を防止して泡質を良好な状態のまま維持することができるポンプディスペンサに関する技術が開示されている。このポンプディスペンサは、内容物の吐出動作時の繰り返しで希に生じる内容物の空気通路への浸入を防止するためのものである。
【先行技術文献】
【特許文献】
【0003】
特許第6096631号公報
【発明の概要】
【発明が解決しようとする課題】
【0004】
しかしながら、ポンプディスペンサでは、吐出後に毎回、吐出ヘッド内に残った内容物が重力により下がる。
【0005】
本発明は、例えば液体状の内容物の吐出後に毎回生じる、吐出ヘッド内に残った内容物を受け入れ可能な、内容物を吐出させるポンプディスペンサ、そのポンプディスペンサを有する吐出容器、及び、その吐出容器の容器本体に貯められた内容物を有する内容物入り吐出容器物品を提供することを目的とする。
【課題を解決するための手段】
【0006】
本発明の一態様に係るポンプディスペンサは、内容物が貯められる容器本体と密封嵌合されるベースキャップと、前記ベースキャップに支持されるシリンダと、前記シリンダ内を一方向に往復動し、前記シリンダとともに空気室を形成するピストンと、前記ピストンの上側に設けられ、前記内容物が流通する吐出流路及び前記内容物を吐出する吐出口が形成された吐出ヘッドと、前記ベースキャップに対する前記吐出ヘッドの押下時に、前記ピストンと当接し前記ピストンを下方に移動させるための押下部と、前記押下部と嵌合された棒状弁と、前記押下部、及び、前記棒状弁により形成され、前記吐出ヘッドの押下時に、前記内容物と前記空気室の空気とを混合する混合室と、前記押下部、前記棒状弁、及び、前記ピストンにより、前記吐出ヘッドの押下後に、前記吐出流路及び前記混合室に残った前記内容物を貯留する空間とを備える。
【発明の効果】
【0007】
本発明によれば、例えば液体状の内容物の吐出後に毎回生じる、吐出ヘッド内に残った内容物を受け入れ可能な、内容物を吐出させるポンプディスペンサ、そのポンプディスペンサを有する吐出容器、及び、その吐出容器の容器本体に貯められた内容物を有する内容物入り吐出容器物品を提供することができる。
【図面の簡単な説明】
【0008】
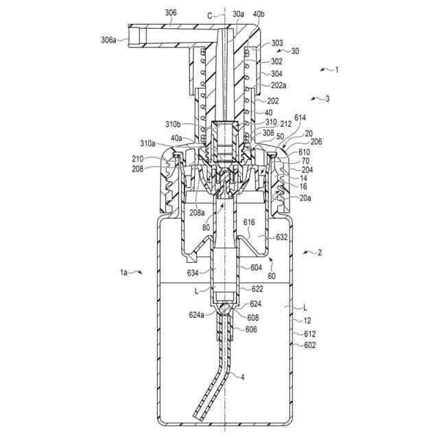
図1は一実施形態に係る吐出容器の構成を示す断面図である。
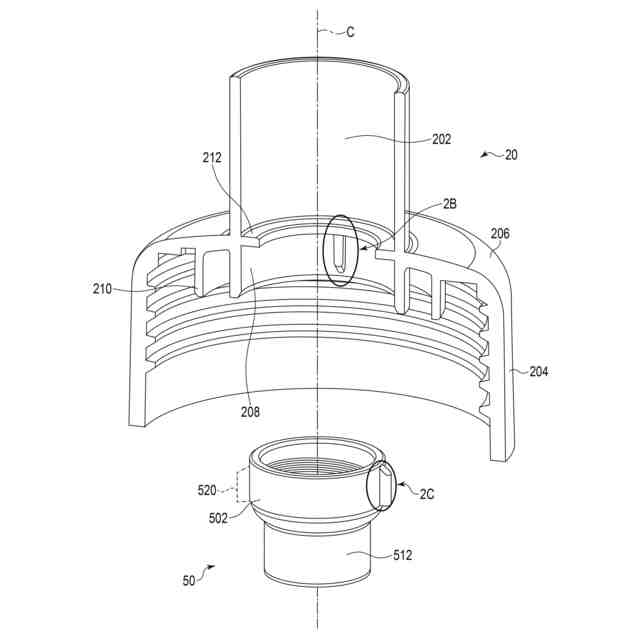
図2Aは、図1に示す支持部の中心軸を含む面の断面図、及び、係合部材を斜視図として示す図である。
図2Bは、図2A中の符号2Bで示す位置の拡大図である。
図2Cは、図2A中の符号2Cで示す位置の拡大図である。
図2Dは、上側に支持部の突起を配置し、その直下に係合部材の突起を配置した状態を示す概略図である。
図3Aは、ポンプ体の一連の動作を示す概略的な断面図である。
図3Bは、図3Aに続くポンプ体の一連の動作を示す概略的な断面図である。
図3Cは、図3Bに続くポンプ体の一連の動作を示す概略的な断面図である。
図3Dは、図3Cに続くポンプ体の一連の動作を示す概略的な断面図である。
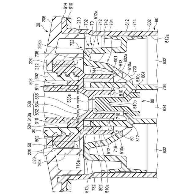
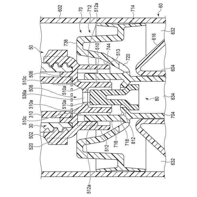
図4は、図3Aから図3Dの一連の動作の後、係合部材、ピストン、及び、棒状弁により形成される空間内に内容物が溜められた状態を示す概略図である。
図5は、図4に示す係合部材の内筒の外壁から突起部を除去した状態を示す概略図である。
【発明を実施するための形態】
【0009】
実施形態に係る吐出容器1について、図1から図5を用いて説明する。
【0010】
図1は実施形態に係る吐出容器1の構成を示す断面図である。本実施形態において、上下方向は、図1に示すように、吐出容器1の容器本体2側を下方、ポンプ体3のノズル30側を上方とする。また、図1中に吐出容器1の中心軸Cを取る。
(【0011】以降は省略されています)
この特許をJ-PlatPat(特許庁公式サイト)で参照する
関連特許
大和製罐株式会社
吐出容器入り薬液
1か月前
大和製罐株式会社
角型紙容器及び内容物入り容器
1か月前
大和製罐株式会社
ポンプディスペンサ及び吐出容器
4日前
大和製罐株式会社
滑落膜、及び、水性乳濁液入り容器
25日前
大和製罐株式会社
原反ロール、フィルム、蓋及び内容物入り包装体
1か月前
大和製罐株式会社
フィルム、蓋、内容物入り容器及び蓋の製造方法
1か月前
大和製罐株式会社
ポンプディスペンサ、吐出容器、及び、内容物入り吐出容器物品
1か月前
大和製罐株式会社
ポンプディスペンサ、吐出容器、及び、内容物入り吐出容器物品
1か月前
大和製罐株式会社
ポンプディスペンサ、吐出容器、及び、内容物入り吐出容器物品
1か月前
大和製罐株式会社
フィルム、包装容器、内容物入り包装容器及びフィルムの製造方法
2か月前
個人
収容箱
4か月前
個人
束ね具
13日前
個人
コンベア
6か月前
個人
容器
10か月前
個人
段ボール箱
7か月前
個人
段ボール箱
8か月前
個人
ゴミ収集器
7か月前
個人
バンド
3か月前
個人
土嚢運搬器具
9か月前
個人
テープ引出機
13日前
個人
宅配システム
7か月前
個人
楽ちんハンド
5か月前
個人
角筒状構造体
6か月前
個人
お薬の締結装置
6か月前
個人
閉塞装置
11か月前
個人
廃棄物収容容器
3か月前
個人
棒状体収容容器
17日前
個人
コード類収納具
9か月前
個人
包装容器
2か月前
個人
蓋閉止構造
4か月前
個人
積み重ね用補助具
3か月前
個人
蓋閉止構造
4か月前
株式会社コロナ
梱包材
6か月前
株式会社和気
包装用箱
27日前
株式会社和気
包装用箱
9か月前
個人
把手付米袋
5か月前
続きを見る
他の特許を見る