TOP
|
特許
|
意匠
|
商標
特許ウォッチ
Twitter
他の特許を見る
10個以上の画像は省略されています。
公開番号
2025153870
公報種別
公開特許公報(A)
公開日
2025-10-10
出願番号
2024056560
出願日
2024-03-29
発明の名称
ポンプディスペンサ、吐出容器、及び、内容物入り吐出容器物品
出願人
大和製罐株式会社
代理人
弁理士法人鈴榮特許綜合事務所
主分類
B65D
47/34 20060101AFI20251002BHJP(運搬;包装;貯蔵;薄板状または線条材料の取扱い)
要約
【課題】 使用時の使い易さと分別の容易化の両立を図ることができる、ポンプディスペンサを提供すること。
【解決手段】 ポンプディスペンサは、シリンダと、前記シリンダ内を一方向に往復動するピストンと、前記ピストンの上部に設けられ、内容物が流通する吐出流路及び前記内容物を吐出する吐出口を有する吐出ヘッドと、容器本体と密封嵌合されるベースキャップと、前記ベースキャップの上方に設けられ、前記吐出ヘッドを上方に付勢する付勢部材と、前記ベースキャップに設けられ、前記吐出ヘッドの下端をネジ螺合し固定する係合部材と、前記吐出ヘッドが押下された時に、前記ピストンと当接し、前記ピストンを下方に移動させるための押下部と、を備え、前記吐出ヘッドは、前記ベースキャップに対して周方向に回転させて前記ネジ螺合を解除する前に、前記ベースキャップに対して周方向に設定の範囲だけ回転可能に構成されている。
【選択図】 図1
特許請求の範囲
【請求項1】
シリンダと、
前記シリンダ内を一方向に往復動するピストンと、
前記ピストンの上部に設けられ、内容物が流通する吐出流路及び前記内容物を吐出する吐出口を有する吐出ヘッドと、
容器本体と密封嵌合されるベースキャップと、
前記ベースキャップの上方に設けられ、前記吐出ヘッドを上方に付勢する付勢部材と、
前記ベースキャップに設けられ、前記吐出ヘッドの下端をネジ螺合し固定する係合部材と、
前記吐出ヘッドが押下された時に、前記ピストンと当接し、前記ピストンを下方に移動させるための押下部と、
を備え、
前記吐出ヘッドは、前記ベースキャップに対して周方向に回転させて前記ネジ螺合を解除する前に、前記ベースキャップに対して周方向に設定の範囲だけ回転可能に構成されている、
ポンプディスペンサ。
続きを表示(約 990 文字)
【請求項2】
前記吐出ヘッドは、前記ベースキャップに対して、周方向に45°以上、360°未満まで回転させることが可能である、
請求項1に記載のポンプディスペンサ。
【請求項3】
前記吐出ヘッドは、前記ベースキャップに対して、周方向に回転することができる最大の範囲が、90°以上360°未満である、
請求項2に記載のポンプディスペンサ。
【請求項4】
前記ベースキャップの内周面には、第1の突起部が設けられ、
前記係合部材の外周面には、第2の突起部が設けられ、
前記吐出ヘッドの回転操作時に、前記第1の突起部と前記第2の突起部とが干渉することで、周方向への回転を規制し、
前記吐出ヘッドは、一方への回転操作により前記係合部材から離脱可能に構成されている、
請求項1に記載のポンプディスペンサ。
【請求項5】
前記吐出ヘッドは、前記一方への回転操作により前記係合部材から離脱した後、前記一方とは反対方向の回転操作により、前記吐出ヘッドの下端を前記係合部材に再度ネジ螺合し固定可能に構成されている、
請求項4に記載のポンプディスペンサ。
【請求項6】
前記ベースキャップに対する前記吐出ヘッドの回転操作時に、前記ベースキャップの前記第1の突起部と、前記係合部材の前記第2の突起部とは、
前記吐出ヘッドが上死点にあるときは干渉し、
前記吐出ヘッドが下死点にあるときは干渉しない
ように構成されている、
請求項4に記載のポンプディスペンサ。
【請求項7】
前記ベースキャップの前記第1の突起部の下端と、前記係合部材の前記第2の突起部の上端との少なくとも一方は、テーパ形状をしている、
請求項6に記載のポンプディスペンサ。
【請求項8】
請求項1乃至請求項7のいずれか1項に記載のポンプディスペンサと、
前記ポンプディスペンサが取り付けられる有底の容器本体と、
を有する、吐出容器。
【請求項9】
請求項8に記載の吐出容器と、
前記容器本体に貯められ、前記ポンプディスペンサから外部に吐出される前記内容物と
を有する、内容物入り吐出容器物品。
発明の詳細な説明
【技術分野】
【0001】
本発明は、例えば液体状の内容物を吐出させるポンプディスペンサ、そのポンプディスペンサを有する吐出容器、及び、その吐出容器の容器本体に貯められた内容物を有する内容物入り吐出容器物品に関する。
続きを表示(約 1,800 文字)
【背景技術】
【0002】
例えば特許文献1には、シリンダ部と、該シリンダ部内を摺動するピストン部と、該ピストン部上部に取り付けられたノズルヘッドと、該シリンダ部を容器本体に取り付けるためのキャップ部と、該ピストン部とシリンダ部との間に装着される円筒パッキンと、該ノズルヘッドを上方に弾発させるために円筒パッキンとノズルヘッドとの間に介在するスプリングとを備えるポンプディスペンサが開示されている。
【先行技術文献】
【特許文献】
【0003】
特開2009-208830号公報
【発明の概要】
【発明が解決しようとする課題】
【0004】
従来の吐出容器は、吐出容器の各部品が使用中や輸送時に分解することがないように部品同士が十分に嵌合され、消費者が容易に部品を取り外すことは出来なかった。しかし近年、環境配慮意識の高まりから、金属製の付勢部材と他の合成樹脂部品とを分別して破棄することが望まれている。
【0005】
特許文献1の吐出容器によれば、ノズルヘッドを上方付勢するスプリングを取り外すためにはノズルヘッドを回して簡単に分離できることが望まれるが、自由に回転するノズルヘッドを有してはいるものの、ノズルヘッドを回転させながら取り外し分解することは構造的に難しい。
【0006】
本発明は、使用時の使い易さと分別の容易化の両立を図ることができる、例えば液体状の内容物を吐出させるポンプディスペンサ、そのポンプディスペンサを有する吐出容器、及び、その吐出容器の容器本体に貯められた内容物を有する内容物入り吐出容器物品を提供することを目的とする。
【課題を解決するための手段】
【0007】
本発明の一態様に係るポンプディスペンサは、シリンダと、前記シリンダ内を一方向に往復動するピストンと、前記ピストンの上部に設けられ、内容物が流通する吐出流路及び前記内容物を吐出する吐出口を有する吐出ヘッドと、容器本体と密封嵌合されるベースキャップと、前記ベースキャップの上方に設けられ、前記吐出ヘッドを上方に付勢する付勢部材と、前記ベースキャップに設けられ、前記吐出ヘッドの下端をネジ螺合し固定する係合部材と、前記吐出ヘッドが押下された時に、前記ピストンと当接し、前記ピストンを下方に移動させるための押下部と、を備え、前記吐出ヘッドは、前記ベースキャップに対して周方向に回転させて前記ネジ螺合を解除する前に、前記ベースキャップに対して周方向に設定の範囲だけ回転可能に構成されている。
【発明の効果】
【0008】
本発明によれば、使用時の使い易さと分別の容易化の両立を図ることができる、液体状の内容物を吐出させるポンプディスペンサ、そのポンプディスペンサを有する吐出容器、及び、その吐出容器の容器本体に貯められた内容物を有する内容物入り吐出容器物品を提供することができる。
【図面の簡単な説明】
【0009】
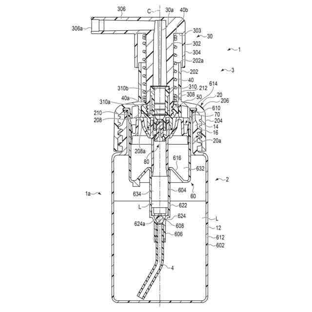
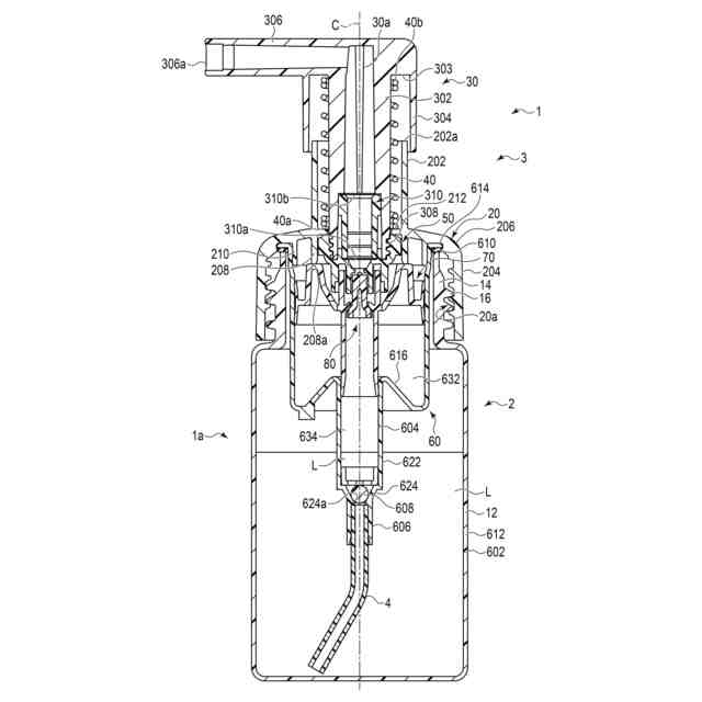
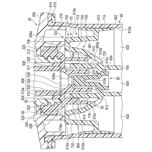
図1は一実施形態に係る吐出容器の構成を示す断面図である。
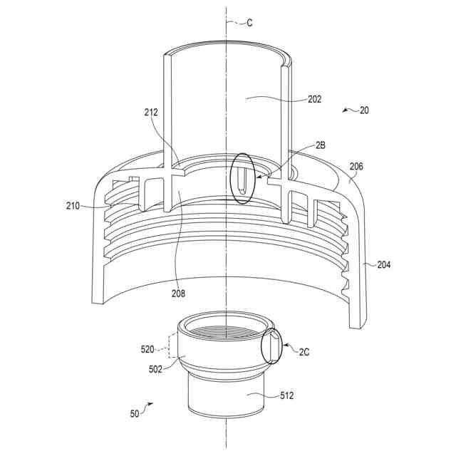
図2Aは、図1に示す支持部の中心軸を含む面の断面図、及び、係合部材を斜視図として示す図である。
図2Bは、図2A中の符号2Bで示す位置の拡大図である。
図2Cは、図2A中の符号2Cで示す位置の拡大図である。
図2Dは、上側に支持部の突起を配置し、その直下に係合部材の突起を配置した状態を示す概略図である。
図3Aは、ポンプ体の一連の動作を示す概略的な断面図である。
図3Bは、図3Aに続くポンプ体の一連の動作を示す概略的な断面図である。
図3Cは、図3Bに続くポンプ体の一連の動作を示す概略的な断面図である。
図3Dは、図3Cに続くポンプ体の一連の動作を示す概略的な断面図である。
図4は、図3Aから図3Dの一連の動作の後、係合部材、ピストン、及び、棒状弁により形成される空間内に内容物が溜められた状態を示す概略図である。
図5は、図4に示す係合部材の内筒の外壁から突起部を除去した状態を示す概略図である。
【発明を実施するための形態】
【0010】
実施形態に係る吐出容器1について、図1から図5を用いて説明する。
(【0011】以降は省略されています)
この特許をJ-PlatPat(特許庁公式サイト)で参照する
関連特許
大和製罐株式会社
吐出容器入り薬液
1か月前
大和製罐株式会社
角型紙容器及び内容物入り容器
1か月前
大和製罐株式会社
ポンプディスペンサ及び吐出容器
4日前
大和製罐株式会社
滑落膜、及び、水性乳濁液入り容器
25日前
大和製罐株式会社
原反ロール、フィルム、蓋及び内容物入り包装体
1か月前
大和製罐株式会社
フィルム、蓋、内容物入り容器及び蓋の製造方法
1か月前
大和製罐株式会社
ポンプディスペンサ、吐出容器、及び、内容物入り吐出容器物品
1か月前
大和製罐株式会社
ポンプディスペンサ、吐出容器、及び、内容物入り吐出容器物品
1か月前
大和製罐株式会社
ポンプディスペンサ、吐出容器、及び、内容物入り吐出容器物品
1か月前
大和製罐株式会社
フィルム、包装容器、内容物入り包装容器及びフィルムの製造方法
2か月前
個人
収容箱
4か月前
個人
束ね具
13日前
個人
コンベア
6か月前
個人
容器
10か月前
個人
段ボール箱
7か月前
個人
段ボール箱
8か月前
個人
ゴミ収集器
7か月前
個人
バンド
3か月前
個人
土嚢運搬器具
9か月前
個人
テープ引出機
13日前
個人
宅配システム
7か月前
個人
楽ちんハンド
5か月前
個人
角筒状構造体
6か月前
個人
お薬の締結装置
6か月前
個人
閉塞装置
11か月前
個人
廃棄物収容容器
3か月前
個人
棒状体収容容器
17日前
個人
コード類収納具
9か月前
個人
包装容器
2か月前
個人
蓋閉止構造
4か月前
個人
積み重ね用補助具
3か月前
個人
蓋閉止構造
4か月前
株式会社コロナ
梱包材
6か月前
株式会社和気
包装用箱
27日前
株式会社和気
包装用箱
9か月前
個人
把手付米袋
5か月前
続きを見る
他の特許を見る