TOP
|
特許
|
意匠
|
商標
特許ウォッチ
Twitter
他の特許を見る
10個以上の画像は省略されています。
公開番号
2025171689
公報種別
公開特許公報(A)
公開日
2025-11-20
出願番号
2024077280
出願日
2024-05-10
発明の名称
吹出口装置
出願人
株式会社三菱地所設計
,
協立エアテック株式会社
代理人
個人
,
個人
主分類
F24F
13/10 20060101AFI20251113BHJP(加熱;レンジ;換気)
要約
【課題】電力を必要とせず、省施工化等を図ることができると共に、一様でない気流感のある揺らぎ気流を吹き出すことができる吹出口装置を提供する。
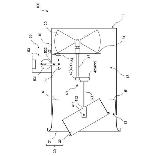
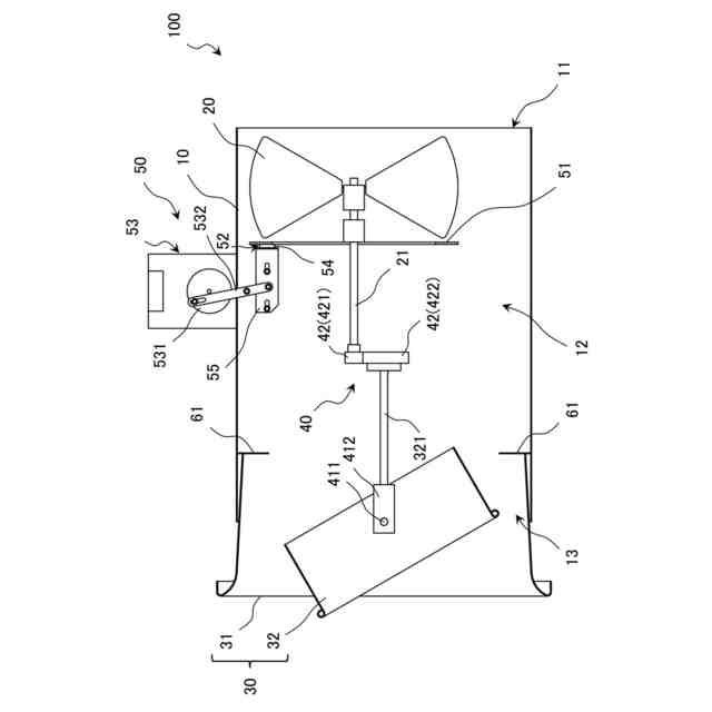
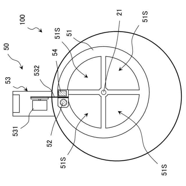
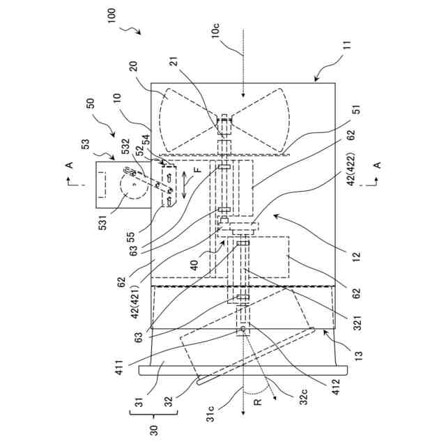
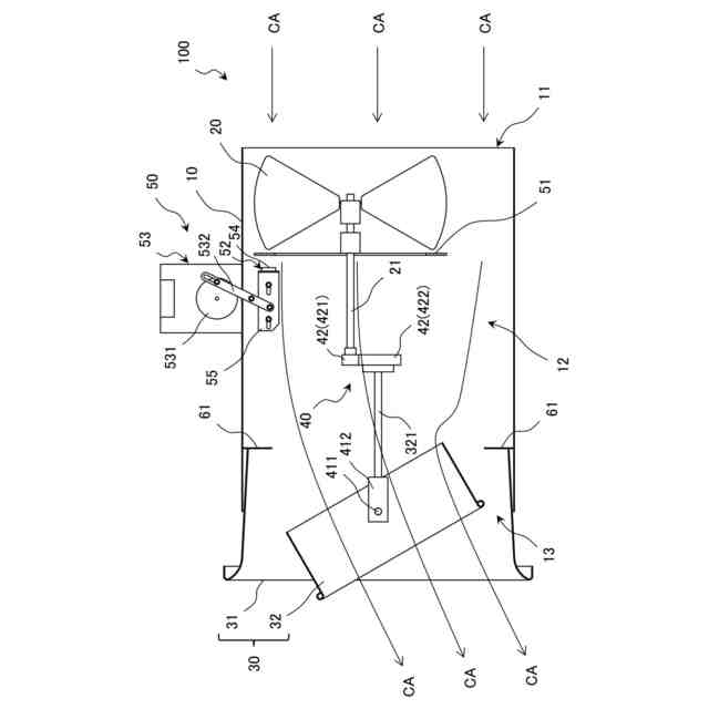
【解決手段】吹出口装置100は、流入口11と、流路12と、流出口13と、を有する円筒状のケーシング10と、ケーシング10の流出口13に設けられ、円筒状の外筒31と、円筒状の内筒32と、からなるノズル型吹出口30と、ケーシング10の流入口11側に設けられ、内筒32と伝達機構40を介して連結された羽根車20と、を備える。また、外筒31は、軸心31cがケーシング10の軸心10cの同軸上となるように設けられ、内筒32は、軸心32cがケーシング10の軸心10cと角度Rをなして交わるように設けられ、羽根車20は、ケーシング10内に流入した空調空気の風圧により回転することで、伝達機構40を介して連結された内筒32を回転させる。
【選択図】図4
特許請求の範囲
【請求項1】
空調機から供給される空調空気を搬送するダクトの末端に接続され、前記空調空気が流入する流入口と、前記流入口から流入した前記空調空気が通過する流路と、前記流路を通過した前記空調空気が流出する流出口と、を有する円筒状のケーシングと、
前記ケーシングの前記流出口に設けられ、円筒状の外筒と、円筒状の内筒と、からなるノズル型吹出口と、
前記ケーシングの前記流入口側に設けられ、前記内筒と伝達機構を介して連結された羽根車と、を備え、
前記外筒は、軸心が前記ケーシングの軸心の同軸上となるように設けられ、
前記内筒は、軸心が前記ケーシングの軸心と角度をなして交わるように設けられ、
前記羽根車は、前記ケーシング内に流入した前記空調空気の風圧により回転することで、前記伝達機構を介して連結された前記内筒を回転させることを特徴とする吹出口装置。
続きを表示(約 400 文字)
【請求項2】
前記伝達機構は、前記内筒を把持する把持機構を有しており、
前記把持機構により、前記内筒の軸心と、前記ケーシングの軸心と、が交わる角度を変更可能な請求項1に記載の吹出口装置。
【請求項3】
前記羽根車の回転速度を変更または/および回転を停止させるブレーキ手段を備えた請求項1または2に記載の吹出口装置。
【請求項4】
前記ブレーキ手段が、前記羽根車の回転軸に取り付けられた回転板と、磁石と、前記回転板と前記磁石との距離を調節可能な制御手段と、で構成された請求項3に記載の吹出口装置。
【請求項5】
前記制御手段は、モーターと、前記モーターと前記磁石とを連結するアームと、を有し、
前記モーターの回転に伴わせて、前記アームに連結された前記磁石と前記回転板との距離を連続的に変化させる請求項4に記載の吹出口装置。
発明の詳細な説明
【技術分野】
【0001】
本発明は、規模の大きな展示会場やイベント会場、オフィスビルのロビー空間などに設けられている空調設備に使用される吹出口装置に関する。
続きを表示(約 2,100 文字)
【背景技術】
【0002】
規模の大きな展示会場やイベント会場などに設けられている空調設備において、空調空間に向かって空調空気を吹き出すための二重ノズル型の吹出口装置が設けられている。
そして、このような従来の吹出口装置には、吹出口にある内筒の向きを変えて、風向(空調空気を吹き出す方向)を変えることができるものがある。なお、空調空気の温度に応じて内筒を動かす駆動手段(アクチュエータ)により、内筒を自動で偏向させ、冷房時と暖房時とで吹出方向を切り替えるオート型ノズルも存在する。
【0003】
また、送風装置には、心地よいと感じる自然のリズムで吹いてくる風(自然の風に近い送風、いわゆる「揺らぎ気流」)を供給することが求められている。
このような送風装置として、例えば、特許文献1に記載のものがある。特許文献1には、送風ダクト1内に設置可能な制御装置10が記載されており、制御装置10は、ファン12や、ファン12と連動して揺動する制風板21などを備えており、送風ダクト1内の送風を制風板21の揺動によって強弱をつけさせ、自然の風に近い揺らぎ風を形成し得るものである(図1,図3参照)。
【先行技術文献】
【特許文献】
【0004】
特開平6-117684号公報
【発明の概要】
【発明が解決しようとする課題】
【0005】
そのため、吹出口装置においても、揺らぎ気流を供給することが求められている。
しかし、従来の吹出口装置は、空調空気の吹出方向を柔軟に変えることができ、大型の展示会場やイベント会場などに設けられる大空間空調設備の一部として広く利用することができるものであるが、高所に設置された吹出口装置の空調空気の吹出方向を変えるためには、都度手動による操作が必要である。そのため風向設定後は、空調空気は常に同じ方向にのみ吹き出されることになり、揺らぎ気流を供給することはできない。
また、オート型ノズルも、冷房時または暖房時に内筒を自動で偏向させることができるが、偏向後は空調空気が吹き出される方向は常に同じであるため、同様に揺らぎ気流を供給することはできない。
【0006】
一方、引用文献1に記載の制御装置は、送風ダクト内の送風を制風板の揺動によって強弱をつけさせる構成ではあるが、制風板は上下(図1)または左右(図2)に揺動するのみであるため、送風ダクトを介して吹き出される空気に指向性を持たせたり、風向を変えたりすることはできない。
【0007】
よって、本発明は、電力を必要とせず、省施工化および省エネルギー化を図ることができると共に、大空間の居住域に一様でない気流感のある揺らぎ気流を吹き出すことができる吹出口装置を提供することを目的とする。
【課題を解決するための手段】
【0008】
本発明に係る吹出口装置は、空調機から供給される空調空気を搬送するダクトの末端に接続され、前記空調空気が流入する流入口と、前記流入口から流入した前記空調空気が通過する流路と、前記流路を通過した前記空調空気が流出する流出口と、を有する円筒状のケーシングと、
前記ケーシングの前記流出口に設けられ、円筒状の外筒と、円筒状の内筒と、からなるノズル型吹出口と、
前記ケーシングの前記流入口側に設けられ、前記内筒と伝達機構を介して連結された羽根車と、を備え、
前記外筒は、軸心が前記ケーシングの軸心の同軸上となるように設けられ、
前記内筒は、軸心が前記ケーシング(前記外筒)の軸心と角度をなして交わるように設けられ、
前記羽根車は、前記ケーシング内に流入した前記空調空気の風圧により回転することで、前記伝達機構を介して連結された前記内筒を回転させることを特徴とする。
【0009】
このような構成により、空調機から供給された空調空気は、ダクトに接続されたケーシングの流入口からケーシング内に流入し、流路を通過して流出口から流出するが、その際、ケーシング内に流入した空調空気の風圧により羽根車が回転し、羽根車と伝達機構を介して連結された内筒も回転する。そして、流出口に設けられた外筒と内筒とからなるノズル型吹出口のうち、内筒は、軸心がケーシングの軸心と角度をなして交わるようにケーシングに対し傾けて設けられているため、羽根車の回転に伴って回転することで、内筒の傾く方向が連続的に変わる。そのため、流出口から流出する空調空気は、回転中の内筒が傾いている方向に向かって連続的に空調空間に吹き出される。
【0010】
また、前記伝達機構は、前記内筒を把持する把持機構を有しており、吹出口装置は、前記把持機構により、前記内筒の軸心と、前記ケーシング(前記外筒)の軸心と、が交わる角度を変更可能な構成であることが望ましい。
これにより、内筒のケーシングに対する傾きを任意に変えることができるため、空調空気を空調空間に吹き出す方向を変えることができる。
(【0011】以降は省略されています)
特許ウォッチbot のツイートを見る
この特許をJ-PlatPat(特許庁公式サイト)で参照する
関連特許
株式会社三菱地所設計
吹出口装置
6日前
個人
集熱器具
19日前
株式会社トヨトミ
五徳
1か月前
株式会社コロナ
加湿装置
2か月前
個人
油ハネ防止カーテン
22日前
株式会社コロナ
空調装置
1か月前
個人
UFO型空気清浄機
7日前
株式会社コロナ
空調装置
1か月前
株式会社コロナ
空調装置
1か月前
株式会社コロナ
空調装置
2か月前
株式会社コロナ
空調装置
1か月前
株式会社コロナ
風呂給湯機
2か月前
個人
太陽光パネル傾斜装置
1か月前
株式会社コロナ
空気調和機
3か月前
株式会社コロナ
直圧式給湯機
3か月前
個人
シンプルクーラー
1か月前
株式会社コロナ
暖房システム
1か月前
株式会社コロナ
貯湯式給湯機
2か月前
株式会社コロナ
貯湯式給湯機
1か月前
株式会社コロナ
温水暖房装置
1か月前
三菱電機株式会社
換気扇
1か月前
株式会社コロナ
輻射式冷房装置
3か月前
三菱電機株式会社
換気扇
1か月前
三菱電機株式会社
換気扇
1か月前
ホーコス株式会社
換気扇取付枠
2か月前
株式会社ノーリツ
温水装置
1か月前
株式会社パロマ
ガスコンロ
26日前
株式会社トヨトミ
固体燃料燃焼器
6日前
株式会社ノーリツ
温水装置
1か月前
株式会社パロマ
ガスコンロ
26日前
株式会社ノーリツ
給湯装置
1か月前
株式会社パロマ
ガスコンロ
26日前
株式会社ツインバード
加熱調理器
2か月前
個人
籾殻(そば殻)燃焼ストーブ
2か月前
株式会社パロマ
湯沸器
1か月前
大阪瓦斯株式会社
ガスコンロ
1か月前
続きを見る
他の特許を見る