TOP
|
特許
|
意匠
|
商標
特許ウォッチ
Twitter
他の特許を見る
公開番号
2025171150
公報種別
公開特許公報(A)
公開日
2025-11-20
出願番号
2024076193
出願日
2024-05-08
発明の名称
窓用パネル
出願人
有限会社かーいんてりあ高橋
代理人
個人
主分類
B60R
7/08 20060101AFI20251113BHJP(車両一般)
要約
【課題】車内で小物に応じた収容具や固定具などの器具あるいは小物それ自体を固定でき、及び、剛性で頑丈であり本体を曲げなくても自動車に着脱することができる窓用パネルを提供する。
【解決手段】窓用パネル1はパネル本体2と複数の突出体とを備える。パネル本体2が、車内側に向けて配置されるための表面41と、窓ガラスに向けて配置されるための裏面42と、物を取り付けるための搭載部5とを備える。複数の突出体が、パネル本体2の裏面側の下端から下方に突出した1つ以上の下方突出体3と、パネル本体2の裏面側の上端から上方に突出した1つ以上の上方突出体4とを備える。1つ以上の下方突出体3と1つ以上の上方突出体4とのうちの少なくとも一方が、表面側からの操作によりパネル本体2に対して出し入れ可能に構成されている。
【選択図】図2
特許請求の範囲
【請求項1】
物を取り付けるために自動車の窓ガラスの車内側に取り付けられることが可能な剛性の窓用パネルであって、
前記窓ガラスの車内側を少なくとも部分的に覆うための板状のパネル本体と、
前記窓ガラスの付近の隙間に差し込むために前記パネル本体から上下方向に延びた複数の突出体と、
を備え、
前記パネル本体が、
車内側に向けて配置されるための表面と、
前記窓ガラスに向けて配置されるための裏面と、
物を取り付けるための搭載部と、
を備え、
前記複数の突出体が、
前記パネル本体の裏面側の下端から下方に突出した1つ以上の下方突出体と、
前記パネル本体の前記裏面側の上端から上方に突出した1つ以上の上方突出体と、
を備え、
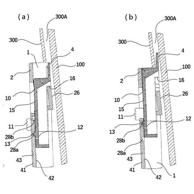
前記1つ以上の下方突出体と前記1つ以上の上方突出体とのうちの少なくとも一方が、表面側からの操作により前記パネル本体に対して出し入れ可能に構成されている、
窓用パネル。
続きを表示(約 2,200 文字)
【請求項2】
前記窓用パネルが、前記裏面側において上下に移動可能であるように前記パネル本体により支持された可動部材を備え、
前記可動部材が、
支持部と、
前記支持部に固定された前記突出体であって、前記パネル本体に対して出し入れ可能に構成された前記突出体と、
前記支持部により弾性的に揺動可能に支持された揺動部と、
を備え、
前記パネル本体が、前記表面から前記裏面に貫通した操作孔を備え、
前記揺動部の少なくとも一部が、前記操作孔から前記表面側に露出するように配置されており、
前記揺動部が、位置決め突起を含み、
前記パネル本体が、複数の位置決め窪みを含み、
前記複数の位置決め窪みが、突出位置窪みと収容位置窪みとを含み、
前記揺動部の前記位置決め突起が前記突出位置窪みに嵌め込まれたときに前記可動部材の前記突出体が前記パネル本体から突出した状態となるように、前記突出位置窪みが配置されており、
前記揺動部の前記位置決め突起が前記収容位置窪みに嵌め込まれたときに前記可動部材の前記突出体が前記パネル本体に収容された状態となるように、前記収容位置窪みが配置されており、
前記揺動部が前記表面側から前記裏面側に向けて押されたときに前記位置決め突起が前記位置決め窪みから外れるように、前記揺動部が前記支持部により弾性的に支持されており、
前記位置決め突起が前記位置決め窪みから外れた状態において前記可動部材が上下に移動可能であるように、前記可動部材が前記パネル本体に支持されている、
請求項1に記載の窓用パネル。
【請求項3】
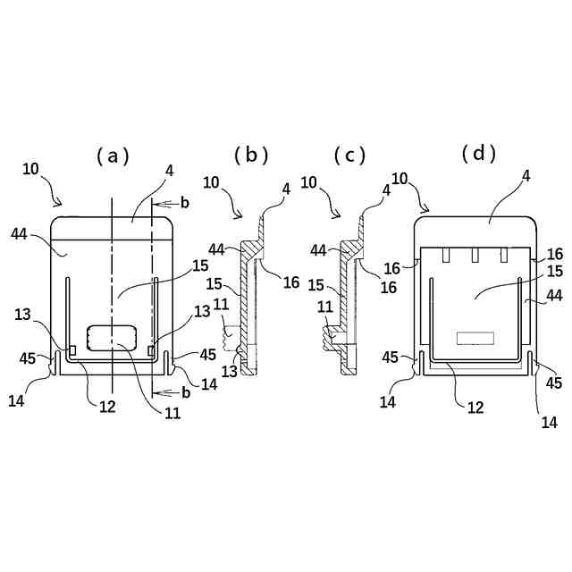
前記揺動部が、前記操作孔を通って前記パネル本体の前記前面より前方に突出した摘まみを備える、
請求項2に記載の窓用パネル。
【請求項4】
前記窓用パネルが、前記可動部材を後方から支持するために前記パネル本体の前記裏面側に位置する裏支持板を備え、
前記支持部が、前記裏支持板より上方に位置して、下方を向いた上規制面を備え、
前記上規制面が前記裏支持板の上部に当たることにより、所定の下限位置より下方に前記可動部材が移動することが阻止されるように、前記上規制面と前記裏支持板とが構成されている、
請求項3に記載の窓用パネル。
【請求項5】
前記窓用パネルが、前記可動部材の左右方向の動きを制限するための横支持板を備え、
前記可動部材が、前記支持部に弾性的に揺動可能に結合された2つの下規制部を備え、
各前記下規制部が、前記支持部から下方に向かって延びており、
各前記下規制部が、左右方向において外側に向かって突出した下規制突起を備え、
前記下規制部の上端が前記支持部に固定されていることにより、前記下規制部が弾性的に左右に揺動可能に構成されており、
前記下規制部に左右方向の外力が加わっていない状態において、前記下規制突起が前記横支持板の下端に当たることにより、所定の上限位置より上方に前記可動部材が移動することが阻止されるように、前記下規制部と前記横支持板とが構成されており、
前記可動部材の左右方向中心に向かって前記下規制部に外力が加えられたとき、前記下規制部が弾性変形することにより、所定の上限位置より上方に前記可動部材が移動することができるように、前記下規制部と前記横支持板とが構成されている、
請求項4に記載の窓用パネル。
【請求項6】
前記所定の上限位置より上方に前記可動部材が移動した状態において、前記摘まみが前記操作孔の上端縁に当たることにより、前記可動部材が前記パネル本体と前記裏支持板との間から上方に向かって抜けることが防止されるように、前記パネル本体と前記可動部材とが構成されており、
前記摘まみが前記操作孔の前記上端縁に当たる位置において、前記可動部材の下端が前記操作孔から前に突出するように前記可動部材を傾けることにより、前記操作孔を通して前記可動部材を前記パネル本体と前記裏支持板との間から抜き取ることができるように、前記操作孔が構成されている、
請求項5に記載の窓用パネル。
【請求項7】
前記パネル本体が、前記パネル本体の左右方向の一方側に位置する第1の連結部と、他方側に位置する第2の連結部とを備え、
2つの前記窓用パネルがある場合において、2つの前記窓用パネルを左右方向に近づけたときに、一方の前記窓用パネルの前記第1の連結部を他方の前記窓用パネルの前記第2の連結部に連結させることができるように、前記第1の連結部と前記第2の連結部とが構成されており、
所定の大きさ以上の力で2つの前記窓用パネルを引き離さなければ前記第1の連結部と前記第2の連結部との連結が解除できないように構成されている、
請求項6に記載の窓用パネル。
【請求項8】
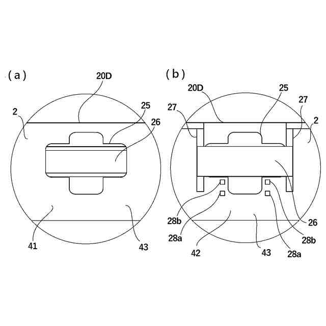
前記搭載部が、鋼板を含む、
請求項1から請求項7のいずれか一項に記載の窓用パネル。
【請求項9】
前記搭載部が、搭載孔を含む、
請求項1から請求項7のいずれか一項に記載の窓用パネル。
発明の詳細な説明
【技術分野】
【0001】
この発明は、自動車、特にキャンピングカーとして内部を仕様変更したワンボックス車両及び車中泊を行うための自動車の窓ガラス内側に取り付ける窓用パネルに関する。
続きを表示(約 1,500 文字)
【背景技術】
【0002】
一般の自動車を、キャンプ及び車中泊時の居室として、または緊急時の生活スペースとして用いることが行われている。その際に、家の居室空間と同様、車内で居住するのに必要な小物、例えばティッシュボックス、USB充電装置、タオル等の収容場所が必要となる。
【0003】
一般の自動車をキャンピングカー用に内部を仕様変更する場合、また車中泊車両として利用する場合、居住用の小物を収容するためのスペースは車内にほとんど無く、とりわけ車内に就寝スペースを設けた場合には車内で使える空間が限定される。したがって、自動車の車内を居室や就寝場所として有効活用するため、小物を収納するための場所が十分確保できていなかった。
【0004】
従来、車内の窓部を活用し、小物を入れるためのポケット部が設けられている自動車の窓枠に着脱可能な目隠し用のブラインド装置が考案されている。例えば、特許文献1に記載された自動車の窓用のブラインド装置がある。
【先行技術文献】
【特許文献】
【0005】
特開2023-73218公報
【発明の概要】
【発明が解決しようとする課題】
【0006】
上記特許文献1に記載のブラインド装置の技術は、小物を入れるためのポケット部はあるものの、素材がデニム素材や帆布素材などの布体であって、面ファスナで車内に固定されるものである。このため、車が振動することによって、布体が外れてしまわないよう、ポケット部に収容される物の大きさ、種類は限定される。
【0007】
キャンピングカーに仕様変更した車内又は車中泊車両として利用する車内は、家の居室空間と同様、車内で必要となる小物類が乗車するメンバーによって異なり、また車内の使い方によっても異なるため、各種のバラエティーに富んだ小物の収容場所が求められていた。この場合、車内をキャンピングカーに仕様変更したり、車中泊車両として利用したりする際に大幅に車内を改装して窓を塞いで収容場所を構築することもできるが、手間と費用がかかるだけでなく、通常の窓として利用したいときに取り外しが困難であった。
【0008】
本発明は、上述の問題に鑑みてなされたものであり、車内で小物に応じた収容具や固定具などの器具あるいは小物それ自体を固定でき、及び、剛性で頑丈であり本体を曲げなくても自動車に着脱することができる窓用パネルを提供することを目的とする。
【課題を解決するための手段】
【0009】
上記課題を解決するため、本発明の窓用パネルは、以下の技術的手段を講じている。
【0010】
第1の態様の窓用パネルは、物を取り付けるために自動車の窓ガラスの車内側に取り付けられることが可能な剛性の窓用パネルであって、窓ガラスの車内側を少なくとも部分的に覆うための板状のパネル本体と、窓ガラスの付近の隙間に差し込むためにパネル本体から上下方向に延びた複数の突出体と、を備え、パネル本体が、車内側に向けて配置されるための表面と、窓ガラスに向けて配置されるための裏面と、物を取り付けるための搭載部と、を備え、複数の突出体が、パネル本体の裏面側の下端から下方に突出した1つ以上の下方突出体と、パネル本体の裏面側の上端から上方に突出した1つ以上の上方突出体と、を備え、1つ以上の下方突出体と1つ以上の上方突出体とのうちの少なくとも一方が、表面側からの操作によりパネル本体に対して出し入れ可能に構成されている、窓用パネルである。
(【0011】以降は省略されています)
この特許をJ-PlatPat(特許庁公式サイト)で参照する
関連特許
個人
空間形成装置
28日前
日本精機株式会社
照明装置
23日前
個人
常設収納型サンバイザー
1か月前
株式会社豊田自動織機
産業車両
23日前
日本精機株式会社
車載表示装置
1か月前
個人
回転窓ワイパー装置
28日前
日本精機株式会社
車載表示装置
29日前
日本精機株式会社
車載表示装置
1か月前
株式会社SUBARU
車両
1か月前
個人
音による速度計とプログラム
1か月前
日本精機株式会社
車両用報知装置
1か月前
日本化薬株式会社
ガス発生器
1日前
日本化薬株式会社
ガス発生器
21日前
日本化薬株式会社
ガス発生器
1か月前
株式会社ヨコオ
車載装置
21日前
豊田合成株式会社
乗員保護装置
1か月前
極東開発工業株式会社
タンク車
1か月前
和光工業株式会社
昇降装置
1か月前
日本精機株式会社
鞍乗型車両用表示装置
20日前
トヨタ自動車株式会社
車両
1か月前
井関農機株式会社
作業車両
1か月前
株式会社クボタ
作業車
1か月前
株式会社アイシン
車両
7日前
株式会社SUBARU
車両用シート
7日前
株式会社SUBARU
車両用シート
7日前
株式会社ジェイテクト
車高調製装置
1か月前
大伸工業株式会社
車載フロアマット
20日前
株式会社クボタ
作業車
13日前
株式会社クボタ
作業車
1か月前
マツダ株式会社
運転支援装置
1か月前
株式会社SUBARU
車体前部構造
1か月前
株式会社SUBARU
車体前部構造
1か月前
株式会社SUBARU
車体前部構造
1か月前
豊田合成株式会社
ステアリング装置
7日前
マツダ株式会社
運転支援装置
1か月前
マツダ株式会社
運転支援装置
1か月前
続きを見る
他の特許を見る