TOP
|
特許
|
意匠
|
商標
特許ウォッチ
Twitter
他の特許を見る
10個以上の画像は省略されています。
公開番号
2025170211
公報種別
公開特許公報(A)
公開日
2025-11-18
出願番号
2025058732
出願日
2025-03-31
発明の名称
ワイヤ組立システム、及び電気レースウェイモジュール組立方法
出願人
ザ・ボーイング・カンパニー
,
The Boeing Company
代理人
個人
,
個人
,
個人
,
個人
,
個人
,
個人
,
個人
,
個人
,
個人
主分類
H01B
13/012 20060101AFI20251111BHJP(基本的電気素子)
要約
【課題】電気レースウェイモジュールを組み立てるためのワイヤ組立システム及び方法を提供する。
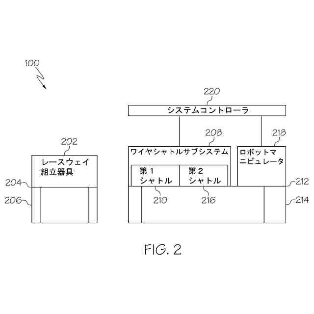
【解決手段】ワイヤ組立システム100は、ワーク支持構造体206の頂面204に配置されたレースウェイ組立器具202と、ツール支持構造体214の上面212に配置された第1シャトル210、及び当該上面に配置された第2シャトル216を含むワイヤシャトルサブシステム208と、ツール支持構造体の上面に配置された少なくとも1つのロボットマニピュレータ218と、ワイヤシャトルサブシステム及び少なくとも1つのロボットマニピュレータと機能的に通信可能であり、第1シャトル及び第2シャトルからレースウェイ組立器具へのワイヤの配置を制御するシステムコントローラ220と、を含む。
【選択図】図2
特許請求の範囲
【請求項1】
電気レースウェイモジュールを組み立てるためのワイヤ組立システムであって、
ワーク支持構造体の頂面に配置されたレースウェイ組立器具と、
ツール支持構造体の上面に配置された第1シャトル、及び前記上面に配置された第2シャトルを含むワイヤシャトルサブシステムと、
前記ツール支持構造体の前記上面に配置された少なくとも1つのロボットマニピュレータと、
前記ワイヤシャトルサブシステム及び前記少なくとも1つのロボットマニピュレータと機能的に通信可能であり、前記第1シャトル及び前記第2シャトルから前記レースウェイ組立器具へのワイヤの配置を制御するシステムコントローラと、を含むワイヤ組立システム。
続きを表示(約 1,700 文字)
【請求項2】
前記電気レースウェイモジュールは、最終製品用の電気レースウェイアーキテクチャのモジュール部品として、当該最終製品に組み込まれるよう構成されており、
前記最終製品は、航空機、回転翼機、バス、旅客輸送車両、軍用輸送車両、作戦用軍用車両、発電所、無人航空機、船舶、フェリー、クルーズ船、軍艦、商業用建物、及び住宅用建物のうちの少なくとも1つを含む、請求項1に記載のワイヤ組立システム。
【請求項3】
前記電気レースウェイモジュールは、約4インチから約36インチの幅、約8インチから約24インチの幅、及び約14インチから約18インチの幅のうちの少なくとも1つを有しており、
前記電気レースウェイモジュールは、約2フィートから約100フィートの長さ、約10フィートから約80フィートの長さ、約20フィートから約60フィートの長さ、約30フィートから約50フィートの長さ、及び約40フィートの長さのうちの少なくとも1つを有する、請求項1に記載のワイヤ組立システム。
【請求項4】
前記ワーク支持構造体は、搬送テーブルを含み、
前記搬送テーブルは、移動式カート、上面にローラが設けられたテーブル、及び搬送ベルトを有する支持構造体のうちの少なくとも1つを含む、請求項1に記載のワイヤ組立システム。
【請求項5】
前記少なくとも1つのロボットマニピュレータは、少なくとも1つのロボットアーム、少なくとも1つの4軸ロボットアーム、少なくとも1つの6軸ロボットアーム、少なくとも1つの7軸ロボットアーム、少なくとも1つの選択的コンプライアンス関節型ロボットアーム、少なくとも1つの協働ロボット、少なくとも1つの電気機械式マニピュレータ、少なくとも1つの自動機械式マニピュレータ、少なくとも1つの半自動機械式マニピュレータ、少なくとも1つの固定アクチュエータ付作業ロボット、及び少なくとも1つの半手動ロボットのうちの1つ以上を含む、請求項1に記載のワイヤ組立システム。
【請求項6】
前記ワイヤ組立システムは、ワイヤ搬送システムを介して、ワイヤ準備システムからワイヤキャリア上の前記ワイヤを受け取るよう構成されており、前記ワイヤキャリアは、少なくとも1つのコイルホルダと、第1端クランプと、第2端クランプと、ワイヤキャリア識別要素と、を含み、
前記ワイヤキャリア識別要素は、シリアル番号、バーコード、機械可読コード、クイックレスポンスコード、グリフコード、無線周波数識別タグ、及び無線周波数識別ラベルのうちの少なくとも1つを含む、請求項1に記載のワイヤ組立システム。
【請求項7】
前記ワイヤは、受け取られた状態において、分岐点を有するコイルを含み、当該分岐点において、前記ワイヤの第1終端部及び前記ワイヤの第2終端部が前記コイルから分岐しており、前記ワイヤは、さらに、前記第1終端部の近傍に設けられた第1ワイヤマーカと、前記第2終端部の近傍に設けられた第2ワイヤマーカと、を含む、請求項6に記載のワイヤ組立システム。
【請求項8】
前記ワイヤは、単線、撚り対線、多芯ケーブル、シールドケーブル、外装無しケーブル、同軸ケーブル、整合インピーダンスケーブル、及び光ファイバケーブルのうちの少なくとも1つを含む、請求項6に記載のワイヤ組立システム。
【請求項9】
前記レースウェイ組立器具は、
複数の縦方向側板、複数の横方向端板、前記横方向端板の間に設けられた縦方向支持部材、及び前記縦方向側板の間に設けられた横方向支持部材、を含むレースウェイフレームワークと、
前記横方向端板の近傍に設けられた電気コネクタと、
前記横方向支持部材に取り付けられて、縦方向配線レーンを形成するワイヤ配線サポートと、を含む、請求項1に記載のワイヤ組立システム。
【請求項10】
前記電気コネクタは、モジュラーコネクタ及び標準コネクタのうちの少なくとも一方を含む、請求項9に記載のワイヤ組立システム。
(【請求項11】以降は省略されています)
発明の詳細な説明
【技術分野】
【0001】
本開示は、概して、電気レースウェイモジュールを組み立てるためのワイヤ組立システムに関し、特に、電気レースウェイモジュールを組み立てるための技術に関する。1つ以上のロボットマニピュレータ及びワイヤシャトルサブシステムを制御して、レースウェイ組立器具において電気レースウェイモジュールを組み立てるために、様々な技術が用いられている。
続きを表示(約 2,800 文字)
【背景技術】
【0002】
ワイヤハーネス製造の商慣習(commercial practices)は、1960年代以降、実質的には変わっていない。レースウェイ配線に関しては、個々のワイヤが準備され、第1端コネクタに終端され、個々のハーネスに纏められ、第2端コネクタに終端され、束ねられた状態でレースウェイ支持体に配置される。レースウェイ支持体は、工場に搬送され、航空機などの最終製品に設置される。このプロセスは、現在45人日かかる可能性がある。さらに、現在のプロセスは、梱包、発送、受領、及び開梱に関連する、多くの付加価値を生まないステップを含む。このプロセスにおいては、資源の不足や長納期品(long lead items)が原因で多量の仕掛品バッファ(work-in-process buffers)が発生する可能性がある。
【0003】
電気配線レースウェイは、最終製品の全体にデータ、信号、及び電力を分配するために、最終製品の全長に亘って敷設された多数の電気ワイヤを含む。例えば、航空機は、通常、その全長に亘って敷設された4つ又は5つのレースウェイを含む。レースウェイは、エンジンブレードアウト(engine blade out)や爆弾の爆風などの物理的脅威を緩和するために、互いに物理的に分離されている。
【0004】
レースウェイは、従来、以下のプロセスにより組み立てられる。長尺のワイヤ束の組み立て、試験、巻回、梱包が行われ、電気システム責任センターに発送される。これらのワイヤ束は、第三者により組み立てられる場合がある。電気システム責任センターは、ワイヤ束を受け取り、これらの束を巻き出して、長尺の組立テーブル上で他の同様の束と共にワイヤ束を組み立てる。ワイヤ束は、束ねられて、及び/又はまとめて固定され、スパナバー下部構造体(spanner bar substructures)に取り付けられる。その後、これらの長尺アセンブリは、巻回されてから搬送ツールに載置され、最終製品の組立工場に搬送される。最終製品の組立工場では、アセンブリの巻き出し、最終製品内への搬入、持ち上げ、及び設置が行われる。航空機などの最終製品においては、巻回、巻き出し、及び持ち上げの作業を回避するために、超大型の搬送ツールが使用される場合がある。従来のレースウェイアセンブリは、最終製品生産ラインを基盤としている。
【0005】
既存のレースウェイ、配線ハーネス、及びワイヤ束は、24インチ~100フィートのワイヤを含みうる。レースウェイにおいてこのようなワイヤを組み立てるための現行の技術においては、相当量の手作業が必要とされる。例えば、様々なワイヤ長を自律的に管理する解決策は知られていない。
【0006】
したがって、当業者は、ワイヤを自律的に準備する技術、及び、自律的に又は手作業で、或いはその両方で準備されたワイヤを自律的に搬送する技術の改善を目的とした研究及び開発の努力を続けている。
【発明の概要】
【0007】
以下に、ワイヤ組立システム、及び電気レースウェイモジュールを組み立てるための方法の実施例を開示する。以下に、本開示の要旨の実施例を列挙するが、この列挙は全てを網羅するものではなく、また、特許請求の範囲に記載されているものも、されていないものも含みうる。
【0008】
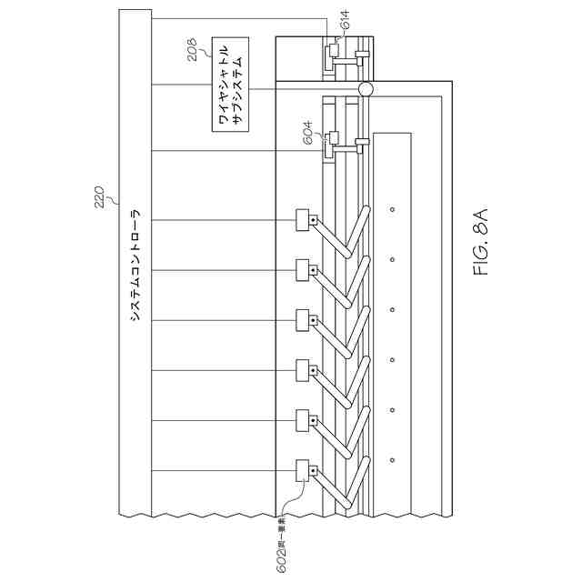
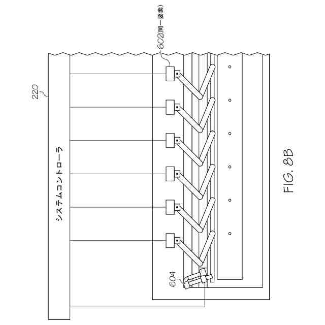
一例において、電気レースウェイモジュールを組み立てるためのワイヤ組立システムは、レースウェイ組立器具と、ワイヤシャトルサブシステムと、少なくとも1つのロボットマニピュレータと、システムコントローラと、を含む。前記レースウェイ組立器具は、ワーク支持構造体の頂面に配置されている。上記ワイヤシャトルサブシステムは、ツール支持構造体の上面に配置された第1シャトルと、前記上面に配置された第2シャトルとを含む。前記少なくとも1つのロボットマニピュレータは、前記ツール支持構造体の前記上面に配置されている。前記システムコントローラは、前記ワイヤシャトルサブシステム及び前記少なくとも1つのロボットマニピュレータと機能的に通信可能であり、前記第1シャトル及び前記第2シャトルから前記レースウェイ組立器具へのワイヤの配置を制御する。
【0009】
一例において、電気レースウェイモジュールを組み立てるための方法は、(1)ワーク支持構造体において、レースウェイ準備領域からレースウェイ組立器具を受け取り、その際、前記ワーク支持構造体は、ツール支持構造体と並んで配置されており、(2)ワイヤ準備システムから、前記レースウェイ組立器具に配置するためのワイヤを受け取り、その際、前記ワイヤは、第1終端部と、第2終端部と、を含み、(3)前記ツール支持構造体の上面において、前記第1終端部を保持する第1シャトルと、前記第2終端部を保持する第2シャトルとの間で前記ワイヤを位置決めし、(4)前記第1終端部及び前記第2終端部を有する前記ワイヤを、前記ツール支持構造体の前記上面、前記第1シャトル、及び前記第2シャトルからピックアップし、(5)前記レースウェイ組立器具における所定位置に前記ワイヤを配置する、ことを含む。
【0010】
他の例において、電気レースウェイモジュールを組み立てるための方法は、(1)ワーク支持構造体において、レースウェイ準備領域からレースウェイ組立器具を受け取り、その際、前記ワーク支持構造体は、ツール支持構造体と並んで配置されており、(2)ワイヤ準備システムから、前記レースウェイ組立器具に配置するためのワイヤを受け取り、その際、前記ワイヤは、第1終端部と、第2終端部と、を含み、(3)前記ツール支持構造体の上面において、前記第1終端部を保持する第1シャトルと、前記第2終端部を保持する第2シャトルとの間で前記ワイヤを位置決めし、(4)前記第1終端部及び前記第2終端部を有する前記ワイヤを、前記ツール支持構造体の前記上面、前記第1シャトル、及び前記第2シャトルからピックアップし、(5)前記レースウェイ組立器具における所定位置に前記ワイヤを配置し、(6)前記レースウェイ組立器具に自律配置されるよう指定された全てのワイヤが配置されるまで、前記ワイヤの受け取り、位置決め、ピックアップ、及び配置を次のワイヤに対して繰り返し、(7)最終製品に対する前記電気レースウェイモジュールの取り付けに向けた準備のため、ワイヤ組立後エリアに前記レースウェイ組立器具を搬送し、前記レースウェイ組立器具において手動組立作業を行う、ことを含む。
(【0011】以降は省略されています)
この特許をJ-PlatPat(特許庁公式サイト)で参照する
関連特許
ザ・ボーイング・カンパニー
複合チャージのパンチ形成
13日前
ザ・ボーイング・カンパニー
航空機乱気流通知システム及び方法
12日前
ザ・ボーイング・カンパニー
導管上にシールを形成するためのアセンブリ
4日前
ザ・ボーイング・カンパニー
ハイブリッドコンピューティングリソース最適化モデル
4日前
ザ・ボーイング・カンパニー
ワイヤ組立システム、及び電気レースウェイモジュール組立方法
6日前
ザ・ボーイング・カンパニー
高耐久性多接合太陽電池を形成するためのデバイス及びプロセス
12日前
ザ・ボーイング・カンパニー
ホーナー形式の任意の係数乗算器レス有限インパルス応答フィルタ
12日前
ザ・ボーイング・カンパニー
金属マトリックス複合材基材を後処理のために調製するシステム及び方法
12日前
ザ・ボーイング・カンパニー
閉じた端部形状を有する一体型複合材構造のトウレイアップ設計を解析するための方法
19日前
ザ・ボーイング・カンパニー
保守作業中のビークル構成要素に関する不適合の解決策を予測するためのシステム及び方法
6日前
東ソー株式会社
絶縁電線
1か月前
APB株式会社
蓄電セル
1か月前
個人
フレキシブル電気化学素子
1か月前
株式会社ユーシン
操作装置
1か月前
日新イオン機器株式会社
イオン源
1か月前
マクセル株式会社
電源装置
25日前
株式会社東芝
端子台
25日前
ローム株式会社
半導体装置
1か月前
株式会社GSユアサ
蓄電設備
1か月前
オムロン株式会社
電磁継電器
1か月前
株式会社GSユアサ
蓄電設備
1か月前
株式会社GSユアサ
蓄電装置
4日前
富士電機株式会社
電磁接触器
4日前
株式会社GSユアサ
蓄電装置
18日前
三菱電機株式会社
回路遮断器
12日前
太陽誘電株式会社
コイル部品
1か月前
株式会社GSユアサ
蓄電装置
26日前
株式会社GSユアサ
蓄電装置
26日前
株式会社ホロン
冷陰極電子源
1か月前
ノリタケ株式会社
熱伝導シート
1か月前
トヨタ自動車株式会社
蓄電装置
26日前
北道電設株式会社
配電具カバー
1か月前
日東電工株式会社
積層体
1か月前
サクサ株式会社
電池の固定構造
1か月前
トヨタ自動車株式会社
バッテリ
1か月前
日本特殊陶業株式会社
保持装置
1か月前
続きを見る
他の特許を見る