TOP
|
特許
|
意匠
|
商標
特許ウォッチ
Twitter
他の特許を見る
10個以上の画像は省略されています。
公開番号
2025172023
公報種別
公開特許公報(A)
公開日
2025-11-20
出願番号
2025077734
出願日
2025-05-08
発明の名称
導管上にシールを形成するためのアセンブリ
出願人
ザ・ボーイング・カンパニー
,
The Boeing Company
代理人
園田・小林弁理士法人
主分類
F16L
55/175 20060101AFI20251113BHJP(機械要素または単位;機械または装置の効果的機能を生じ維持するための一般的手段)
要約
【課題】導管を密封する分野に関し、特に、導管上にシールを形成するためのアセンブリに関する。
【解決手段】導管100の周りを囲んでシールを形成するためのアセンブリ。該アセンブリは、導管の周りを囲んで延在する空洞を形成するために、共に嵌合する複数のセクションを有する型を含む。保持プレートが、導管に取り付けられるように構成され、型と接触するように配置される。ナックルが、第1のジョーと第2のジョーを有するクラムシェル構成を有し、第1のジョーと第2のジョーは、コネクタによって共に旋回可能に接続され、開位置と閉位置との間で移動可能である。バネクリップが、ナックルと保持プレートとの間に配置され、バネクリップは、保持プレートを型と接触するように維持するための力を加えるように構成されている。
【選択図】図1A
特許請求の範囲
【請求項1】
導管の周りを囲んでシールを形成するためのアセンブリであって、
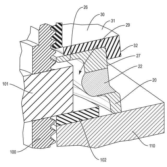
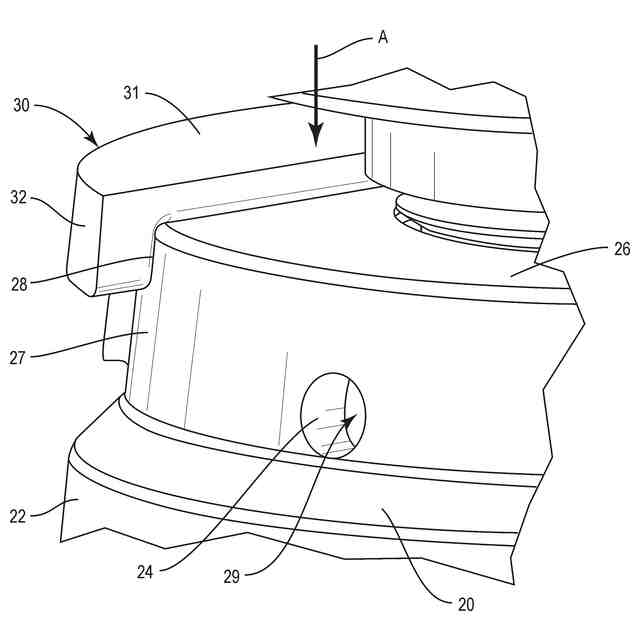
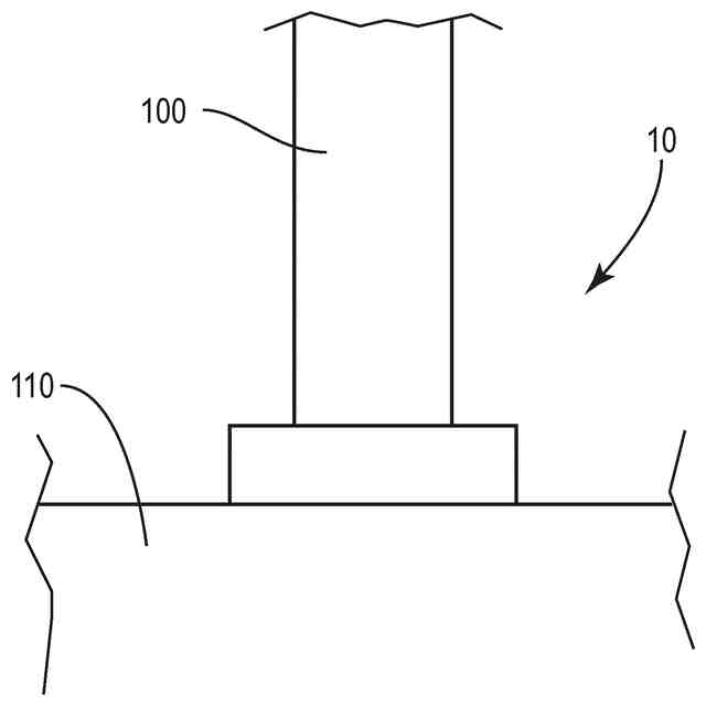
前記導管(100)の周りを囲んで延在する空洞(29)を形成するために、共に嵌合する複数のセクション(21)を備える型(20)、
前記導管(100)に取り付けられるように構成され、前記型(20)と接触するように配置された保持プレート(30)、
第1のジョー(51)と第2のジョー(52)を有するクラムシェル構成を備えたナックル(50)であって、前記第1のジョーと前記第2のジョーは、コネクタ(53)によって共に旋回可能に接続され、開位置と閉位置との間で移動可能である、ナックル(50)、及び
前記ナックル(50)と前記保持プレート(30)との間に配置され、前記保持プレート(30)を前記型(20)と接触するように維持するための力を加えるように構成されたバネクリップ(40)を備える。アセンブリ。
続きを表示(約 1,500 文字)
【請求項2】
前記第1のジョー(51)と前記第2のジョー(52)の各々は、前記導管(100)の周りを囲んで延在するように前記閉位置において整列する内縁を備える、請求項1に記載のアセンブリ。
【請求項3】
前記ナックル(50)の前記第1のジョー(51)と前記第2のジョー(52)とのうちの一方に接続された保持クリップ(55)であって、前記ナックル(50)を前記閉位置に固定するために、前記第1のジョー(51)と前記第2のジョー(52)とのうちの他方のマウント(56)と係合するように成形されている保持クリップ(55)を更に備える、請求項2に記載のアセンブリ。
【請求項4】
前記保持プレート(30)は、
外周を有する第1のセクション(31)、及び
前記外周から軸方向に延在する側方リップ(32)を備え、
前記側方リップ(32)は、前記複数のセクション(21)を共に維持するために前記型(20)の側部(27)に沿って配置されるように構成されている、請求項1に記載のアセンブリ。
【請求項5】
前記保持プレート(30)が前記バネクリップ(40)によって付勢されたときに、前記側方リップ(32)が、前記型(20)の前記複数のセクション(21)を共に押し付けるような先細り形状を有する、請求項4に記載のアセンブリ。
【請求項6】
前記型(20)の側部(27)に沿って配置され、前記型(20)を貫通して延在し、前記空洞(29)と連通する、1以上の開口部(24)を更に備える、請求項1に記載のアセンブリ。
【請求項7】
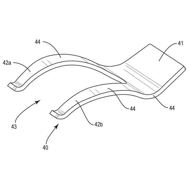
前記バネクリップ(40)は、幅にわたり延在する1以上の湾曲したセクション(44)を有する起伏のある形状を有する、請求項1に記載のアセンブリ。
【請求項8】
導管の周りを囲んでシールを形成するためのアセンブリであって、
前記導管(100)に沿って軸方向に整列するように構成された積層構成で、型(20)、保持プレート(30)、バネクリップ(40)、及びナックル(50)を備え、
前記型(20)は、前記導管(100)の周りを囲んで延在するように共に接続されるように構成された複数のセクション(21)を備え、
前記保持プレート(30)は、径方向セクション(31)と、前記径方向セクションの外周から外向きに延在するリップ(32)とを備え、前記リップ(32)は、前記型(20)の側部(27)の周りを囲んで延在するように構成され、
前記ナックル(50)は、開位置と閉位置との間で移動するように構成され、前記開位置では、拡大されたサイズを有する中央開口部(54)が、前記ナックル(50)を前記導管(100)に沿った種々の軸方向位置に配置し、前記閉位置では、より小さなサイズを有する前記中央開口部(54)が、前記ナックル(50)を前記軸方向位置のうちの1つにロックする、アセンブリ。
【請求項9】
前記型(20)の前記複数のセクション(21)は、第1の半分セクション(21a)と第2の半分セクション(21b)を備え、前記第1の半分セクション(21a)と前記第2の半分セクション(21b)は、各々、前記導管(100)の異なる角度セクションの周りを囲んで延在するように構成されている、請求項8に記載のアセンブリ。
【請求項10】
前記型(20)と前記ナックル(50)の各々は、前記導管(100)を受け入れるように構成された中央開口部と、前記導管(100)の周りを完全に囲んで延在するように構成された本体とを備える、請求項8に記載のアセンブリ。
(【請求項11】以降は省略されています)
発明の詳細な説明
【技術分野】
【0001】
[0001] 本開示は、広くは、導管を密封する分野に関し、特に、導管上にシールを形成するためのアセンブリに関する。
続きを表示(約 1,700 文字)
【背景技術】
【0002】
[0002] しばしば、導管の外装の周りに密封剤を付加することが必要である。例えば、パイプ内の液体が漏れることを防止するために、パイプ内の接合部の周りを囲んで密封剤が付加される。別の一実施例は、電気配線を収容するチューブに密封剤を付加して、腐食を防止することを含む。別の一実施例は、壁を貫通して延在する導管に密封剤を付加して、壁の防火等級を維持することである。
【0003】
[0003] 密封剤を付加するプロセスは、しばしば、技術者によって手作業で実行される。該プロセスは、技術者が、最初に、密封剤が付加される導管にアクセスすることを含む。これは、導管に取り付けられている絶縁材料又は他の材料を除去すること、又は導管に近接する位置にある近傍の材料を除去することを含み得るが、これらに限定されるものではない。アクセスされると、導管は、密封剤が導管に固定されることを可能にするために洗浄される。次いで、密封剤は、導管に付加される。
【0004】
[0004] しばしば、導管は、密封剤を付加するのが困難な場所に配置されている。例えば、導管は、壁又は隔壁を貫通して延在し得る。更に、密封剤が導管の周りを完全に囲んで延在し、導管をカバーする(例えば、ジョイントの外装の周りを完全に囲んで延在する)ことを技術者が視覚的に確認するのが難しい場所に、導管は配置され得る。特定の一実施例は、パイプが隔壁の開口部内に配置され、技術者がパイプの1以上のセクションを視覚的に見ることができないときに、密封剤がパイプの周りを完全に囲んで付加されたことを確実にすることである。
【0005】
[0005] もう一つの課題は、密封剤が導管に付加された後で、密封剤が硬化している間に、密封剤を保護することである。密封剤が付加された後で、密封剤が乱されないことを確実にするために、技術者は、しばしば、導管のエリア内で作業することを控えることが求められる。例えば、技術者は、導管に密封剤を付加し、次いで、硬化期間中にそのエリア内で任意の他の作業をしないことが要求され得る。これは、エリア内で複数の異なる作業が必要とされるとき、又は他の作業が実行されることを導管が必要とする場合に、困難であり得る。
【発明の概要】
【0006】
[0006] 一態様は、導管の周りを囲んでシールを形成するためのアセンブリを対象とする。該アセンブリは、導管の周りを囲んで延在する空洞を形成するために、共に嵌合する複数のセクションを備える型を備える。保持プレートが、導管に取り付けられるように構成され、型と接触するように配置される。ナックルが、第1のジョーと第2のジョーを有するクラムシェル構成を備え、第1のジョーと第2のジョーは、コネクタによって共に旋回可能に接続され、開位置と閉位置との間で移動可能である。バネクリップが、ナックルと保持プレートとの間に配置され、バネクリップは、保持プレートを型と接触するように維持するための力を加えるように構成されている。
【0007】
[0007] 別の一態様では、第1のジョーと第2のジョーの各々が、導管の周りを囲んで延在するように閉位置において整列する内縁を備える。
【0008】
[0008] 別の一態様では、保持クリップが、ナックルの第1のジョーと第2のジョーとのうちの一方に接続され、保持クリップは、ナックルを閉位置に固定するために、第1のジョーと第2のジョーとのうちの他方のマウントと係合するように成形されている。
【0009】
[0009] 別の一態様では、保持プレートが、外周を有する第1のセクションと、外周から軸方向に延在する側方リップとを備え、側方リップは、複数のセクションを共に維持するために型の側部に沿って配置されるように構成されている。
【0010】
[0010] 別の一態様では、保持プレートがバネクリップによって付勢されたときに、側方リップが、型のセクションを共に押し付けるような先細り形状を有する。
(【0011】以降は省略されています)
この特許をJ-PlatPat(特許庁公式サイト)で参照する
関連特許
ザ・ボーイング・カンパニー
複合チャージのパンチ形成
13日前
ザ・ボーイング・カンパニー
航空機乱気流通知システム及び方法
12日前
ザ・ボーイング・カンパニー
導管上にシールを形成するためのアセンブリ
4日前
ザ・ボーイング・カンパニー
ハイブリッドコンピューティングリソース最適化モデル
4日前
ザ・ボーイング・カンパニー
ワイヤ組立システム、及び電気レースウェイモジュール組立方法
6日前
ザ・ボーイング・カンパニー
高耐久性多接合太陽電池を形成するためのデバイス及びプロセス
12日前
ザ・ボーイング・カンパニー
ホーナー形式の任意の係数乗算器レス有限インパルス応答フィルタ
12日前
ザ・ボーイング・カンパニー
金属マトリックス複合材基材を後処理のために調製するシステム及び方法
12日前
ザ・ボーイング・カンパニー
閉じた端部形状を有する一体型複合材構造のトウレイアップ設計を解析するための方法
19日前
ザ・ボーイング・カンパニー
保守作業中のビークル構成要素に関する不適合の解決策を予測するためのシステム及び方法
6日前
個人
留め具
1か月前
個人
流路体
10か月前
個人
鍋虫ねじ
3か月前
個人
クラッチ装置
10か月前
個人
ホース保持具
7か月前
個人
紛体用仕切弁
3か月前
個人
回転伝達機構
3か月前
個人
差動歯車用歯形
5か月前
個人
トーションバー
7か月前
個人
ジョイント
2か月前
個人
給排気装置
1か月前
個人
回転式配管用支持具
9か月前
株式会社不二工機
電磁弁
4か月前
個人
ナット
19日前
個人
ボルトナットセット
8か月前
個人
固着具と成形品部材
10か月前
個人
ナット
2か月前
個人
地震の揺れ回避装置
4か月前
株式会社不二工機
電磁弁
6か月前
株式会社アイシン
駆動装置
10か月前
個人
ゲート弁バルブ
4日前
個人
吐出量監視装置
2か月前
株式会社オンダ製作所
継手
9か月前
カヤバ株式会社
緩衝器
8か月前
カヤバ株式会社
ダンパ
5か月前
カヤバ株式会社
緩衝器
10か月前
続きを見る
他の特許を見る