TOP
|
特許
|
意匠
|
商標
特許ウォッチ
Twitter
他の特許を見る
10個以上の画像は省略されています。
公開番号
2025169163
公報種別
公開特許公報(A)
公開日
2025-11-12
出願番号
2025060285
出願日
2025-04-01
発明の名称
ホーナー形式の任意の係数乗算器レス有限インパルス応答フィルタ
出願人
ザ・ボーイング・カンパニー
,
The Boeing Company
代理人
園田・小林弁理士法人
主分類
H03H
17/06 20060101AFI20251105BHJP(基本電子回路)
要約
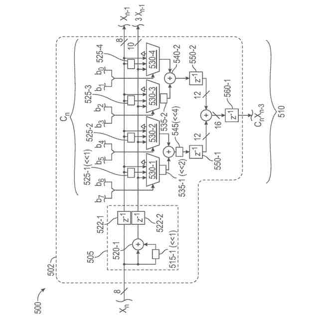
【課題】量子コンピューティングシステムや他の低電力高速用途で使用されるのに適した折り畳み型有限インパルス応答(FIR)フィルタを提供する。
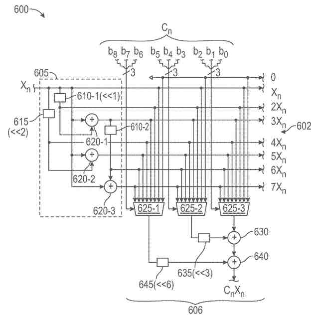
【解決手段】冷蔵された環境を維持する冷蔵システムにおいて、フィルタ回路は、交互パターンにおける単位遅延522-2と加算器520-1との直列接続された配置を含み、複数の係数乗算器の多重化段階510に、入力データベクトルX
n
の複数の整数部分積X
n-1
、3X
n-1
を提供する部分積段階505を有する複数の係数乗算器回路502を備える。係数乗算器回路は、それぞれの入力係数ベクトルC
n
の1以上のビットを使用してアドレス指定される1以上のマルチプレクサ530-1~530-4を含み、加算器540の1以上に接続されたそれぞれの出力である積C
n
X
n-3
を出力する。
【選択図】図5
特許請求の範囲
【請求項1】
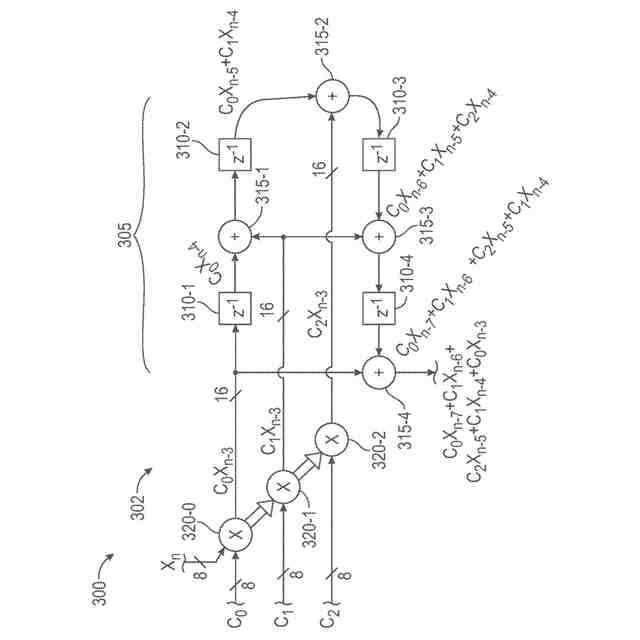
フィルタ回路(302、402)であって、
交互パターンにおける単位遅延(310‐1、…、310‐4)と加算器(315‐1、…、315‐4)との直列接続された配置(305、405)、及び
複数の係数乗算器(320‐0、320‐1、320‐2、502、602)であって、各係数乗算器は、前記加算器の1以上に接続されたそれぞれの出力を有し、各係数乗算器は、それぞれの入力係数ベクトル(C
0
、C
1
、C
2
)の1以上のビットを使用してアドレス指定される1以上のマルチプレクサ(530‐1、…、530‐4、625‐1、…、625‐3)を含む多重化段階(510、606)を含む、複数の係数乗算器を含み、
前記複数の係数乗算器の第1の係数乗算器(320‐0)は、前記複数の係数乗算器の前記多重化段階に入力データベクトル(x
n
)の複数の整数部分積(0、x
n
、…、15x
n
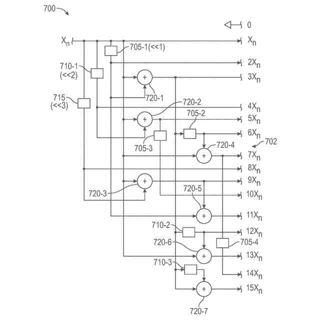
)を提供するように構成された部分積段階(505、605、702)を含む、フィルタ回路。
続きを表示(約 1,700 文字)
【請求項2】
前記1以上のマルチプレクサは、第1のマルチプレクサ(530‐1、530‐3、625‐1、625‐2)と第2のマルチプレクサ(530‐2、530‐4、625‐3)を含み、前記多重化段階は、
前記第1のマルチプレクサの出力に接続された左シフタ(535‐1、535‐2、635、645)であって、前記第1のマルチプレクサをアドレス指定する前記1以上のビットは、前記第2のマルチプレクサをアドレス指定する前記1以上のビットよりも有意である、左シフタ、及び
前記第2のマルチプレクサの出力に接続された加算器(540‐1、540‐2、630、640)であって、前記左シフタの出力に接続された加算器を更に含む、請求項1に記載のフィルタ回路。
【請求項3】
前記多重化段階は、前記加算器の出力に接続された単位遅延(550‐1、550‐2)を更に含む、請求項2に記載のフィルタ回路。
【請求項4】
前記部分積段階は、
1以上の左シフタ(515‐1、610‐1、610‐2、615)、及び
前記入力データベクトルと前記1以上の左シフタのうちの1つの出力とを受信するように構成された1以上の加算器(520‐1、620‐1、620‐2、620‐3)を含む、請求項1に記載のフィルタ回路。
【請求項5】
前記複数の係数乗算器に提供される前記入力係数ベクトルは、対称的である、請求項1に記載のフィルタ回路。
【請求項6】
前記第1の係数乗算器の前記1以上のマルチプレクサは、それぞれのN個の選択ラインを有し、前記部分積段階は、0から2
N
-1までの整数部分積を提供するように構成されている、請求項1に記載のフィルタ回路。
【請求項7】
フィルタ用の係数乗算器回路(320‐0、320‐1、320‐2、502、602)であって、
入力データベクトル(x
n
)の複数の整数部分積(0、x
n
、…、15x
n
)を提供するように構成された部分積段階(505、605、702)、並びに
多重化段階(510、606)を含み、前記多重化段階は、
前記入力データベクトルの前記複数の整数部分積を受信するように構成された1以上のマルチプレクサ(530‐1、…、530‐4、625‐1、…、625‐3)であって、入力係数ベクトル(C
0
、C
1
、C
2
)の1以上のビットを使用してアドレス指定される1以上のマルチプレクサ、及び
前記1以上のマルチプレクサに接続され、前記フィルタの1以上の加算器(315‐1、…、315‐4)に接続された出力を含む、係数乗算器回路。
【請求項8】
前記フィルタは、有限インパルス応答(FIR)フィルタ、無限インパルス応答(IIR)フィルタ、及び自己回帰移動平均(ARMA)フィルタのうちの1つである、請求項7に記載の係数乗算器回路。
【請求項9】
前記1以上のマルチプレクサは、第1のマルチプレクサ(530‐1、530‐3、625‐1、625‐2)と第2のマルチプレクサ(530‐2、530‐4、625‐3)を含み、前記多重化段階は、
前記第1のマルチプレクサの出力に接続された左シフタ(535‐1、535‐2、635、645)であって、前記第1のマルチプレクサをアドレス指定する前記1以上のビットは、前記第2のマルチプレクサをアドレス指定する前記1以上のビットよりも有意な前記入力係数ベクトルのビットである、左シフタ、及び
前記第2のマルチプレクサの出力に接続された加算器(540‐1、540‐2、630、640)であって、前記左シフタの出力に接続された加算器を更に含む、請求項7に記載の係数乗算器回路。
【請求項10】
前記多重化段階は、
前記加算器の出力に接続された単位遅延(550‐1、550‐2)を更に含む、請求項9に記載の係数乗算器回路。
(【請求項11】以降は省略されています)
発明の詳細な説明
【技術分野】
【0001】
[0001] 本開示の態様は、量子コンピューティングシステムや他の低電力高速用途で使用されるのに適した折り畳み型有限インパルス応答(FIR)フィルタの実施態様に関する。
続きを表示(約 1,700 文字)
【背景技術】
【0002】
[0002] 量子コンピューティングシステムは、磁場変動、電磁干渉、及び熱ノイズのなどの環境の影響を非常に受け易い。結果として、量子コンピューティングシステムの量子ビットを形成するハードウェアは、典型的には、絶対零度(0K)に近い温度でシールドされた環境において操作される。エラー修正と信頼できる動作を提供するために、量子コンピューティングシステムは、コヒーレントかつ同時に動作する数百又は数千の量子ビットを含み得る。
【0003】
[0003] 外部試験装備から量子コンピューティングシステムへの長い配線を回避するために、駆動電子機器が、例えば、希釈冷凍機によって提供される冷蔵環境内に設置され、その環境において操作され得る。駆動電子機器は、量子ビットを駆動する波形合成器を含み得る。その場合、各波形合成器は、量子ビットの位相と同期した適切な量子ビット制御位相を維持するために、高速で連続的に動作するクロックを含む。しかし、希釈冷凍機は、低い動作温度を維持しながら、駆動電子機器によって生成される熱を除去するには限られた能力しかない。
【発明の概要】
【0004】
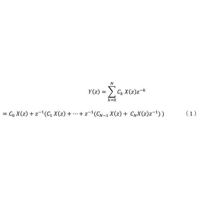
[0004] 本開示は、一態様においてフィルタ回路を提供する。該フィルタ回路は、交互パターンにおける単位遅延と加算器との直列接続された配置、及び、複数の係数乗算器であって、各係数乗算器は、加算器の1以上に接続されたそれぞれの出力を有し、各係数乗算器は、それぞれの入力係数ベクトルの1以上のビットを使用してアドレス指定される1以上のマルチプレクサを含む多重化段階を含む、複数の係数乗算器を含む。複数の係数乗算器の第1の係数乗算器は、複数の係数乗算器の多重化段階に入力データベクトルの複数の整数部分積を提供するように構成された部分積段階を含む。
【0005】
[0005] 一態様では、上記又は下記の任意の例示的なフィルタ回路と組み合わせて、1以上のマルチプレクサが、第1のマルチプレクサと第2のマルチプレクサを含む。多重化段階は、第1のマルチプレクサの出力に接続された左シフタを更に含む。その場合、第1のマルチプレクサをアドレス指定する1以上のビットは、第2のマルチプレクサをアドレス指定する1以上のビットよりも有意である。多重化段階は、更に、第2のマルチプレクサの出力に接続された加算器であって、左シフタの出力に接続された加算器を含む。
【0006】
[0006] 一態様では、上記又は下記の任意の例示的なフィルタ回路と組み合わせて、多重化段階が、加算器の出力に接続された単位遅延を更に含む。
【0007】
[0007] 一態様では、上記又は下記の任意の例示的なフィルタ回路と組み合わせて、部分積段階が、1以上の左シフタ、及び、入力データベクトルと1以上の左シフタのうちの1つの出力とを受信するように構成された1以上の加算器を含む。
【0008】
[0008] 一態様では、上記又は下記の任意の例示的なフィルタ回路と組み合わせて、複数の係数乗算器に提供される入力係数ベクトルが、対称的である。
【0009】
[0009] 一態様では、上記又は下記の任意の例示的なフィルタ回路と組み合わせて、第1の係数乗算器の1以上のマルチプレクサは、それぞれのN個の選択ラインを有し、部分積段階は、0から2
N
-1までの整数部分積を提供するように構成される。
【0010】
[0010] 本開示は、一態様においてフィルタ用の係数乗算器回路を提供する。該係数乗算器回路は、入力データベクトルの複数の整数部分積を提供するように構成された部分積段階を含む。係数乗算器回路は、多重化段階を更に含む。該多重化段階は、入力データベクトルの複数の整数部分積を受信するように構成された1以上のマルチプレクサであって、入力係数ベクトルの1以上のビットを使用してアドレス指定される1以上のマルチプレクサ、及び、1以上のマルチプレクサに接続され、フィルタの1以上の加算器に接続された出力を含む。
(【0011】以降は省略されています)
この特許をJ-PlatPat(特許庁公式サイト)で参照する
関連特許
ザ・ボーイング・カンパニー
導管上にシールを形成するためのアセンブリ
4日前
エイブリック株式会社
増幅器
1か月前
エイブリック株式会社
増幅器
1か月前
エイブリック株式会社
増幅回路
1か月前
日本電波工業株式会社
圧電振動片
1か月前
日本電波工業株式会社
水晶振動子
17日前
エイブリック株式会社
電圧検出器
3か月前
株式会社トーキン
ノイズフィルタ
2か月前
ローム株式会社
オペアンプ
3か月前
株式会社半導体エネルギー研究所
駆動回路
1か月前
個人
誤り訂正装置及び誤り訂正方法
3か月前
株式会社大真空
恒温槽型圧電発振器
3か月前
京セラ株式会社
差動信号フィルタデバイス
4日前
台灣晶技股ふん有限公司
水晶発振器
25日前
京セラ株式会社
差動信号フィルタデバイス
4日前
株式会社村田製作所
増幅回路
3か月前
TDK株式会社
電子部品
1か月前
TDK株式会社
電子部品
1か月前
株式会社村田製作所
高周波回路
2か月前
ローム株式会社
半導体集積回路
3か月前
ローム株式会社
オペアンプ回路
3か月前
ローム株式会社
オペアンプ回路
3か月前
ローム株式会社
オペアンプ回路
3か月前
台灣晶技股ふん有限公司
水晶発振素子
25日前
ローム株式会社
自己診断システム
1か月前
三菱電機株式会社
高周波増幅器モジュール
28日前
国立大学法人東北大学
弾性表面波デバイス
17日前
住友電気工業株式会社
高周波増幅器
2か月前
株式会社村田製作所
弾性波フィルタ
2か月前
ローム株式会社
A/Dコンバータ回路
3か月前
ローム株式会社
駆動回路
3か月前
日清紡マイクロデバイス株式会社
演算増幅器
1か月前
ローム株式会社
遅延回路
3か月前
ローム株式会社
駆動回路
3か月前
エイブリック株式会社
出力制御回路及び電圧出力回路
1か月前
ニチコン株式会社
信号出力装置
2か月前
続きを見る
他の特許を見る