TOP
|
特許
|
意匠
|
商標
特許ウォッチ
Twitter
他の特許を見る
10個以上の画像は省略されています。
公開番号
2025169180
公報種別
公開特許公報(A)
公開日
2025-11-12
出願番号
2025065465
出願日
2025-04-11
発明の名称
航空機乱気流通知システム及び方法
出願人
ザ・ボーイング・カンパニー
,
The Boeing Company
代理人
園田・小林弁理士法人
主分類
G08G
5/76 20250101AFI20251105BHJP(信号)
要約
【課題】飛行中に複数の報告する航空機によって生成された気流報告を取得することを含む、乱気流通知システム及び方法を提供する。
【解決手段】気流報告内の報告された乱気流レベルと、報告する航空機のサイズ又は報告する航空機の重量のうちの少なくとも一方とに基づいて、正規化された乱気流の値を生成する。正規化された乱気流の値と、第1の航空機の識別特性とに基づいて、第1の航空機に固有の有効な乱気流レベルを決定する。有効な乱気流レベルは、第1の航空機への大気気流の影響を予測する。第1の航空機のスケジューリングされたルートと、決定された有効な乱気流レベルを表すグラフィック指標とをプロットした、マップを生成する。グラフィック指標は、気流報告の地理的位置に対応するマップの垂直軸と水平軸に沿った位置にプロットされる。
【選択図】図3
特許請求の範囲
【請求項1】
1以上のプロセッサ(104)を備えるコントローラ(102)で、報告する航空機が飛行している間に複数の前記報告する航空機によって生成された気流報告(200)を取得することであって、前記気流報告(200)の各々は、前記気流報告(200)を生成したそれぞれの前記報告する航空機の地理的位置、それぞれの前記報告する航空機が経験した報告された乱気流レベルであって、大気気流に起因する乱気流レベル、及びそれぞれの前記報告する航空機の識別特性を含む、気流報告(200)を取得すること、
前記気流報告(200)内の前記報告された乱気流レベルと、前記報告する航空機のサイズ又は前記報告する航空機の重量のうちの少なくとも一方とに基づいて、正規化された乱気流の値(704)を生成すること、
前記正規化された乱気流の値(704)と第1の航空機の第1の識別特性と基づいて、前記第1の航空機に固有の有効な乱気流レベル(710)を決定することであって、前記有効な乱気流レベル(710)は、前記気流報告(200)の前記地理的位置において、前記大気気流が前記第1の航空機に与える影響を予測する、有効な乱気流レベル(710)を決定すること、並びに
前記コントローラ(102)を介して、前記第1の航空機のスケジューリングされたルート(302)と、決定された前記有効な乱気流レベル(710)を表すグラフィック指標(212、304、406)とをプロットした、マップ(714)を生成することであって、前記マップ(714)は、前記気流報告(200)の前記地理的位置に対応する前記マップ(714)の垂直軸(206)と水平軸(208)に沿った位置において、前記グラフィック指標(212、304、406)をプロットするように生成される、マップ(714)を生成することを含む、方法(600、800)。
続きを表示(約 1,500 文字)
【請求項2】
前記気流報告(200)の各々は、それぞれの前記報告する航空機の速度を含み、前記正規化された乱気流の値(704)を生成することは、前記報告する航空機の前記速度に基づいて、前記正規化された乱気流の値(704)を生成することを含む、請求項1に記載の方法(600、800)。
【請求項3】
前記正規化された乱気流の値(704)を生成することは、(i)前記報告する航空機の前記速度、前記サイズ、又は前記重量のうちの少なくとも1つを、(ii)少なくとも1つのベースライン値と比較することを含む、請求項2に記載の方法(600、800)。
【請求項4】
前記正規化された乱気流の値(704)の各々は、前記気流報告(200)の各々からの、前記報告された乱気流レベルと、それぞれの前記報告する航空機の前記サイズ、前記重量、又は前記識別特性のうちの少なくとも1つとを、前記正規化された乱気流の値(704)を出力するように構成された正規化アルゴリズム(702)の中へ入力することによって生成される、請求項1に記載の方法(600、800)。
【請求項5】
前記正規化された乱気流の値(704)を生成することは、前記正規化された乱気流の値(704)の全てが標準範囲内にあるように、前記正規化された乱気流の値(704)を生成することを含む、請求項1に記載の方法(600、800)。
【請求項6】
前記正規化された乱気流の値(704)を生成することは、前記報告する航空機の第1の報告する航空機の前記サイズ又は前記重量のうちの少なくとも一方が、少なくとも1つのベースライン値よりも上方にあることに応じて、前記第1の報告する航空機による第1の報告された乱気流レベルの重大度をスケールアップすることを含む、請求項1に記載の方法(600、800)。
【請求項7】
前記正規化された乱気流の値(704)を生成することは、前記報告する航空機の第2の報告する航空機の前記サイズ又は前記重量のうちの少なくとも一方が、前記少なくとも1つのベースライン値よりも下方にあることに応じて、前記第2の報告する航空機による第2の報告された乱気流レベルの重大度をスケールダウンすることを含む、請求項6に記載の方法(600、800)。
【請求項8】
前記気流報告(200)の各々は、それぞれの前記報告する航空機の高度を含み、前記マップ(714)は、前記スケジューリングされたルート(302)に沿った前記第1の航空機の少なくとも1つの飛行経路(210、402、404)を示すプロファイルマップ(202、400、714)であり、前記垂直軸(206)は前記高度を表し、前記マップ(714)を生成することは、前記気流報告(200)内の前記高度に対応する前記垂直軸(206)に沿った位置において、前記グラフィック指標(212、304、406)を配置することを含む、請求項1に記載の方法(600、800)。
【請求項9】
前記第1の航空機に関連付けられたオペレータによる観察のために、生成された前記マップ(714)をディスプレイデバイス(108)に表示することを更に含む、請求項1に記載の方法(600、800)。
【請求項10】
それぞれの前記報告する航空機の前記識別特性は、前記報告する航空機の固有の識別子、前記報告する航空機の型式、前記報告する航空機の前記重量、又は前記報告する航空機の前記サイズのうちの少なくとも1つを含む、請求項1に記載の方法(600、800)。
(【請求項11】以降は省略されています)
発明の詳細な説明
【技術分野】
【0001】
[0001] 本開示の実施例は、広くは、航空機及び大気中で航空機が遭遇する気流の状態(乱気流を含む)に関する。
続きを表示(約 4,100 文字)
【背景技術】
【0002】
[0002] 乱気流は、民間航空機の乗客の快適性に大きな影響を及ぼし、乱気流に関連する恐怖のために、飛行機に乗ることを見合わせる乗客さえいる。乱気流は、渦や垂直流によって生じる空気の不規則な運動である。不規則な気流は、わずかに異なる温度、圧力、及び密度を有する空気の塊が、大気中を様々な速度と方向で移動することによって引き起こされ得る。気団の変動は、大気圧、ジェット気流、山々の周辺の空気、寒冷又は温暖前線、雷雨などに起因し得る。
【0003】
[0003] 航空機が乱気流を回避することが望ましいだろうが、利用可能な技術を使用して、飛行の今後の区間に沿った晴天乱気流(たとえば、雷雨を伴う乱気流とは対照的に晴天状態での乱気流)を予測することは非常に困難である。例えば、レーダー技術は、晴天乱気流を引き起こす気流の動きのわずかな違いを検出することができない場合がある。乱気流は、ほとんど或いは全く前触れもなく発生する可能性があるため、航空会社は、典型的には、快適さを保つ一時的な休憩を除いて、全体的な飛行中に民間航空機の乗客全員にシートベルトを締めて着席したままであるように勧めている。
【0004】
[0004] 晴天乱気流の位置を特定する労力において、航空業界は、航空機のパイロットが互いにコミュニケートして、航空機が乱気流に遭遇した場所を共有するシステムを構築した。検出された乱気流の場所を共有することによって、他の航空機は、乱気流の場所を避けるか及び/又は乱気流に備えるかのいずれかのために、予防措置をとることができる。既存のシステムは、パイロットが、ルート上で晴天乱気流に遭遇したことの報告(例えば、PIREP:パイロットレポート)を無線で伝えることを含む。PIREPの欠点は、PIREPが主観的で信頼性に欠け、定性的であることである。更に、PIREPは、乱気流に遭遇した場所を知らせるのみなので、価値が低い。既知のPIREPは、気流が滑らかな(例えば、不規則なさざなみ)エリアを報告するために、パイロットが作成するものではない。最後に、既知のPIREPは、乱気流に遭遇した高度を報告しない。
【0005】
[0005] 更に、特定の航空機が乱気流を経験するときの重大度は、航空機の物理的特性と飛行中の航空機の運動特性に依存する。物理的特性は、航空機の重量、サイズ、及び主翼面積を含む。概して、より大きくより重い航空機は、より小さくより軽い航空機よりも、環境内で乱気流による影響を受けにくいだろう。運動特性は、飛行中の航空機の速度を含む。概して、より速い速度で移動する航空機は、より遅い航空機よりも、環境内で乱気流の影響を受けにくいだろう。例えば、第1の航空機は、中程度として分類される乱気流を経験し得る。第2の航空機が、第1の航空機よりも大きく及び/又は第1の航空機よりも速い速度で、同じ乱気流を通過する場合、第2の航空機は、影響を受けにくく、その乱気流を軽いと分類し得る。したがって、乱気流の既知の報告は、報告する航空機の物理的特性と、報告する航空機の運動特性とに依存する。特に、乱気流情報を報告する航空機とその乱気流情報を受信して分析する航空機との間にかなりの物理的な差及び/又は速度の差が存在する場合、報告された乱気流情報は、不正確であり得及び/又は他の航空機に誤解を招く可能性がある。
【発明の概要】
【0006】
[0006] 飛行中に航空機が経験する乱気流などの報告された気流の状態をオペレータに自動的に通知するためのシステム及び方法が必要とされている。報告される気流の状態は、乱気流と滑らかな気流との両方の場所を含み、オペレータの状況認識を高めるために、報告される気流の状態の高度を示す必要がある。報告内でレポートされる乱気流レベルは、航空機から独立する(例えば、航空機にとらわれない)ことが必要である。これにより、飛行中の特定の航空機への乱気流の影響を予測する信頼性が高まり得る。
【0007】
[0007] これらの必要性を念頭に、本開示の特定の複数の実施例は、飛行中の第1の航空機が遭遇する予測される乱気流を推定する方法を提供する。該方法は、1以上のプロセッサを備えるコントローラで、報告する航空機が飛行している間に複数の報告する航空機によって生成された気流報告を取得することを含む。気流報告の各々は、気流報告を生成したそれぞれの報告する航空機の地理的位置、それぞれの報告する航空機が経験した報告された乱気流レベルであって、大気気流に起因する乱気流レベル、及びそれぞれの報告する航空機の識別特性を含む。該方法は、気流報告内の報告された乱気流レベルと、報告する航空機のサイズ又は報告する航空機の重量のうちの少なくとも一方とに基づいて、正規化された乱気流の値を生成することを含む。該方法は、正規化された乱気流の値と第1の航空機の第1の識別特性とに基づいて、第1の航空機に固有の有効な乱気流レベルを決定することを含む。有効な乱気流レベルは、気流報告の地理的位置において、大気気流が第1の航空機に与える影響を予測する。該方法は、コントローラを介して、第1の航空機のスケジューリングされたルートと、決定された有効な乱気流レベルを表すグラフィック指標とをプロットした、マップを生成することを含む。該マップは、気流報告の地理的位置に対応するマップの垂直軸と水平軸に沿った位置において、グラフィック指標をプロットするように生成される。
【0008】
[0008] 本開示の特定の複数の実施例は、1以上のプロセッサを有するコントローラを含む乱気流通知システムを提供する。該コントローラは、報告する航空機が飛行している間に複数の報告する航空機によって生成された気流報告を取得するように構成されている。気流報告の各々は、気流報告を生成したそれぞれの報告する航空機の地理的位置、それぞれの報告する航空機が経験した報告された乱気流レベルであって、大気気流に起因する乱気流レベル、及びそれぞれの報告する航空機の識別特性を含む。該コントローラは、気流報告内の報告された乱気流レベルと、報告する航空機のサイズ又は報告する航空機の重量のうちの少なくとも一方とに基づいて、正規化された乱気流の値を生成するように構成されている。該コントローラは、正規化された乱気流の値と第1の航空機の第1の識別特性とに基づいて、第1の航空機に固有の有効な乱気流レベルを決定するように構成されている。有効な乱気流レベルは、気流報告の地理的位置において、大気気流が第1の航空機に与える影響を予測する。該コントローラは、第1の航空機のスケジューリングされたルートと、決定された有効な乱気流レベルを表すグラフィック指標とをプロットした、マップを生成するように構成されている。該コントローラは、気流報告の地理的位置に対応するマップの垂直軸と水平軸に沿った位置において、グラフィック指標をプロットするように構成されている。
【図面の簡単な説明】
【0009】
[0009] 本明細書の複数の実施形態に従って形成された乱気流通知システムを示すブロック図である。
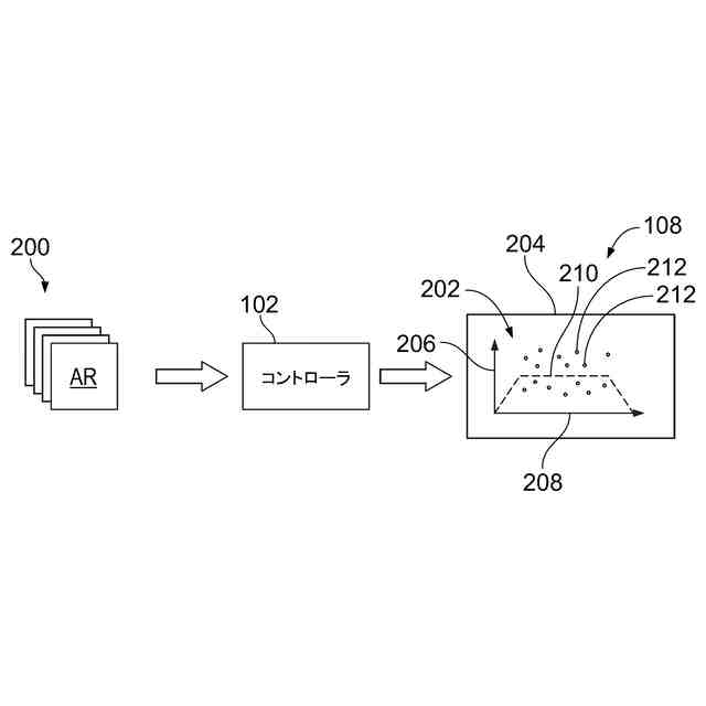
[0010] 一実施形態による、気流報告を受信し、気流報告に基づいてプロファイルマップを生成する、乱気流通知システムのコントローラを示す。
[0011] 第1の航空機のスケジューリングされたルートと、受信した気流報告内の気流の状態を表すグラフィック指標とをプロットした、トップダウン地理的マップである。
[0012] 一実施形態による、図3で示されているスケジューリングされたルートに沿った第1の航空機の第1の飛行経路と第2の飛行経路をプロットしたプロファイルマップである。
[0013] 乱気流通知システムの一実施形態による、テキストボックスを含むグラフィカルユーザインターフェースの一部分を示す。
[0014] 本開示の一実施例による、スケジューリングされた飛行に対する乱気流を予測し、やり繰りするための方法のフローチャートである。
[0015] 一実施形態による、気流報告を受信し、その気流報告に基づいて正規化された乱気流の値を生成する、乱気流通知システムの正規化アルゴリズムを示す。
[0016] 一実施形態による、正規化された乱気流の値を受信し、その正規化された乱気流の値に基づいて有効な乱気流レベルを決定する、乱気流通知システムのコントローラを示す。
[0017] 一実施形態による、有効な乱気流レベルを受信し、その有効な乱気流レベルとトリップ情報に基づいて1以上のマップを生成する、乱気流通知システムのコントローラを示す。
[0018] 本開示の一実施例による、他の航空機からの気流報告に基づいて、飛行中に第1の航空機が遭遇すると予測される乱気流を推定するための方法のフローチャートである。
【発明を実施するための形態】
【0010】
[0019] 上記の概要、ならびに特定の実施例の以下の詳細な説明は、添付の図面と併せて読むことによってより良く理解されるだろう。本明細書で使用されるときに、「一(a)」又は「1つの(an)」に続く単数形の要素又はステップは、複数の当該要素又はステップを必ずしも除外しないと理解されたい。なお、「一実施例」に言及する際には、本明細書に記載の特徴が組み込まれた追加の実施例の存在が除外されるという解釈は意図していない。更に、特定の条件を有する1以上の要素を「含む、備える(comprising)」又は「有する(having)」実施例は、(そうではないと明示的に述べられていない限り)かかる条件を有しない追加の要素を含み得る。
(【0011】以降は省略されています)
この特許をJ-PlatPat(特許庁公式サイト)で参照する
関連特許
ザ・ボーイング・カンパニー
複合チャージのパンチ形成
13日前
ザ・ボーイング・カンパニー
航空機乱気流通知システム及び方法
12日前
ザ・ボーイング・カンパニー
導管上にシールを形成するためのアセンブリ
4日前
ザ・ボーイング・カンパニー
ハイブリッドコンピューティングリソース最適化モデル
4日前
ザ・ボーイング・カンパニー
ワイヤ組立システム、及び電気レースウェイモジュール組立方法
6日前
ザ・ボーイング・カンパニー
高耐久性多接合太陽電池を形成するためのデバイス及びプロセス
12日前
ザ・ボーイング・カンパニー
ホーナー形式の任意の係数乗算器レス有限インパルス応答フィルタ
12日前
ザ・ボーイング・カンパニー
金属マトリックス複合材基材を後処理のために調製するシステム及び方法
12日前
ザ・ボーイング・カンパニー
閉じた端部形状を有する一体型複合材構造のトウレイアップ設計を解析するための方法
19日前
ザ・ボーイング・カンパニー
保守作業中のビークル構成要素に関する不適合の解決策を予測するためのシステム及び方法
6日前
日本精機株式会社
警報システム
2か月前
個人
安全支援装置
19日前
株式会社SUBARU
車両
1か月前
個人
自動電動車椅子
2か月前
スズキ株式会社
運転支援装置
2か月前
エムケー精工株式会社
車両誘導装置
3か月前
日本無線株式会社
船舶システム
20日前
ニッタン株式会社
検知器
1か月前
ニッタン株式会社
検知器
2か月前
ニッタン株式会社
検知器
2か月前
ニッタン株式会社
検知器
2か月前
個人
磁気路上での車両の路線離脱防御
1か月前
株式会社国際電気
防災システム
2か月前
株式会社小糸製作所
移動体検出装置
2か月前
トヨタ自動車株式会社
サーバ
28日前
大阪瓦斯株式会社
音声出力システム
1か月前
ダイハツ工業株式会社
移動支援装置
1か月前
日本信号株式会社
異常走行検出装置
2か月前
株式会社SUBARU
運転支援装置
1か月前
トヨタ自動車株式会社
サーバ
2か月前
株式会社CCT
通信装置及び表示方法
1か月前
日本精機株式会社
報知装置及び報知システム
2か月前
三菱自動車工業株式会社
制御システム
1か月前
株式会社小糸製作所
車両検出システム
2か月前
株式会社デンソー
運航管理装置
1か月前
株式会社SUBARU
事故情報収集装置
1か月前
続きを見る
他の特許を見る